搜索
首页
大数快讯
大数活动
服务超市
文章专题
出海平台
流量密码
出海蓝图
产业赛道
物流仓储
跨境支付
选品策略
实操手册
报告
跨企查
百科
导航
知识体系
工具箱
更多
找货源
跨境招聘
DeepSeek
首页
>
iPhone史上首款折叠屏「详测」:双向折叠?就是这样了…
>
0
0
iPhone史上首款折叠屏「详测」:双向折叠?就是这样了…
极果网
2024-08-12
0
导读:iPhone折叠屏超前「详测」!
前
几天,
有网友
晒出余承东在机舱里操作
一台三折叠屏新机
的照片,瞬间在网上炸开了锅,
这可是
全球首款三折叠屏手机
,没想到这么快就要来了
?
!
如果真如爆料所言10月就能发布的话,那华为在折叠屏市场可谓是一骑绝尘的存在了。
而反观华为的老对手苹果,从2018年以来一直在悄悄研发可折叠iPhone,并且已经生产了至少两款原型机,期间传得有模有样的,但一直没跟我们见面,导致大家对苹果折叠屏都免疫了。
或许是感受到了市场的压力,这次苹果折叠屏好像真的要来了。
据内部消息传言,目前苹果已经完成了对折叠屏iPhone的研发工作,同时今年也公布了苹果的几个折叠屏
专利
。
解决方案跟其他品牌比都挺新鲜的,今天咱们不妨通过专利来个“虚空测评”,看看苹果到底在搞什么小动作。
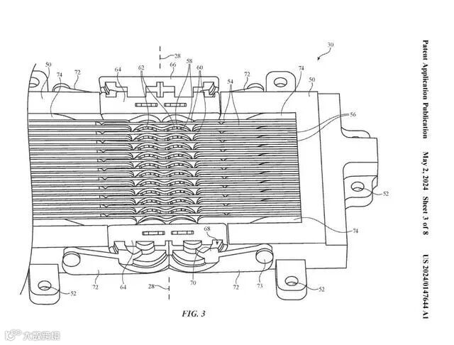
现在的折叠屏铰链,往往只能实现单一方向的折叠,而苹果公司在今年5月份的专利文件中,展示的是一个内、外双向折叠的独特铰链设计。
也就是说苹果的折叠屏,可以是Fold也可以是Flip。
从专利图中来看,它是通过多个铰链连接并耦合,来实现旋转运动,让铰链两侧的部分可以串联延伸。
另外在细节上,专利还说了铰链包含了一种齿轮机制,每个齿轮板都有开口,可以容纳并绕着特定的轴旋转。
当设备的一部分外壳绕轴旋转时,齿轮的配合作用会使得另一部分外壳同步旋转,从而实现双向折叠的功能。
这要是转化为实际产品,折叠屏市场格局可就直接变了。
不
过从专利中看,相邻铰链连杆的整体旋转量可能会受到限制,以目前手机行业的制造工艺来看,这种形态面临着过于厚重的问题,这是不小的供应链难题。
折叠屏最大的挑战就是屏幕的耐久性,而这次苹果折叠屏的屏幕也可能直接不用铰链了,转而使用可弯曲玻璃。
为了能成功做出来这种在iPhone折叠屏上用的可弯曲玻璃,苹果早在2019年专门拨款2亿美元帮助康宁研发,没错,就是那个做康宁大猩猩玻璃的康宁。
通过今年7月份一份专利来看,这个玻璃也算是抛头露脸了。
专利上说,苹果通过减少折叠、弯曲部分的厚度,将玻璃层做得更薄,同时在玻璃层中形成一个沿着弯曲轴线延伸的凹槽,使玻璃层能够更顺畅地围绕弯曲轴弯曲。
注意,这里是把“弯曲的玻璃做薄”,结合业内人士爆料来看苹果希望把机身厚度做到3.9mm,想要实现这一点,肯定还是要看供应链或者说主要看康宁多久能把它“大规模量产”。
而去年康宁已经在韩国建设首个供应链,未来的五年计划就是生产下一代超薄可弯曲玻璃。
而在2019年,
京东
方就已经量产了柔性AMOLED屏幕,可折叠可弯曲,良品率达到了70%,相信如果康宁大规模量产了可弯曲玻璃,京东方等厂商一定也会给华米OV等国内厂商安排到位。
另外专利里还提到了,为了确保显示屏覆盖层在跌落过程中表现出更优异的抗冲击性,主要是角落和边缘部分玻璃会加厚。
整体看,这项专利的主要作用是提高折叠屏的耐用性。如果苹果最终推出可弯曲玻璃的iPhone折叠屏,这将是iPhone历史上最大的硬件设计变革之一。
对于屏幕上的折痕,此前也有专利透露,苹果还研发了一种全新的折叠屏自我修复技术,通过在屏幕上覆盖一层可自愈的材料,使屏幕在拉伸之后也可恢复原来的形状,在一定程度上延长折叠屏的寿命。
而这项技术就更难实现了,供应链上恐怕无法满足苹果的这个要求。
能看出来,苹果依然有着“改变世界”的心,但受制于半导体材料,却是有心无力。
最近还有一些消息说,苹果会在2026年推出小折叠来试试水。
说到小折叠,这玩意最近是越来越火了,前有小米MIX Flip搭配“随身拍套装”的米家口袋打印机秒变拍立得。
后有三星折叠屏登上奥运的舞台,强行在颁奖典礼中插播广告,苹果是眼睁睁看着友商把小折叠卖成功的。
从大家不看好的美丽小废物,到现在不展开手机就能用各种app的实用小屏幕,这回苹果可能是真坐不住了。
苹果做小折叠,铰链、屏幕的新技术可能像我前面说的那样会有改进,但是在其他方面还能怎么卷呢?
想
来想去苹果还有一个筹码,那就是iOS开发者!
凭借闭源系统的优势,在软件适配方面,必然能高出其他厂商一筹。
想当年灵动岛一出来,都能圈粉众多用户下单iPhone 14 Pro,那小折叠要是出个“动感岛”、“真·灵动半岛”,那它的追求者应该也不会少。
不过,小折叠的外屏虽然有着便利的优势,但也是把双刃剑,对应的正是他的缺点——打开率不高,折叠屏到底是外折好还是内折好,这个问题可能只有市场才能回答我们。
目前,安卓折叠屏正在努力攻克小折叠的技术痛点,而苹果也在边缘OB,最后推出的是小折叠,还是双向折叠,亦或是可弯曲屏幕的双向折叠还都不好说。
关于苹果的可折叠 iPhone 计划,我们还有很多信息需要了解,但有一件事是肯定的:
无论苹果用哪项专利制作折叠屏手机,最终铰链、屏幕等硬件,外屏等软件适配,肯定是别具一格的。
大家都知道苹果的风格是追求完美,往往在技术成熟后交作业,或许当苹果折叠屏到来的那一刻,折叠屏的发展轨迹也会被改写。
它是否会成为手机界的下一个iPhone 4引领风潮?还是像Vision Pro那样在市场上反响平平,不温不火?
时间
会告诉我们答案。
苹果打造史上最小台式机!性能更强,价格更低
华为再炸车圈!
中国版“迈巴赫”仅39.98万...全身高科技,要干翻BBA
【声明】内容源于网络
0
0
极果网
全球酷玩试用导购平台。致力为玩家、消费者提供全球范围内最值得入手的新奇酷玩和品质尖儿货导购,及最有品质产品的第一时间线上线下免费试用服务。通过专业人士的导购推荐及试用玩家分享的真实体验,为产品的潜在购买者提供最具价值的决策参考。
内容
9512
粉丝
0
关注
在线咨询
极果网
极果网
全球酷玩试用导购平台。致力为玩家、消费者提供全球范围内最值得入手的新奇酷玩和品质尖儿货导购,及最有品质产品的第一时间线上线下免费试用服务。通过专业人士的导购推荐及试用玩家分享的真实体验,为产品的潜在购买者提供最具价值的决策参考。
总阅读
4
粉丝
0
内容
9.5k
在线咨询
关注