传统车企玩不转电车技术,竟然还想着要把油车的“落后技术”塞到电车里?
这不,福特汽车最近公布了一项 “模拟手动挡” 的专利,让电车也能拥有手动挡的驾驶感受,让用户找回久违的“驾驶快感”。
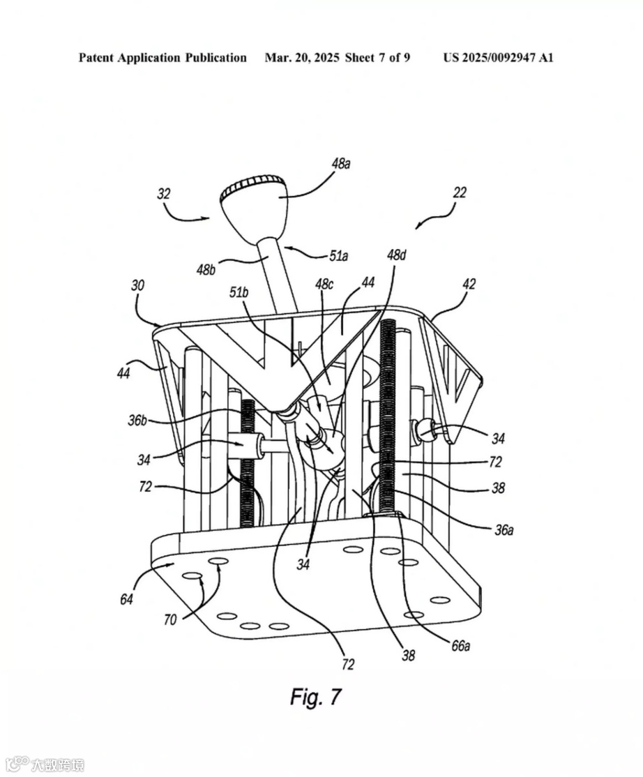
来看看福特是怎么把电车和手动挡结合在一起的。福特计划通过一套复杂而精密的机械执行器、垂直驱动杆和电机系统,在电动车上再现了传统手动挡的操作质感。
从技术原理来看,该系统支持两种经典的手动换挡模式:H 型和序列式。驾驶者在操作时,只需像驾驶传统手动挡汽车一样前后拨动物理挡杆,就能触发系统内置的微型电机,产生精确的振动反馈,这种反馈模拟了传统变速箱换挡时的机械阻尼感,让驾驶者仿佛置身于驾驶燃油车的情境中。
在换挡过程中,系统还会智能模拟传统变速箱的特性。例如,在升挡时,它会短暂中断动力输出,模仿换挡间隙的顿挫感;降挡时,则借助动力回收技术,增强发动机制动的感觉,使整个驾驶过程更具沉浸感。专利文件中特别提到,振动模块可以根据不同车型的特点,模拟出 V8 引擎的低频震颤,或是涡轮增压车型的扭矩波动,为驾驶者带来更为个性化的驾驶感受。
尽管福特目前尚未透露该专利的具体量产计划,但从专利描述和市场需求分析来看,这项技术最有可能率先应用于电动化的性能车型。
事实上,福特并非第一家这么做的车企。现代 IONIQ 5 N 配备的 E - shift 拨片,以及丰田正在研发的 6 速模拟手动挡早就推出了类似的技术和车型。
丰田的模拟手动挡技术,采用了 6 速模拟手动挡搭配离合器踏板的设计,旨在完全复刻燃油车的操作逻辑。驾驶员在操作时,不仅要通过换挡杆进行挡位切换,还需配合离合器踏板的操作,这种设计最大限度地保留了燃油车手动挡的驾驶习惯,甚至支持熄火模拟,让驾驶者在电动车上也能体验到传统手动挡驾驶的所有细节。
本田则剑走偏锋,推出了 14 挡合成手动变速器,该系统不仅挡位数量远超传统手动挡,还配备了离合器踏板,追求为驾驶者提供 S2000 级别的换挡手感。通过软件控制电动动力总成,本田的模拟手动挡系统能够实现类似手动挡车型的换挡体验,尤其是在模拟换挡冲击感方面表现出色,为驾驶者带来了更为丰富的驾驶乐趣。
现代 IONIQ 5 N 配备的拨片,则采用了一种更为简洁的虚拟换挡方案。通过控制电机的扭矩输出,IONIQ 5 N 能够模拟现代祖传的八速双离合自动变速箱的换挡感受,同时配合 N Active Sound + 系统,提供三种不同的声浪,包括重现现代 N 系列 2.0 升涡轮增压发动机的声音,从战斗机中汲取灵感的声浪等,从听觉和触觉两个维度为驾驶者营造出逼真的驾驶体验。
福特方案的独特性在于其物理换挡杆与力反馈振动模块的结合,以及对驾驶体验细节的极致追求。相比现代 IONIQ 5 N 的拨片式虚拟换挡,福特的物理挡杆提供了更真实的操作反馈;而相较于丰田、本田对离合器踏板的保留,福特通过振动模块简化了操作复杂度,同时保留了换挡的仪式感。例如,专利中提到的 “熄火模拟” 功能,通过突然的阻力反馈还原松离合时的顿挫,这是其他车企尚未实现的细节突破。
现在传统车企已经跟不上电车时代,或许以这种小众的需求切入也是破圈的手段。
据调研,全球约 35% 的燃油车用户表示难以割舍手动挡的操控体验,而这一群体对电动车的接受度显著低于自动挡用户。全球范围内高达 65% 的电动车用户认为 “驾驶乐趣缺失” 是电动车的最大痛点。福特的工程师也直言,研发这套模拟手动挡系统的初衷,就是为了通过物理交互的方式,吸引那些对机械结构有情怀的用户,让他们在电动车上也能找回熟悉的驾驶乐趣。
例如,现代 IONIQ 5 N 的 E - shift 系统上市后,其 “虚拟换挡” 功能在社交媒体上的讨论热度提升了 40%,证明了市场对这类技术的潜在需求。这些数据和案例表明,尽管电动化是汽车行业的未来趋势,但在追求高效、环保的同时,消费者对驾驶乐趣的追求从未停止,模拟手动挡技术正是满足这一需求的关键。
当然手动挡电车也有不小的问题需要解决。比如,模拟手动挡系统在模拟换挡过程中,需要短暂中断动力输出,这可能会影响电动车的能效表现。此外,为了实现逼真的换挡体验,模拟手动挡系统需要配备复杂的机械结构和电子控制系统,这无疑会增加车辆的制造成本,进而影响其市场价格和竞争力。
此外,随着年轻一代消费者逐渐成为汽车市场的主力军,他们对汽车的需求和偏好与老一辈消费者存在较大差异。年轻消费者更注重科技感、智能化和舒适性,对传统手动挡的情怀相对较弱,这可能会影响模拟手动挡技术的市场接受度和推广前景。
尽管面临挑战,但车企对 “驾驶乐趣” 的探索不会止步。丰田的 14 挡自由设定、本田的 S2000 换挡手感追求,均显示行业对技术迭代的野心。正如福特专利文件所言:“在零延迟的电机驱动时代,电动车需要重新定义人与车的物理互动。” 模拟手动挡或只是开端,未来或有更多 “数字燃油车” 技术涌现,在电动化与情怀之间寻找平衡。


