点击蓝字 关注我们
猫喜欢攀爬,但传统的圣诞树往往难以抵御它们的好奇心而安然无恙。猫咪圣诞树专为宠物们设计,它既能攀爬,也适合探索,使宠物们尽情享受其中的乐趣。
该产品是源自美国cat christmas tree品牌,目前发明专利还在申请中,US20250375056A1
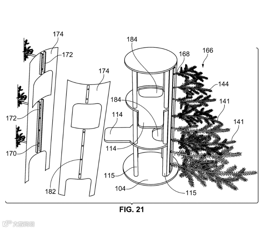
本发明公开了一种与猫塔集成的人造圣诞树。该树包括基座和包括一个或多个通道的树干。猫塔还包括设置在至少一个中空构件内的至少一个平台。每个中空构件包括至少一个开口和邻近该开口设置的至少一个平台。该平台从中空构件的内表面的至少一部分延伸并通过开口延伸超过中空构件。该树还包括从树的基座延伸并连接配置在树干上的开口的通道。该通道使猫能够使用平台在树的不同高度水平上攀爬。与猫塔集成的树提供了猫可以在其中玩耍和休息的结构,并为宠物主人提供了免受家居物品损坏的缓解。
这款产品将“圣诞树”与“猫爬架”两种产品的功能进行了结构性的整合与创新,但不仅仅是将两者简单拼凑在一起。“圣诞树”与“猫爬架”只是划定了一个基础而宽泛的边界,后续在此基础上不断增加更具体的技术细节。
例如:空心树干允许宠物在其中穿行、攀爬的连续或分段式内部通道系统,产品可以在季节性使用(圣诞树)和常年使用(猫爬架) 之间转换等。
若包含以下核心特征,便会触及最基本的侵权风险:
1.一个基座和一个设置于其上的树干;
2.树干由至少一个“空心构件”组成(不一定是完整圆管,任何有内部空间的结构件都可能被视为“空心构件”);
3.一个或多个平台,且至少有一个平台被布置在树干内部(位于空心构件的内部空间中);
4.树干内部空心构件之间形成了一条或多条“通路”,该通路必须能连接两个平台,并且能从基座通到至少一个平台;
5.树干上设有开口与通路相连,并配有仿真的装饰性树枝、树叶等组件。
简单总结便是若你的产品是一个内部具有专门设计通道、允许猫全程在内部穿梭的猫树/圣诞树结合体,那么就落入了对方保护范围。但如果你的产品只是在普通猫爬架外面挂一些装饰,或者猫只能在外部平台活动,内部是实心或仅有布线空间,则侵权的风险较低。
虚位以待ing
更多跨境广告位持续招租中

