搜索
首页
大数快讯
大数活动
服务超市
文章专题
出海平台
流量密码
出海蓝图
产业赛道
物流仓储
跨境支付
选品策略
实操手册
报告
跨企查
百科
导航
知识体系
工具箱
更多
找货源
跨境招聘
DeepSeek
首页
>
华润赛科「缬沙坦氢氯噻嗪片」通过一致性评价
>
0
0
华润赛科「缬沙坦氢氯噻嗪片」通过一致性评价
医药魔方Info
2020-09-11
2
导读:医药魔方
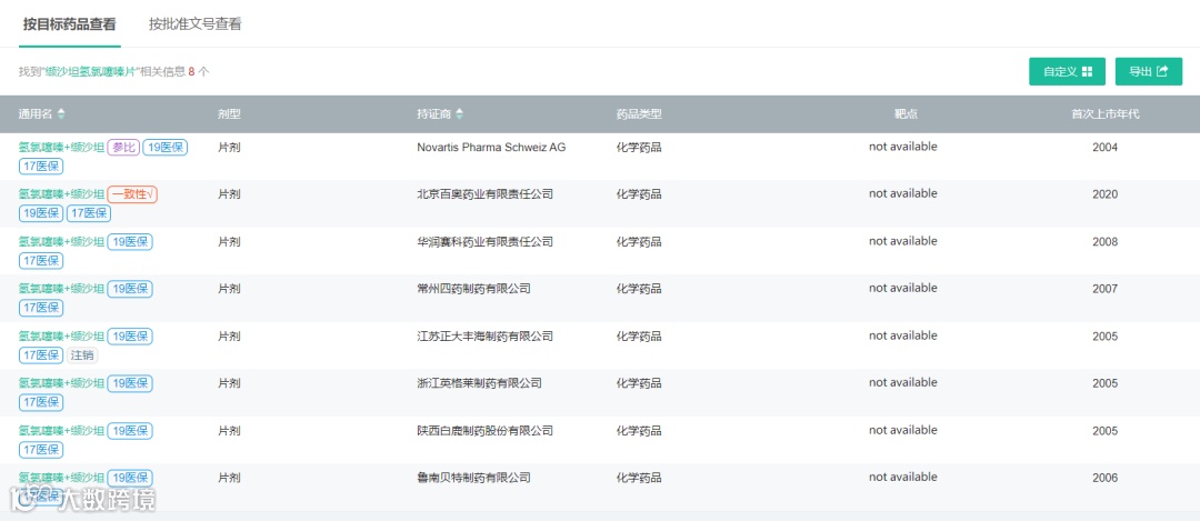
9月11日,华润赛科缬沙坦氢氯噻嗪片通过一致性评价,为百奥药业之后的第2家。
缬沙坦氢氯噻嗪片的原研药Co-Diovan(中文商品名:复代文)由诺华开发,是由血管紧张素受体拮抗剂(ARB)缬沙坦和利尿剂氢氯噻嗪组成的单片复方降压药,主要用于治疗单一药物不能充分控制血压的轻度-中度原发性高血压,最早于1998年上市。国内此前已经有8家企业上市销售缬沙坦氢氯噻嗪片,而百奥药业则是该品种首家通过一致性评价的企业。
据医药魔方IPM数据,缬沙坦氢氯噻嗪片的国内市场规模大约为4.5亿元,其中60%以上的市场份额归诺华所有。在百奥药业和华润赛科之后,国内目前只有万高药业注册分类4提交了该药上市申请,另有华海、辰欣药业等正处于BE临床阶段。
点亮“在看”,好文相伴
【声明】内容源于网络
0
0
医药魔方Info
传递医药信息,分享资源数据!医药魔方Info关注全球范围内的重要医药信息情报,包括药品注册审批、药物临床试验数据、公司交易并购动态、公司财报业绩、医药人才流动,热门政策事件等等,为用户的日常决策提供关键信息参考。让你充电5分钟,吹牛2小时!
内容
2698
粉丝
0
关注
在线咨询
医药魔方Info
传递医药信息,分享资源数据!医药魔方Info关注全球范围内的重要医药信息情报,包括药品注册审批、药物临床试验数据、公司交易并购动态、公司财报业绩、医药人才流动,热门政策事件等等,为用户的日常决策提供关键信息参考。让你充电5分钟,吹牛2小时!
总阅读
1.1k
粉丝
0
内容
2.7k
在线咨询
关注