

8月16日,安进阿普米司特片(apremilast)在华新药上市申请已获得NMPA批准,用于治疗银屑病。今年2月,该产品上市申请获CDE优先审评资格。从申报上市到获批仅用了半年时间。
阿普米司特是一款小分子磷酸二酯酶4(PDE-4)抑制剂,可通过升高细胞内环磷酸腺苷(cAMP)水平,抑制炎性介质的生成,并增加抗炎细胞因子。
阿普米司特最早于2014年3月在美国获批上市,商品名为Otezla,用于治疗成人活动性银屑病关节炎,之后又扩展适应症用于治疗中重度斑块型银屑病和贝赫切特综合征(Behcet)相关的口腔溃疡。今年2月,安进向FDA递交了阿普米司特补充新药申请 (sNDA) ,用于治疗轻中度斑块型银屑病。
2018年11月,阿普米司特以“良好的治疗效果和耐受性、口服途径给药、全新的作用靶点,且目前国内暂无此作用机制药物上市用于银屑病治疗”为由被CDE纳入《第一批临床急需境外新药》名单。
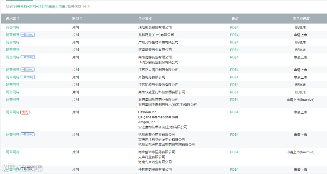
阿普米司特是国内企业仿制的重点品种,目前申报一致性评价的厂家多达6家,包括齐鲁制药、华润双鹤、正大清江等。开展BE研究的有5家。
阿普米司特由美国制药公司新基开发,2019年1月,BMS宣布740亿美元收购新基后,美国联邦贸易委员会(FTC)要求其剥离新基Otezla。理由是Otezla的适应症与BMS已上市的Orencia和在研品种口服Tyk2抑制剂重叠度高,将使其在银屑病市场拥太大的份额。
2019年6月,BMS宣布出售新基的Otezla。2019年8月,安进以134亿美元现金的价格收购Otezla的全球权益。根据安进近期公布的财报,该产品今年上半年销售额为10亿美元。
点亮“在看”,好文相伴