搜索
首页
大数快讯
大数活动
服务超市
文章专题
出海平台
流量密码
出海蓝图
产业赛道
物流仓储
跨境支付
选品策略
实操手册
报告
跨企查
百科
导航
知识体系
工具箱
更多
找货源
跨境招聘
DeepSeek
首页
>
正大天晴「沙格列汀」即将获批
>
0
0
正大天晴「沙格列汀」即将获批
医药魔方Info
2020-09-03
0
导读:医药魔方
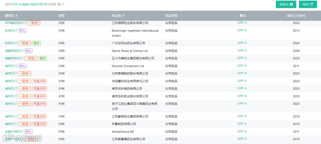
9月2日,正大天晴申报的4类仿制药沙格列汀片上市申请进入行政审批阶段,有望近期获批成为国内继奥赛康之后第2家该品种获批上市的企业。
沙格列汀原研是阿斯利康从BMS旗下收购而来的一款二肽基肽酶-4(DPP-4)抑制剂,最早于2009年7月获得FDA批准上市,2011年4月获批进入中国。2019年,阿斯利康沙格列汀销售额为5.27亿美元。
奥赛康研发的沙格列汀仿制药于2019年1月率先在国内获批上市,成为首个国产DPP-4抑制剂。除正大天晴外,齐鲁制药和豪森药业也提交了沙格列汀上市申请,正处于“在审评”阶段。
目前,国内获批上市的5款
DPP-4抑制剂(阿格列汀、利格列汀、西格列汀、维格列汀和沙格列汀)
已经均有仿制药获批上市。其中,
维格列汀
已被纳入带量采购。
来源:
PharmaGo
上市药品库
点亮“在看”,好文相伴
【声明】内容源于网络
0
0
医药魔方Info
传递医药信息,分享资源数据!医药魔方Info关注全球范围内的重要医药信息情报,包括药品注册审批、药物临床试验数据、公司交易并购动态、公司财报业绩、医药人才流动,热门政策事件等等,为用户的日常决策提供关键信息参考。让你充电5分钟,吹牛2小时!
内容
2698
粉丝
0
关注
在线咨询
医药魔方Info
传递医药信息,分享资源数据!医药魔方Info关注全球范围内的重要医药信息情报,包括药品注册审批、药物临床试验数据、公司交易并购动态、公司财报业绩、医药人才流动,热门政策事件等等,为用户的日常决策提供关键信息参考。让你充电5分钟,吹牛2小时!
总阅读
1.1k
粉丝
0
内容
2.7k
在线咨询
关注