大数跨境
0
0

比索洛尔氨氯地平片关键制剂专利被宣告部分无效

比索洛尔氨氯地平片关键制剂专利被宣告部分无效 医药魔方Info
2023-12-08
0
导读:医药魔方
近日,国知局针对埃吉斯药物有限公司的一项制剂专利CN200980138060.7发出无效宣告请求审查决定书,宣告专利权部分无效。无效宣告请求人为石家庄四药。
医药魔方NextPat数据库显示,该专利为德国默克(Merck)于2023年6月26日在中国上市药品专利信息登记平台登记的专利,保护了“比索洛尔氨氯地平片”的药物组合物。Merck的比索洛尔氨氯地平片于2021年5月在国内获批上市。
此前,成都硕德已经对该专利发起了两次专利无效,但均是以无效宣告案件结案的方式结束,并未有无效决定发文。本次的无效决定是该专利受到无效挑战以来的第1份无效决定。
作为唯一一款在国内上市的β1-adrenergic receptor阻断剂(BB)+L-type calcium channel阻断剂(CCB)长效单片复方制剂,比索洛尔氨氯地平片早已受到国内药企的广泛关注。
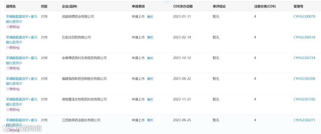
通过魔方数据库查询可知,石家庄四药的4类仿制药已于2023年2月在国内申请上市,此外,成都硕德、安徽博诺美科、福建海西、湖南慧泽和江西施美等5家药企均已递交该药物的上市申请,除了湖南慧泽针对该专利提出4.2类声明外,其余5家均已先后针对该专利提出了4.1类声明(即认为该专利应当被无效)。

医药魔方PharmaGO数据库

在单一活性成分化合物专利均到期的情况下,该制剂专利无疑是此复方产品的关键专利。该专利的授权权利要求1保护了包含氨氯地平及富马酸比索洛尔的稳定的固体药物组合物,具体如下:
在无效过程中,专利权人对权利要求进行了修改,缩小了原权利要求的保护范围,修改后的权利要求获得维持有效。维持有效的权利要求1如下:
该品种的仿制药赛道竞争激烈,各大药企并驱争先,但最终究竟谁能抢下首仿,让我们拭目以待。

推荐阅读

Copyright © 2023 PHARMCUBE. All Rights Reserved.
欢迎转发分享及合理引用,引用时请在显要位置标明文章来源;如需转载,请给微信公众号后台留言或发送消息,并注明公众号名称及ID。
免责申明:本微信文章中的信息仅供一般参考之用,不可直接作为决策内容,医药魔方不对任何主体因使用本文内容而导致的任何损失承担责任。

【声明】内容源于网络
0
0
医药魔方Info
传递医药信息,分享资源数据!医药魔方Info关注全球范围内的重要医药信息情报,包括药品注册审批、药物临床试验数据、公司交易并购动态、公司财报业绩、医药人才流动,热门政策事件等等,为用户的日常决策提供关键信息参考。让你充电5分钟,吹牛2小时!
内容 2698
粉丝 0
医药魔方Info 传递医药信息,分享资源数据!医药魔方Info关注全球范围内的重要医药信息情报,包括药品注册审批、药物临床试验数据、公司交易并购动态、公司财报业绩、医药人才流动,热门政策事件等等,为用户的日常决策提供关键信息参考。让你充电5分钟,吹牛2小时!
总阅读1.1k
粉丝0
内容2.7k