搜索
首页
大数快讯
大数活动
服务超市
文章专题
出海平台
流量密码
出海蓝图
产业赛道
物流仓储
跨境支付
选品策略
实操手册
报告
跨企查
百科
导航
知识体系
工具箱
更多
找货源
跨境招聘
DeepSeek
首页
>
帕妥珠单抗治疗HER2阳性转移性乳腺癌的用途专利被宣告部分无效
>
0
0
帕妥珠单抗治疗HER2阳性转移性乳腺癌的用途专利被宣告部分无效
医药魔方Info
2023-10-26
0
导读:医药魔方
帕妥珠单抗(Pertuzumab,商品名:Perjeta,帕捷特)是一种新型的抗HER2单克隆抗体,是首个针对HER2配体依赖型结合位点的靶向药物。
其
通过结合HER2,阻滞HER2与其它HER受体的杂二聚,从而减缓肿瘤的生长。帕妥珠单抗最早于2012年6月8日在
美国
上市,用于治疗HER2阳性转移性乳腺癌。
图片来源:医药魔方NextPharma®数据库
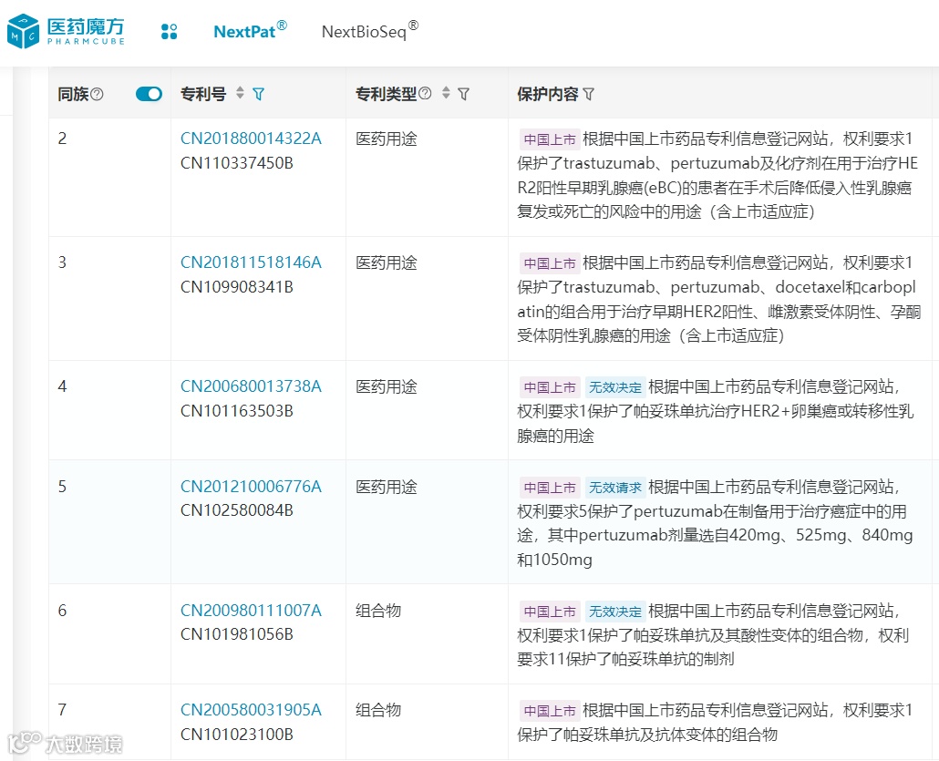
10月23日,帕妥珠单抗涉及上市适应症的用途
专利
CN200680013738.5被国知局宣告部分无效。无效宣告请求人为正大天晴药业集团
南京
顺欣制药有限公司,该企业于今年5月提交了帕妥珠单抗生物类似物的上市申请。
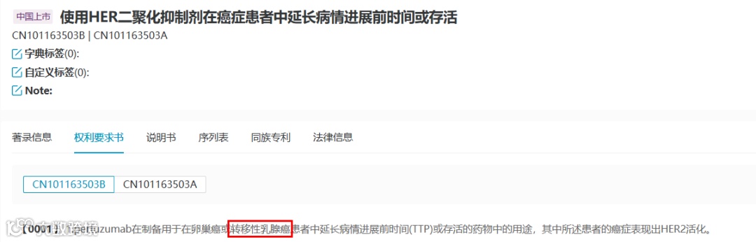
该专利为帕妥珠单抗治疗HER2阳性的卵巢癌或转移性乳腺癌的用途专利,2023年5月15日请求人向国家知识产权局提出无效宣告请求,请求宣告权利要求1-2、4-14涉及转移性乳腺癌的技术方案无效。
图片来源:医药魔方NextPat®数据库
最终,该专利的权利要求1-2、4-14中涉及“转移性乳腺癌"的技术方案均以不具备新颖性被宣告无效,在权利要求1-2和4-14中涉及“卵巢癌"的技术方案以及权利要求3的基础上继续维持该专利权有效。
本次无效决定的要点如下:
1.如果对比文件公开了本专利权利要求的全部技术特征,两者的技术方案相同,所属技术领域相同,解决的技术问题相同,产生的技术效果也相同,则该权利要求不具备新颖性。
2.对于物质的医药用途发明而言,疗效特征、用药前对患者进行筛选的诊断特征、治疗方法特征以及用药特征通常不具有实质的限定作用。
经过此次无效程序,该专利中保护的涉及HER2阳性转移性乳腺癌的技术方案全部被无效
。有意思的是,本次无效宣告过程中专利权人并未对该专利权的维持进行积极争取,既未在指定期限内进行任何书面意见的答复,也未出席口头审理。
通过医药魔方NextPat®数据库查询,帕妥珠单抗共有6篇专利登记于中国上市药品专利信息登记平台,除了本专利被宣告专利权部分无效外,其中1件组合物专利
CN101981056B
已经于2022年被齐鲁制药全部无效成功,另有1篇用途专利
CN1025800848B
也在无效程序中,最终结果尚不可知。
图片来源:
医药魔方NextPat®数据库
综上所述,
虽然该专利被部分无效,但帕妥珠单抗的专利布局中还有多篇有效专利,对生物类似药的上市仍存在较大专利阻碍
。
Copyright © 2023 PHARMCUBE. All Rights Reserved.
欢迎转发分享及合理引用,引用时请在显要位置标明文章来源;
如需转载,请给微信公众号后台留言或发送消息,并注明公众号名称及ID。
免责申明:本微信文章中的信息仅供一般参考之用,不可直接作为决策内容,医药魔方不对任何主体因使用本文内容而导致的任何损失承担责任。
精彩预告
线上直播&线下沙龙
↑ 长按扫码,预约直播 ↑
【声明】内容源于网络
0
0
医药魔方Info
传递医药信息,分享资源数据!医药魔方Info关注全球范围内的重要医药信息情报,包括药品注册审批、药物临床试验数据、公司交易并购动态、公司财报业绩、医药人才流动,热门政策事件等等,为用户的日常决策提供关键信息参考。让你充电5分钟,吹牛2小时!
内容
2698
粉丝
0
关注
在线咨询
医药魔方Info
传递医药信息,分享资源数据!医药魔方Info关注全球范围内的重要医药信息情报,包括药品注册审批、药物临床试验数据、公司交易并购动态、公司财报业绩、医药人才流动,热门政策事件等等,为用户的日常决策提供关键信息参考。让你充电5分钟,吹牛2小时!
总阅读
12
粉丝
0
内容
2.7k
在线咨询
关注