

6月10日,华为技术有限公司公开发明专利“一种量子芯片和量子计算机”,公开号为CN114613758A。华为公开这子昂量子芯片相关专利,旨在解决量子芯片制作难度大、良率低等问题。
根据企查查网站显示,此项专利摘要显示:本申请提供了一种量子芯片和量子计算机,涉及量子计算技术领域,以解决量子芯片制作难度大、良率低等问题。本申请提供量子芯片包括:基板、M个子芯片、耦合结构和腔模抑制结构;每个子芯片中包括N个量子比特,M个子芯片间隔的设置在基板的板面;耦合结构用于实现M个子芯片之间的互连;腔模抑制结构设置在每个子芯片的边缘和/或M个子芯片之间的间隙内,用于提升量子芯片的腔模频率;其中,M为大于1的正整数,N为大于或等于1的正整数。在本申请提供的量子芯片中,以M个子芯片的方式组成量子芯片,从而会有效降低制作难度并提升制作良率;并且,当某一个子芯片出现质量缺陷时,也不会导致因质量缺陷所造成的成本大、资源浪费等问题。

华为的新型量子计算设备旨在解决目前生产量子芯片组的问题,其中包括制造量子芯片组的复杂性,以及与当今现有主流计算芯片组相比,量子芯片组的产量较低。反过来,有了这种新型的量子芯片,未来不仅会更容易组装,而且可以成功生产更多的单位,产量更高,这意味着在行业中采用更多的市场份额。

在专利列表中,它陈述了华为新开发的量子芯片组的架构的基本原理:
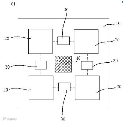
01 一个封装基板(SUB),M个子芯片,一个耦合结构和一个空穴模式抑制结构
02 每个子芯片包括N个量子比特,M个子芯片间隔排列在基片的表面上
04 空穴模式抑制结构被安排在每个子芯片的边缘和/或M个子芯片之间的间隙中,用于提高量子芯片的空穴模式频率
这里,术语M和N指的是一个正整数。"M"大于1,同时,"N "大于或等于1。
量子芯片中的M个子芯片将减少制造的压力,并将提高生产产量。例如,当一个子芯片发生缺陷时,只有该子芯片会被丢弃,而整个芯片组可以被修复或重新使用,以防止它进一步成为更多的电子垃圾。
被誉为下一代计算的量子计算,旨在降低互联网的速度,并将计算速度提高到今天的10倍。例如,假设现代的超级计算机需要108天(3个月)来计算62.8万亿个圆周率数字,如果我们在理论上使用未来的量子计算机,假设它只需10天(1.5周)就能计算出62.8万亿个圆周率数字,这比3个月快得多。
尽管我们仍然处于发展量子计算机的未来的初级阶段,但量子计算的承诺似乎具有吸引力的无限性,如更快的互联网搜索,闪电般的金融数据分析,更短的通勤时间,更有效的癌症药物,更好的天气预测等等。

1995年,华为申请了第一件发明专利;1998年获得了第一件发明专利的授权;到2021年底,华为在全球累计申请量超过20万件,累计授权量超过11万件,PCT超过6万件。根据《2021年欧盟产业研发投入记分牌》报告,华为研发投入在全球企业中位居第二。2021年,华为投入研发费用人民币1427亿元,占销售收入的22.4%。近十年累计投入的研发费用超过人民币8450亿元。
在全球创新主体中,2021年华为已公布PCT申请达6952件,较2020年增加了近1500件,连续5年在PCT全球申请榜单中独占鳌头。同时,华为以98件马德里商标国际注册申请名列第四,再次入围全球前五行列。
[1].https://www.gizmochina.com/2022/06/12/huawei-patents-quantum-computer/
[2].https://mp.weixin.qq.com/s/AxEk8l9EMGYTmSuF6xNbwQ
[3].https://iri.jrc.ec.europa.eu/sites/default/files/contentype/scoreboard/2021-12/EU%20RD%20Scoreboard%202021%20FINAL%20online.pdf
[4].https://baijiahao.baidu.com/s?id=1735241944562089421&wfr=spider&for=pc