点击上方蓝字关注我们!
引
言
适用性:
A320 系列
问题:
A320 系列上驾驶舱声音警报的优先级是什么?
概述:
在以下章节中,区分了两种声音警报:
"合成语音":由 FWC、WXR(预测风切变功能)、GPWS/EGPWS 和 TCAS 生成。
"声音":由 FWC 生成(例如蜂鸣声、单次谐音、连续重复谐音、骑兵冲锋声、咔嗒声、蟋蟀声、和弦声)。
凭借其声音管理模块,FWC 可以同时生成一个合成语音和另一个声音。由于合成语音和声音之间不存在冲突,因此在它们之间不需要优先级管理。
然而,当两个声音(或两个合成语音)同时被激活时,必须定义一个优先级,以确定应播放哪个声音(或合成语音)。因此,必须定义两个优先级列表:
1. FWC 生成的声音之间的优先级
警告及其相关声音警报的优先级列表可能会根据 FWC 标准而变化,这主要是由于引入了新的警报。因此,无法提供详尽的列表。
2. 合成语音之间的优先级
能够在计算机之间生成合成语音的计算机(FWC、WXR、GPWS/EGPWS 和 TCAS)之间的优先级管理是通过计算机之间连接的离散线路实现的(有关详细信息,请参阅相关 ASM 或 AWM)。
注意:在 FWC 层面,通过 WXR 或 GPWS 声音警报对 FWC 合成语音的抑制是使用相同的离散输入完成的。
最后,按优先级顺序排列的声音警报列表如下:
FWC: "STALL"
FWC: "WINDSHEAR"
WXR 警报(预测风切变)
GPWS/EGPWS 警报
TCAS 警报
其他 FWC 合成语音
(*):剩余的 FWC 合成语音实际上对于 WXR、GPWS/EGPWS 和 TCAS 声音警报并不具有相同的优先级:
理论上,其他 FWC 合成语音的优先级低于 WXR、GPWS/EGPWS 和 TCAS。它们的优先级顺序应为 6。
实际上,一些 FWC 合成语音与 WXR、GPWS/EGPWS 或 TCAS 声音警报具有相同的优先级。当空客认为由于飞机配置,两个不同的合成语音不可能同时生成,或者当空客认为生成两个不同合成语音的概率很低时,就会出现这种情况。
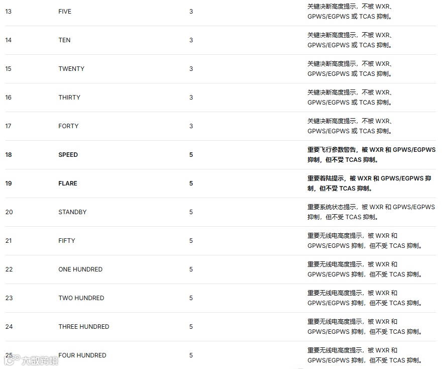
下表显示了 FWC 生成的所有合成语音,并按其在 FWC 中的优先级顺序(从 1 到 38)分类。同时给出了它们每个相对于 WXR、GPWS/EGPWS 和 TCAS 声音警报在多系统层面的优先级顺序(从 1 到 6)。
注意:
“HUNDRED ABOVE” 和 “MINIMUM” 的优先级取决于其触发的具体飞行阶段或条件,这些条件可能导致这些声音的优先级为 3 或 6。。
本列表为通用参考,具体优先级可能因 FWC 软件标准不同而略有变化。
总结:
优先级 1 和 2 是最高优先级的合成语音警报(失速和风切变)。
优先级 3 的警报是关键的起飞/复飞/着陆语音,不被 WXR、GPWS/EGPWS 或 TCAS 抑制。
优先级 5 的警报是重要的近地/速度相关语音,被 WXR 和 GPWS 抑制,但 TCAS 警报不会抑制它们。
优先级 6 的警报是通常的飞行包线/操作语音,会被所有其他系统的声音警报(WXR、GPWS/TCAS)抑制。
FWC 可以同时播放一个合成语音和一个其他声音(如和弦声)。
来源ISI 31.53.00057

