近日,据有关平台数据显示,电影《浪浪山小妖怪》累计票房已突破10亿,并超过《功夫熊猫3》,进入中国影史动画电影票房榜前十。电影中的名台词“我想活成自己喜欢的样子”火遍全网。

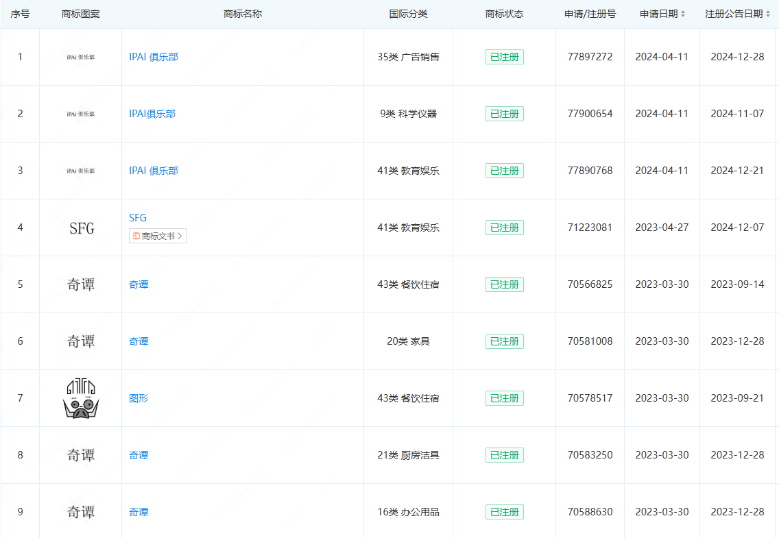
然而,浪浪山小妖怪的权利人上海电影(集团)有限公司竟从未注册过浪浪山或浪浪山小妖怪有关的商标,与之关联的成功注册的文字标仅有“奇谭”、“IPAI”等,并未发现“浪浪山”或“小妖怪”,究竟是何原因?

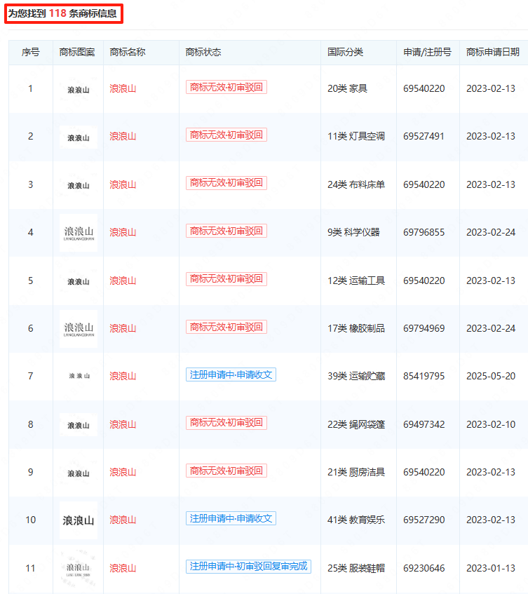
其实早在2023年,上海电影集团就曾申请过14件“浪浪山LANGLANGSHAN”商标,但却被国知局驳回,其核心理由是违反了《商标法》十一条第一款第(三)项:其他缺乏显著特征的。

国知局认为,申请商标中“浪浪山”为网络流行词汇,指定使用在第41类教育等服务上,不易被相关公众作为区分服务来源的标识加以识别,缺乏商标应有的显著特征。
此外,据有关平台数据显示,“浪浪山”商标曾先后被不同主体累计申请118次,均未能成功注册下来。

其实,不管是扎根国内市场还是布局海外,商标显著性都是商标注册成功的关键要素之一,不同国家地区对显著性的要求各有侧重,但核心逻辑高度一致:即无法让消费者明确区分品牌来源的商标,一律难以通过审查。如在美国商标注册过程中,若出现商标名为通用名称、仅具有描述性或仅能表示产品功能、用途等特点,一般会被认定为缺乏显著性而驳回。
如何判定商标是否具有显著性?
商标显著性,指一个商标区分商品或服务来源的能力。显著性越强,越容易获得注册保护,也越容易被消费者识别和记忆。以美国、欧盟市场为例:
美 国
美国商标局对显著性的定义是指商标所具有的区分商品或服务来源的属性。根据显著性强弱,大致分为五类:
1.臆造词(Fanciful):显著性最强,完全人为创造、在自然语言中不存在的词语。
2.任意词(Arbitrary) :虽为现有词汇,但与所标识商品无任何语义关联。
3.暗示词(Suggestive):通过联想或象征方式提示商品特点,需消费者思考。
4.描述词(Descriptive):直接描述商品功能、特点或用途。通常需要证明“获得显著性”(secondary meaning)才能注册。
5.通用词(Generic):是商品本身的通用名称,永远不能作为商标。
欧 盟
欧盟国家认为能够将一个企业的商品或服务与其他企业的商品或服务区别开的标记或标记的组合,就具有显著性。
同时注重商标在欧盟市场范围内是否能让相关公众识别来源,判定时会综合考虑商标的构成、使用情况、市场影响等因素,也认可通过使用获得显著性。
因缺乏显著性商标被驳回,如何应对?
①可以从商标的设计进行反驳,说明商标设计的独创性、创意组合等;
②提供有力的证据证明商标在商品/服务上经过长期使用及推广宣传后,商标具备“第二含义”,进而拥有足够的显著性;
③同意审查员建议,放弃商标部分专用权或在副注册簿上登记。
商标注册是跨境卖家布局海外市场极为重要的一环,但受国内外规则差异、语言壁垒等因素影响,许多卖家在注册海外商标时,不仅常因“缺乏显著性”被驳回,更频繁遭遇商标被恶意抢注、类别选错导致保护不全、适配目标国审查标准难等问题。
斯通布里拥有 20 年跨境知识产权服务经验,先后服务超10万+精品卖家,能够精准破解跨境商标注册的核心难题,提供商标注册、续展、维权等一站式服务,助力中国企业合规出海。


