url="" imgdata="null" tab="innerlink" data-linktype="1">
line: 0px;font-family: system-ui, -apple-system, BlinkMacSystemFont, "Helvetica Neue", "PingFang SC", "Hiragino Sans GB", "Microsoft YaHei UI", "Microsoft YaHei", Arial, sans-serif;letter-spacing: 1px;background-color: rgb(255, 255, 255);">
近日,淘宝阿里拍卖平台显示,位于舟山市定海区环南街道西蟹峙岛的浙江诚达船业有限公司破产拍卖。
拍卖公告显示,此次拍卖受定海区人民法院监督,一拍将于2月19日开始,起拍价8500万元,保证金500万元。
拍卖标的是诚达公司重整投资权益,报价最高者拍得诚达公司重整投资权益,在《重整计划》经定海法院裁定批准后,成为诚达公司正式重整投资人,付清全部重整出资后,取得诚达公司100%股权。
浙江诚达船业公司成立于2005年3月,注册资本为1亿元人民币,经营范围包括船舶修造、船舶配件制造、船坞出租、货物及技术的进出口贸易等。
该公司拥有码头2座(2万吨级舾装码头、5000吨级码头)、2万吨级干船坞一座、船台一座及其他配套设施及龙门吊等机器设备。
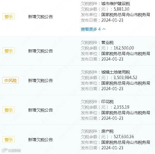
企查查显示,该公司多名股东已被列为失信被执行人,并被限制高消费。今年1月底,舟山市税务局更新了4则该公司的欠薪公告。

15日02时至14时,渤海、渤海海峡、黄海大部海域、东海大部海域、南海西南部海域出现了6~7级、阵风8级的东北或偏北风。其中,东海北部海域出现了8级、阵风9级的大风。另外,北部湾北部海域、雷州半岛、琼州海峡、黄海中部海域、山东东南部沿岸海域出现了能见度不足1公里的大雾天气。
15日夜间至18日白天,渤海、渤海海峡、黄海大部海域、东海大部海域、台湾海峡、南海大部海域将有6~7级、阵风8级的大风,其中黄海南部海域、东海西北部海域、台湾海峡、南海西南部海域将有8级、阵风9级的大风。
预计,18日夜间至22日白天,渤海、渤海海峡、黄海大部海域、东海大部海域、台湾海峡、台湾以东洋面、巴士海峡、南海北部海域、北部湾将有6~8、阵风9级的大风。
MESSAGE FOR NAVAREA XI(IOR) ISSUED BY NMC BEIJING
MESSAGE IS UPDATED EVERY 06 HOURS =
SYNOPSIS VALID 0600UTC FEB.15 =
FCST VALID 0600UTC FEB.16 =
NW/NLY WINDS FROM 12 TO 18M/S GUSTS 22M/S SEAS UP
TO 3.0M OVER YELLOW SEA AND NORTHERN PART OF EAST
CHINA SEA AND JAPAN SEA AND KOREA STRAIT=
NLY WINDS FROM 10 TO 12M/S GUSTS 14M/S SEAS UP TO
1.5M OVER SOUTHERN PART OF EAST CHINA SEA=
SLY WINDS FROM 12 TO 14M/S GUSTS 18M/S SEAS UP TO
2.5M OVER SEA SOUTH OF JAPAN=
HORIZONTAL VISIBILITY LESS THAN 10KM OVER WESTERN
PART OF EAST CHINA SEA AND TAIWAN STRAIT AND BEIBU
GULF AND SOUTHWESTERN PART OF JAPAN SEA AND
ANDAMAN SEA AND THAILAND GULF AND MALACCA STRAIT
AND SEA EAST OF SINGAPORE AND SEA SOUTH OF
SUMATERA AND SUNDA STRAIT AND LAUT JAWA AND
MAKASSAR STRAIT AND LAUT MALUKU AND LAUT BANDA=
S WINDS 06 TO 08M/S GUSTS 08 TO 12M/S INCR 08 TO
12M/S GUSTS 12 TO 16M/S SEA STATE SLIGHT TO
NORTHERN PART OF YELLOW SEA
N WINDS 12 TO 16M/S GUSTS 16 TO 20M/S VEER S
WINDS 06 TO 08M/S GUSTS 08 TO 12M/S SEA STATE
MODERATE TO SLIGHT SUNNY VIS GOOD=
MIDDLE PART OF YELLOW SEA
N WINDS 12 TO 16M/S GUSTS 16 TO 20M/S VEER S
WINDS 06 TO 08M/S GUSTS 08 TO 12M/S SEA STATE
ROUGH TO MODERATE SUNNY VIS GOOD=
SOUTHERN PART OF YELLOW SEA
N WINDS 12 TO 16M/S GUSTS 16 TO 20M/S VEER NE
WINDS 08 TO 12M/S GUSTS 12 TO 16M/S SEA STATE
ROUGH TO MODERATE OVERCAST BECMG SUNNY VIS GOOD=
NORTHERN PART OF EAST CHINA SEA
N WINDS 12 TO 16M/S GUSTS 16 TO 20M/S DECR 08 TO
12M/S GUSTS 12 TO 16M/S SEA STATE ROUGH LIGHT RAIN
BECMG OVERCAST VIS MODERATE TO GOOD=
SOUTHERN PART OF EAST CHINA SEA
N WINDS VEER NE 12 TO 16M/S GUSTS 16 TO 20M/S SEA
STATE ROUGH OVERCAST VIS GOOD=
NE WINDS 12 TO 16M/S GUSTS 16 TO 20M/S SEA STATE
MODERATE TO ROUGH OVERCAST VIS GOOD=
N WINDS 08 TO 12M/S GUSTS 12 TO 16M/S SEA STATE
MODERATE OVERCAST VIS GOOD=
E WINDS 06 TO 08M/S GUSTS 08 TO 12M/S BACK NE
WINDS 08 TO 12M/S GUSTS 12 TO 16M/S SEA STATE
MODERATE OVERCAST VIS GOOD=
N WINDS 06 TO 08M/S GUSTS 08 TO 12M/S VEER NE
WINDS 08 TO 12M/S GUSTS 12 TO 16M/S SEA STATE
SLIGHT TO MODERATE OVERCAST VIS GOOD=
NORTHEASTERN PART OF SOUTH CHINA SEA
NE WINDS 06 TO 08M/S GUSTS 08 TO 12M/S INCR 08 TO
12M/S GUSTS 12 TO 16M/S SEA STATE MODERATE
SOUTHWESTERN PART OF SOUTH CHINA SEA
NE WINDS 08 TO 12M/S GUSTS 12 TO 16M/S SEA STATE
MODERATE CLOUDY VIS GOOD=
SOUTHEASTERN PART OF SOUTH CHINA SEA
NE WINDS 08 TO 12M/S GUSTS 12 TO 16M/S SEA STATE
MODERATE CLOUDY VIS GOOD=
NORTHEASTERN PART OF JAPAN SEA
N WINDS 16 TO 20M/S GUSTS 20 TO 24M/S BACK NW
WINDS 12 TO 16M/S GUSTS 16 TO 20M/S SEA STATE
ROUGH SNOW STROM BECMG SLIGHT SNOW VIS VERY POOR
SOUTHWESTERN PART OF JAPAN SEA
N WINDS 16 TO 20M/S GUSTS 20 TO 24M/S DECR 08 TO
12M/S GUSTS 12 TO 16M/S SEA STATE ROUGH LIGHT RAIN
BECMG OVERCAST VIS MODERATE TO GOOD=
N WINDS 12 TO 16M/S GUSTS 16 TO 20M/S VEER NE
WINDS 08 TO 12M/S GUSTS 12 TO 16M/S SEA STATE
ROUGH LIGHT RAIN BECMG OVERCAST VIS MODERATE TO
SW WINDS VEER N 16 TO 20M/S GUSTS 20 TO 24M/S SEA
STATE ROUGH LIGHT RAIN VIS MODERATE=
E WINDS 08 TO 12M/S GUSTS 12 TO 16M/S DECR 06 TO
08M/S GUSTS 08 TO 12M/S SEA STATE ROUGH CLOUDY VIS
SEA SOUTHWEST OF THE PHILIPPINES
NE WINDS 08 TO 12M/S GUSTS 12 TO 16M/S DECR 06 TO
08M/S GUSTS 08 TO 12M/S SEA STATE MODERATE CLOUDY
SEA SOUTHEAST OF INDONISIA
W WINDS VEER NW 08 TO 12M/S GUSTS 12 TO 16M/S SEA
STATE MODERATE CLOUDY VIS GOOD=
NE WINDS 08 TO 12M/S GUSTS 12 TO 16M/S SEA STATE
MODERATE CLOUDY VIS GOOD=
【投稿】【提供线索】【转载】请后台留言或电邮投稿,主题格式为【投稿】+文章标题,发送至media@xindemarine.com邮箱。
服务平台,传递海运正能量!" data-from="0" data-is_biz_ban="0">