大数跨境
0
0

一大船突发火灾!10天内,全球三大航运公司超大集装箱船接连出事

一大船突发火灾!10天内,全球三大航运公司超大集装箱船接连出事 信德海事安全
2025-08-22
2
导读:近期,全球班轮业接连发生安全事故,引发业内高度关注。

近期,全球班轮业接连发生安全事故,引发业内高度关注。8 月中旬,达飞轮船旗下“CMA CGM J. MADISON”号在马六甲海峡突发火灾;几乎同时,马士基的“Marie Maersk”号也在西非近海遭遇火情;而赫伯罗特新交付的超大型集装箱船“Rotterdam Express”号更是在摩洛哥港口不幸发生碰撞事故。


三起事故虽然均未造成人员伤亡,但在运力高度集中、船舶超大型化的背景下,却再次提醒我们——集装箱航运的安全挑战正日益严峻,任何突发事件都可能带来全球供应链的连锁反应。




达飞 14000TEU 集装箱船马六甲海峡起火

8 月 18 日上午,根据马来西亚官方发布的消息,达飞轮船(CMA CGM)旗下一艘运力达 14414TEU 的集装箱船 “CMA CGM J. MADISON” 号,在马六甲海峡水域突发火灾。

马来西亚海事局发布的媒体声明指出,事故发生时,“CMA CGM J. MADISON” 号正朝着迪拜哈利法港航行,在当日上午 9 点前,在 04°18.4″N、097°27.44″E 的位置遭遇火灾,距离雪兰莪州瓜拉雪兰莪海军基地约136海里 。据悉,火灾是由船上货物自燃引发的。经过船员们的初步处置,火势得到有效控制,随后船员们持续监控船体温度,以确保没有复燃风险。值得庆幸的是,此次事故没有造成人员伤亡,所有船员都安全。


8 月 20 日,达飞轮船也向客户发布了通知,证实了 8 月 18 日 “CMA CGM J. MADISON” 轮发生火灾这一情况。通知显示,火灾仅局限于船上局部区域,目前已经得到控制,船舶状态稳定,安全锚泊在巴生港外,相关评估工作正在进行。由于事故影响,该船船期预计将会延误,且现阶段尚不清楚哪些集装箱受到了波及,后续公司会进一步通报相关信息。

本文所有截图来源:船视宝

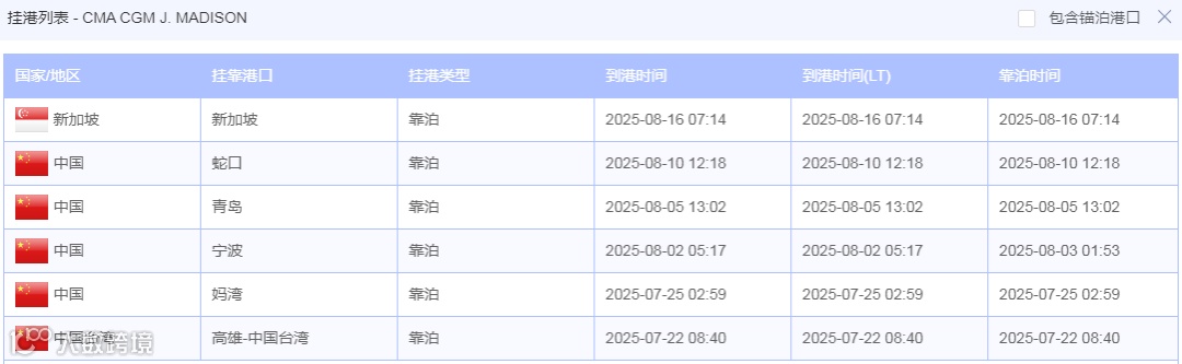
根据船视宝提供的信息,“CMA CGM J. MADISON” 号在 18 日出现不规则减速后,掉头回到马来西亚巴生港外围水域抛锚。数据显示,这艘集装箱船长 366 米,宽 48.2 米,悬挂马耳他国旗,于 2018 年 3 月建成。在事发前,该船曾挂靠国内宁波、青岛、蛇口等多个港口,涉及 ANL、CNC、CMA CGM、COSCO SHIPPING、EVERGREEN、OOCL 等多家船公司共舱。最后于 8 月 17 日离开新加坡前往哈利法港,不料在马六甲海峡发生事故。





马士基 19000TEU 集装箱船西非附近海域起火

无独有偶,当地时间 2025 年 8 月 13 日,全球第二大集装箱航运巨头马士基旗下的超大型集装箱船 “Marie Maersk” 号,在利比里亚海岸附近海域也发生了火灾。好在火灾在第一时间得到了有效控制,并未造成人员伤亡。(相关阅读:突发!马士基19000TEU箱船突发火灾


“Marie Maersk” 号建造于 2013 年,属于马士基著名的 Triple-E 级巨型集装箱船,最大载箱量高达 19076TEU,主要执行跨欧亚洲际运输航线。事发时,该船正在执行从荷兰鹿特丹至马来西亚丹戎帕拉帕斯的航次任务,船员发现集装箱冒出烟雾后,迅速启动了船上的消防系统,并积极采取措施控制火情。截至目前,该船舶仍在事发附近水域漂泊。

本文所有截图来源:船视宝



赫伯罗特 24000TEU 集装箱船撞上码头

此外在 8 月 12 日,赫伯罗特旗下的集装箱船 “Rotterdam Express” 号便在摩洛哥北部的 Tangier Med 港 1 号集装箱码头发生了撞击(触碰)事故。(相关阅读:20米长大口子!一艘崭新的24000TEU大船,出事了!

“Rotterdam Express” 号船长 399.9 米,宽 61 米,最大载重可达 23,664TEU ,于 2025 年 3 月交付使用,悬挂德国国旗。该船隶属于赫伯罗特与马士基联合推出的双子星 “Gemini Network” 航运联盟,主要执行远东至北欧的航线服务。


事发当时,船只在引航员的引导下进入 Tangier Med 1 码头,但由于遭遇强烈风力影响,船只偏离了预定航道,最终撞击到了港口的防波堤。撞击导致船体出现了一条约 20 米长的裂缝,几个压载水舱也受到损坏 ,不过并未造成严重的结构性损害。幸运的是,经确认此次事故没有造成人员伤亡,货物也完好无损,同时也没有出现污染泄漏的情况。


实际上,如信德海事网更早之前报道《突发!8500TEU箱船南海遭遇火灾,中国救助力量紧急出动》,7月28日,还有一艘8500TEU的利比里亚籍大型集装箱船STRATFORD轮在中国南沙永暑礁西北约190海里海域突发火灾。

根据最新消息,8月11日,“STRATFORD “轮船东德国Oltmann D GmbH & Co KG确认,此前发生集装箱起火的“STRATFORD “轮已经正式宣布共同海损!

【投稿】【提供线索】【转载请后台留言或电邮投稿,主题格式为【投稿】+文章标题,发送至media@xindemarine.com邮箱。



联系主编 Contact

 陈洋 Chen Yang 

电话/微信:15998511960

yangchen@xindemarine.com





更多航运资讯,请点击“阅读原文”

【声明】内容源于网络
0
0
信德海事安全
各类跨境出海行业相关资讯
内容 12202
粉丝 0
信德海事安全 各类跨境出海行业相关资讯
总阅读24.5k
粉丝0
内容12.2k