本案分析的产品是筷子产品——重力筷子。老祖宗用了几千年的筷子居然申请了两项美国发明专利?!这玩意儿不是咱们从商朝就使用了吗?河南省殷墟出土的铜筷还躺在博物馆里呢,《韩非子》都写着 “纣为象箸”,怎么突然就成了别人的专利了呢?
筷子我们天天用,距今已有几千年的历史了。筷子(英文名:chopsticks),古称“箸”“梜”,是中国人在日常生活中使用最多的餐具之一,也是中华饮食文化的标志之一,制作材料通常是竹、木、骨、瓷、象牙、金属、塑料等,筷子也是世界上常用餐具之一。其标准长度为7寸6分(约25.3厘米),寓意人有七情六欲,除标准长度外,还有捞面筷、儿童筷等特殊规格的筷子。有做相关筷子产品的卖家,建议全面排查相关产品,即使产品功能相似但未完全复制,也可能面临TRO冻结风险!
1. 关于重力筷子商品
筷子我们用的时候曾遇到过这样的尴尬,有的是圆柱体的,容易跌落。筷子是入口的东西,为了卫生着想,不能直接放桌子上,要么放碗上、要么架碟子上,很不方便。一个来自美国的团队设计了这样一款,“重力筷子”Gravity Chopsticks 2.0。这双筷子乍一看与普通筷子并无太大差异,但仔细看就发现了,它手持部分是方形的,这样就不会滑落了。夹食物的那一端比较尖、比较细,恰好不会与桌面接触。重力悬浮,筷头自然翘起,不需要什么筷子架。 既节约资源,又不占地方,还能保证卫生整洁。是一种种带广告展示功能的改良款。
专利介绍:
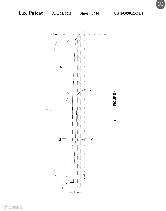
经查询于这款重力筷子产品于2016年5月3日申请,于2017年7月13号在美国获得授权,发明专利(专利号:US10058202B2)。
另一款重力筷子产品于2016年1月9日申请,于2017年7月13号在美国获得授权,发明专利(专利号:US9999309B2)。
*素材来源于官网,若涉及侵权请联系小编下架
看上去跟咱小时候家里做的“翘头筷子”也差不多,可人家是第一个在美国申请专利的,所以,这专利,就真的是他的。
这家名为Gravity Chopsticks的公司申请了两份美国发明专利,分别是:
•US10058202B2:重点保护筷子的可拆卸结构和连接组件,例如:中段的嵌合设计、连接处的配合结构以及用于增强稳定性与便携性的卡扣、螺纹等装置。
•US9999309B2:更强调所谓“重力抬头机制”本身的设计原理。
产品示例:
*素材来源于官网,若涉及侵权请联系小编下架
2. 亚马逊筷子产品爆款侵权需早知!
用权利人查询,可以看到能查到权利人名下产品的专利详情。
3. 哪些产品有风险?
目前世界上主要有三种进食方式:手抓、刀叉、筷子,上世纪90年代,在苏北高邮(属扬州市)新石器时代遗址的发掘中,发现了距今6600-5500年的骨箸,后来在安阳殷墟也发现了青铜箸,可见古人很早就开始使用箸也就是筷子了。用作餐具,筷子可以夹起任何食物,一粒一粒的米饭、一根一根的面条、一颗一颗的鸡蛋、一块一块的肉食……先秦叫 “梜”,汉代称 “箸”,宋代才因船家避讳 “住” 改叫 “筷子”,单是名字的演变,就藏着千年的生活智慧。柄方身圆的造型,藏着 “天圆地方” 的哲学;成双成对的样子,成了婚庆上的吉祥礼。
这让国人难以接受的点在于:筷子在中国都几千年历史了,居然还能被注册发明专利。其实这是对发明专利保护边界和审查逻辑的误解。
美国专利法的三大审查标准为:
• Novelty(新颖性)
• Non-obviousness(非显而易见性/创造性)
• Utility(实用性)
而美国专利审查员判断“是否新颖”的依据是: 是否有与该发明完全相同的技术特征组合,出现在公开可检索的英文文献数据库中(如USPTO专利库、IEEE期刊、Google Patents、WIPO等)。
而这款筷子并不是申请“传统筷子”,而是围绕结构设计、重力抬头、防污染功能这几个点,提出了组合式的新技术方案。
这一案例的本质,是美国人用法律工具,把一个熟悉的生活经验“制度化”表达出来,并率先占位。
它提醒我们——技术的原创,不等于专利的拥有。美国、日本、欧洲的很多企业并不比我们更“能发明”,但他们擅长把“日常现象”转化为“法律文件”,反观我们,很多企业产品已经做得非常好,但没有意识到专利是提前埋下的地雷,不是等出爆款时才补救的。
本次主要针对两款重力筷子产品进行分析!该品牌权利人名下专利产品,给大家列举专利产品如下!
专利检索
专利详情1:
专利详情2:
总结:
以上就是本次关于重力筷子产品的专利检索分享。突然想起之前韩国申请饺子专利的事儿,其实咱们怕的从来不是别人改良物件,而是怕哪天有人指着筷子说 “这是我发明的”。但看看咱的底气:8000年用勺史,4000 年用叉史,最后选了筷子,靠的是 “正直、团结” 的使用哲学,靠的是代代相传的烟火气。
筷子在中国传承千年,一定程度上也可以视为中华文化的代表,现在仍然在使用筷子的朝鲜、韩国、日本、越南、新加坡和马来西亚,曾经都受到中国的影响,尤其是世代祖居海外的华人,筷子更是一种对祖国的牵挂和思念。
卖家如果想要在这类目产品中找到新机会。需注意以下几点:
1. 提升产品品质和产品体验感。
2. 自主研发产品提前进行知识产权保护,及时商标注册专利。在新品上市之前保护好产品。
3.不是自有产品,注意不要侵权!产品上架之前,及时做好侵权检索!


