做 B2B 销售时间久了,你就会发现一个特别现实的规律:
线索不是越多越好,而是越干净越值钱。
我接触过不少企业,线索越积越多、越积越烂,销售反而越来越累,效率越来越低。
后来仔细一拆才发现:他们做的是“线索收集”,不是“线索筛选”。
说句直白的:线索是有毒性的。不是每条线索都能吃。
要判断一条线索是不是“干净”“值钱”,其实只要抓四个标准。今天这篇文章,我就来给大家一次讲清楚!
文章中参考的系统,我已经做成了现成的模板,在这儿放了个入口链接,大家点进去一试便知,自取模板。
https://s.fanruan.com/ulhqw
一、高质量线索标准 1:真实需求,而不是随便问问
很多团队被线索数量冲昏了头脑,看到 1000 条线索就觉得业务要爆发了。 结果一打电话:
-
“我就是看看你们多少钱。” -
“我同事说让我了解下。” -
“我们暂时没计划,只是想了解市场情况。” -
“加你微信?你先发资料,我看看。” -
这些不算需求,只能叫信息收集型线索。
如何判断? 真正的“高质量需求”,有三个特征:
1. 他不是为了收集信息,而是为了解决问题
比如:
-
“我们现在线索管理混乱,团队经常漏跟进。” -
“我们生产排期不准,客户催得很凶。” -
“我们出库错误率高,仓库天天吵架。”
这叫真实需求。 没有明确痛点的,都不是。
2. 需求是现在,不是未来某一天
很多客户会说:
-
“我们明年可能会升级系统。” -
“我们下个季度会重新规划流程。”
别被骗了。
他们不是没需求,而是没时间、没预算、没决心。
B2B 的世界,需求不急就是不买。
3. 客户主动透露细节
乱问价、乱咨询的客户,是不会愿意花时间跟你讲细节的。
只有有需求的人,才会:
-
解释业务现状 -
对比同行方案 -
关注具体流程 -
问怎么落地
这些才是真信号。
你要做的,是识别“动机强度”,而不是被动接线索。
二、高质量线索标准 2:有预算、有资源,而不是“嘴上说有钱”
这一点最扎心。
不少销售花了一个月跟客户把方案规划得明明白白,最后客户一句话终结所有努力:
-
“你们这个价格超预算了,我们领导不同意。” -
B2B 里最难的不是客户没钱,而是你不知道他“能不能拍板用钱”。
如何判断?
要判断一个线索是不是具备预算能力,看以下几条最准:
1. 他敢不敢问价格
你会发现:
-
没预算的客户会绕着价格走; -
预算不够的会试探性询问“你们最低多少钱”; -
有预算的人会直接问“我们这种大概多少钱、怎么收费”。
2. 他的对比对象是谁
-
如果他说: “我们现在在对比某某头部厂商的方案。” 基本说明预算在那儿摆着。 -
如果他说: “我们想找便宜一点的。” 就别幻想了。
3. 有没有“项目负责人 + 财务/老板”同时出现
凡是财务、老板、运营负责人一起出现,通常不是闹着玩的。
B2B 有一个铁律: 越能接触到预算角色,线索越干净。
4. 愿不愿意告诉你预算区间
真有预算的客户会说:
-
“我们预算大概在 xx,能做吗?” -
“你报下你们方案的标准价,我们领导要核算。”
一句话: 不说预算的,80% 都是在拖。
三、高质量线索标准 3:决策链清晰,而不是“我帮你问问领导”
最怕听到的一句话就是:
“我先问下我们领导。”
只要听到这句,我心里都会自动划掉 50% 的成交概率。
因为:
-
你接触不到真正的决策者 -
信息无法直接传递 -
客户内部意见不一致 -
决策链过长,你根本无法控制节奏 -
最终输在“内部讨论结果不一致”
如何判断? 判断一条线索在决策上是否健康,有三个核心信号:
1. 你能不能触达真正的决策者
只要你接触不到老板/负责人/关键部门主管,这条线索通常都是“半吊子线索”。
不是说基层不能推动,而是最终拍板的人你不认识,那你永远都属于“被动推进”。
2. 客户是否明确告诉你:谁会参与决策
优质客户会很坦诚,比如:
-
“我们最终是运营总监和 CTO 拍板。” -
“这个项目需要我们三个部门一起看。”
劣质客户会含糊其辞:
-
“我先问问。” -
“我们内部再讨论一下。” -
“你先发个资料吧。”
3. 有没有真实的推进链路
比如:
-
“我们下周会内部开会讨论。” -
“我这边做个需求文档给你。” -
“你能周五给我一版优化方案吗?”
这些都是“推进行为”。
没有推进动作的线索,都是在原地踏步。
B2B 的本质不是“说服客户”,而是“推动组织”。
四、高质量线索标准 4:时间窗口明确,而不是无限期拖延
你一定遇到过这种客户:
-
“先放着,我们忙完再说。” -
“再看看吧。” -
“你们方案写得不错,回头我们会联系。”
这种线索实际上叫:无时间窗口线索(No timeline leads)。
几乎都是假需求。
如何判断? 判断时间窗口是否清晰,看三点:
1. 有没有具体的上线时间期望
比如:
-
“我们希望 2 月上线。” -
“这个季度把流程跑通。” -
“下个月我们要启用新团队。”
真有需求的公司,会给出时间要求。
2. 有没有内部里程碑
如:
-
评估 → 测试 → 决策 → 上线 -
需求确认 → 部门评审 → 预算审批
客户如果能说清楚内部节奏,线索价值基本成立。
3. 你的跟进频率是否由客户驱动
比如客户会主动说:
-
“下周请你来做一版 demo。” -
“我们这周要整理需求。” -
“领导要一份 ROI 评估。”
凡是客户主动 push 的,那是黄金线索。
凡是你一直 push 客户的,往往都凉了。
五、为什么你总觉得线索很“脏”?
因为缺了一套标准化评估方法。
很多企业都是这样:
-
线索来源杂 -
销售不愿筛 -
市场不愿丢 -
老板觉得多多益善 -
CRM 里全是“死人线索”
最后就是:
看着线索很多,实际上都是垃圾。
高绩效团队一定有一套标准化线索评估体系。
比如:
-
匹配度(Fit):客户是否属于目标行业与规模? -
需求强度(Need):痛点是否明确且迫切? -
预算能力(Budget):是否能支付你们的价格区间? -
决策链(Authority):能否触达关键角色? -
时间窗口(Timeline):是否有明确落地节奏?
只要按这套方法走,你会发现:
以前 100 条线索,可能只有 5 条是真的。
但那 5 条,才是你每个月的业绩来源。
六、优秀团队是怎么用系统把线索“洗干净”的?
现在不少企业不是没线索,而是没“线索分级、筛选、推进”的机制。
一些做得比较好的企业,会用 CRM 来做线索清洗,比如:
-
自动识别来源渠道(广告、官网、活动、推荐) -
按行业、规模自动匹配优先级 -
根据行为自动评分(如访问官网次数、提交表单行为) -
销售接单后必须按标准流程补全需求、预算、决策链信息 -
不符合条件的线索会自动打回市场池
像简道云 CRM 在这类场景里优势比较明显,尤其是以下几个能力,企业拿来就能用。
1. 自定义线索评分:让销售一眼看到值不值得追
不同企业判断好线索的标准都不一样。
有的看规模,有的看行业,有的看访问行为,有的看职位角色。
简道云 CRM 的优势就是:
这些评分规则都能自己设,不需要写代码,也不需要找厂商改。
比如你可以设:
-
行业匹配 = +20 分 -
有明确痛点 = +30 分 -
有预算 = +30 分 -
有决策权角色出现 = +40 分
评分越高,线索优先级越靠前。
销售不会再“凭感觉跟单”,而是按分值做优先级推进。
自己拖拽组件,设置公式和字段,就可实现评分机制。
2. 线索标签体系:自动给线索贴脸识别
很多 CRM 只能靠销售手动打标签,实际落地非常困难。 而简道云 CRM 支持:
-
自动打标签(按来源、行业、行为) -
手动补标签(销售补充信息)
例如:
-
来自官网 = 自动加“官网线索” -
访问价格页 = 自动加“高意向行为” -
来自活动报名 = 自动加“市场活动”
销售补充“预算明确 / 决策链清晰”等人工信息 标签越清晰,线索画像越干净。
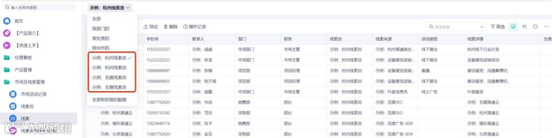
3. 多渠道线索自动归集:线索不再散落在各个角落
大部分企业线索散在:
-
企业微信私聊 -
官网表单 -
广告投放渠道 -
抖音/视频号咨询 -
线下活动扫码 -
同事转介绍 -
Excel 表格 -
邮箱问询
简道云 CRM 支持把这些入口统一接到一个线索池里,再自动标记来源渠道。
你不用再手动导数据、复制 Excel、来回传文件。 线索统一了,清洗才有基础。
4. 线索池、销售池、回收池三段体系:把“能跟的”留给能成交的人
不少企业线索质量不高,很大原因是—— 谁都可以捡线索,谁都可以乱拿线索。
简道云 CRM 可以直接落地“线索池机制”:
-
线索池:市场丢进来的新线索,未分类 -
销售池:已分配给销售的线索,有明确跟进责任 -
回收池:销售不跟、过期、无效、未补全信息的线索自动回收
好处非常明显:
-
销售拿到的都是“被筛过一轮”的 -
线索不会被人私藏 -
超时没跟进会自动回收 -
领导能看哪个销售处理最规范
这比传统 CRM 更贴中国企业的管理实际。
5. 线索清洗流程(企业可自己配置,无需开发)
大多数线索“脏”的原因只有一个:
销售不愿补信息,系统又不强制。
简道云 CRM 因为是低代码,可以让企业自己做一个“清洗流程”:
例如:
-
没填痛点不能转商机 -
没填预算不能推进 -
决策链没有角色说明不能进入下一阶段 -
线索打分没有达到多少分不能报给领导审批
**这些动作不是“提示”,而是流程强控。 **
你可以设:
“线索必须补全 A/B/C 三项关键字段才能流转到商机阶段。”
这样一来:
-
市场不再扔“半成品线索” -
销售也不能“糊弄系统” -
商机阶段的线索自然就干净了
企业的线索池从此变成“净水厂”,不是垃圾场。
简道云 CRM 在这个场景里的核心价值不是“帮你记线索”,而是:
用规则、评分、流程,把线索从“多但乱”变成“少但准”。
销售不会再陷入无效跟进,真正能把时间花在有成交价值的人身上。
七、写给销售的最后一句实话
我见过太多销售,天天埋头打电话、加微信、发资料、做 demo,但最后回头一看:
跟半个月的人,根本不具备成交基础。
线索不干净,你再努力也只是廉价劳动力。
可以从今天开始,把这四件事牢记于心:
-
有痛点的才是真需求 -
敢谈钱的才是真预算 -
能触达决策者的才有机会 -
有时间窗口的才有买意愿
你会发现,筛选掉 80% 的线索,你的业绩反而更稳、更快、更强。
因为真正赚钱的,永远是那 20% 的高质量线索。

