提示:点击↑上方"土木工程资源共享"关注加入
点我资料免费下
【重磅福利】
概述
钻孔灌注桩是采用不同的钻孔方法,在地层中按照要求形成一定形状(断面)的井孔,达到设计标高后,将钢筋骨架吊入井孔中,再灌注混凝土,成为桩基础的一种工艺。
图:钻孔灌注桩施工流程
1.1 施工准备
钻孔前应清除平台上的杂物,规划好桩机摆放位置、方向,钢筋笼堆放、吊车摆放位置,混凝土浇筑位置等。桩机钢管下要垫放一层枕木,防止桩机移位。
1.2 测量放样
测量班放出桩位中心点,施工队拉好护桩线。护桩设置的位置应保证不妨碍机械运作,避免护桩被破坏。
1.3 埋设护筒
护筒内径比桩径大30cm。护筒埋置采用履带吊配合振动锤,埋设深度根据现场情况确定(护筒穿过中砂层至砂砾层),护筒顶与平台面平齐;护筒顶面中心与设计桩位偏差不大于5cm,倾斜度不大于1%。
1.4 泥浆池
泥浆池采用相邻的桩基护筒,泥浆采用膨润土(或优质黄土)、烧碱、水泥等配置而成,通过桩机冲锤上下冲击自然造浆。
表:泥浆性能指标表
图:泥浆循环
1.5 测量复核
护筒埋设完毕之后;现场技术员使用水准仪测量护筒顶标高;通知测量班复核护筒是否居中。
1.6 填写钻孔桩施工标识牌
现场技术员计算应钻孔深并填写钻孔桩施工标识牌。
1.7 开钻前检查
检查冲击锤直径、重量是否满足桩基施工需求(钻头采用带球弧面的梅花型钻头。钻头直径一般比桩径小80~100mm);钻机安装的位置是否正确(起重滑轮前边缘、钻头中心、桩中心在同一竖直线上,竖直线与桩中心的偏差应控制在20mm以下)。
图:钻机位置
1.8 开钻
开始钻进时,进尺应适当控制,在护筒刃脚处,应短冲程钻进,使刃脚处有坚固的泥皮护壁。待钻进深度超过钻头全高后方可以正常速度钻进。在钻孔期间应由施工队做好钻孔记录,留取渣样,现场技术员每天进行检查,并查看钻渣情况是否与设计相吻合,定期检查钻孔是否斜孔、测量锤头的直径。
1.9 钢筋加工场加工钢筋笼
表:钻孔桩钢筋骨架允许偏差
1.10 成孔检查
成孔后,技术员用水准仪复测护筒标高并及时查看是否达到桩长。用测绳测孔深并用50m钢尺对测绳进行标定看是否准确。无误后由项目质检工程师报总监办进行成孔检测。
表:钻孔桩(摩擦桩)钻孔允许偏差
1.11 第一次清孔
在成孔后将钻头提升到距孔底30-50cm,然后用大泵量进行第一次清孔,直至各项指标符合要求再进行下一道工序。
表:清孔合格指标
1.12 下放钢筋笼
通知钢筋加工场运送钢筋笼至施工现场。钢筋笼安装采用汽车吊。下钢筋笼前应先下放探孔器检查成孔情况,检查合格后下放钢筋笼。
图:探孔器、焊接钢筋笼
1.13 钢筋笼上端定位
钢筋笼最上端的定位必须由测定的护筒顶标高来计算吊筋的长度,并反复核对无误后再焊接吊筋。在钢筋笼中心平面与桩中心偏差控制在20mm内,骨架顶端高程允许误差控制在±20mm之间。
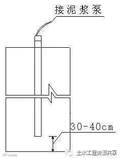
1.14 安装导管并二次清孔
灌注混凝土采用内径为300mm的钢导管灌注;导管使用前应进行水密承压以及接头抗拉试验,桩孔底到导管底的间距一般控制在30-40cm。导管安装完毕后,进行二次清孔。二次清孔完成后,检查沉渣厚度及泥浆比重等指标,合格后准备灌砼。
表:清孔合格指标
图:导管安装
1.15 灌注混凝土
通知拌合站及试验室发送混凝土。首批灌注的混凝土方量应能够满足导管首次埋置深度1m以上的需要。在灌注过程中;导管埋置深度应控制在2-6m,随时用测绳检测孔内混凝土面的位置,及时调整导管的埋深。混凝土浇注厚度应比设计值多出0.5m以上,以保证桩头混凝土的质量。
导管应埋深控制在2到6米之间。
图:及时拆卸导管
首批灌注混凝土所需数量计算方法:
V≥(H1+H2)∏D2/4+∏d2 h1/4 式(1) h1=HWRW/RC 式(2)
式中:
V——首批灌注混凝土所需数量;
D——桩孔直径
H1——桩孔底到导管底端间距;
H2——导管初次埋置深度;
d——导管内径;
h1——桩孔内混凝土到达埋置深度H2时,导管内混凝土柱平衡导管外压力所需的高度;
HW——孔内水或泥浆的深度;
RW——孔内水或泥浆的重度;
RC——混凝土拌合物的重度。
二、常见问题处理
(1)各项技术指标均符合或严于国家标准、规范、规程和“工程建设标准强制性条文"的要求。
(2)工程设计先进合理,功能齐全,满足使用要求。
(3)地基基础与主体结构在全寿命周期内安全稳定可靠,满足设计要求。
(4)设备安装规范,安全可靠,管线布置合理美观,系统运行平稳。
(5)装饰工程细腻,观感质量上乘,工艺考究。
(6)工程资料内容齐全、真实有效、具有可追溯性,且编目规范。
2、积极推进科技进步与创新
1、问题类型:塌孔
原因分析:
a.升、下落冲锤或放钢筋骨架时碰撞孔壁。
b.护筒埋置太浅,冲孔震动导致中砂层或砂砾层发生塌孔。
c.未及时向孔内加泥浆;孔内泥浆面低于孔外水位,或孔内出现承压水降低了静水压力,或泥浆比重不够。
d.在中砂层、砂砾层、圆砾层中进钻,进尺太快或停在一处停转时间太长。
预防和处理方法:
a.提升、下落冲锤或放钢筋骨架时保持垂直上下,严格控制晃动幅度。
b.根据桩位处的地质情况,选择合理的护筒埋设长度,以穿过中砂层,进入砂砾层或振动锤无法打进为控制标准。
c.钻进中及时添加原料不断造浆,使其高于孔外水位。
d.控制泥浆比重,在中砂层、砂砾层、圆砾层采用不同的进尺速度。
e.轻度坍孔,加大泥浆密度,加入水泥加强护壁;严重坍孔,用优质黄泥投入,待孔壁稳定后采用低速钻进。
2、问题类型:桩位偏斜
原因分析:
a.桩架不稳,钻机磨损,部件松动。
b.支垫不稳固,在冲孔过程中,桩机发生移位。
c.成孔时,遇较大卵石或探头石,或在粒径悬殊的砂卵石层中钻进,冲锤所受阻力不匀。
预防措施与处理方法:
a.安装桩机时,要对桩机进行水平和垂直校正,不同地层要控制进尺,及时变化冲击高度。
b.偏斜过大时,填入石子粘土重新冲进,控制冲击高度,往复冲孔纠正。
3、问题类型:不进尺或进尺过小
原因分析:
a.钻头粘满粘土块(糊钻头)。
b.排渣不畅。
预防措施与处理方法:
a.加强排渣。
b.降低泥浆密度,加大配重。
c.糊钻时,可提出钻头清除泥块后再施钻。
4、问题类型:钢筋笼偏位、变形
原因分析:
a.钢筋笼过长,未设加劲箍或加筋骨间距过大,刚度不够,造成变形。
b.钢筋笼上未设耳环来控制保护层的厚度。
c.桩孔本身偏斜或移位。
d.钢筋笼吊放未垂直缓慢放下,而是斜插入孔内。
e.孔底沉渣未清理干净,使钢筋笼达不到设计深度。
预防和处理方法:
a.钢筋过长,分节制作,分段吊放,分段焊接。
b.在钢筋笼部分主筋上,应每隔一定距离焊接耳环,控制保护层的厚度。
c.桩孔本身偏斜、移位,应在下钢筋笼前往复扫孔纠正。
d.孔底沉渣应充分清孔,控制沉渣厚度,。
5、问题类型:吊脚桩
原因分析:
a.清孔后泥浆密度过小,孔壁坍塌或未立即浇筑砼,沉渣过厚。
b.清孔不彻底,残留泥渣过厚。
c.吊放钢筋骨架、导管等物碰撞孔壁,使孔壁坍落孔底,并未进行处理。
预防和处理方法:
a.做好清孔工作,达到要求后立即砼浇筑。
b.注意泥浆密度和使孔内水位经常保持高于孔外水位0.5m以上。
c.施工中注意保护孔壁,不让重物碰撞,造成孔壁坍塌。
d.浇筑混凝土前,应再次确定沉渣厚度及泥浆指标
3、助力2018安全生产月,这100份安全资料合集值得入手(可下载)
以上均为网上收集整理。

加入我们
投稿展示或者分享资料
一起交流一起成长
扫一扫下方二维码,灵感即刻进

官方微信或qq:483972950
官方qq群:343778875 或648915172
规范图集下载群:61754465
官方微信群需要加官方微信即可进入!
技术交流、资料分享、特权权益服务尽在公众号、微信群、qq群,详情请咨询官方微信和qq!如果群里有其他人向你兜售等不法行为,请千万不要相信上当受骗,请认准我们官方微信和qq!
点个“好看”,新年鸿运当头!

























