随着工程技术的日新月异,基坑支护方式也得以技术更新和发展。泰宏建设发展有限公司在工程项目中创新应用,基于工程深基坑支护特点和所处地区地质条件,应用“地下连续墙‘两墙合一’+预应力鱼腹梁组合支撑”体系,我们一起来现场看一看这项新型的基坑支护工艺。
本工程基坑宽75.6m,长109.2m,最深17.46米,围护结构800mm厚钢筋混凝土地下连续墙作为挡土、止水结构+三道预应力鱼腹梁钢支撑,地下连续墙施工深度39.9米,同时作为地下室外墙(两墙合一)使用。水平支撑系统包括预应力鱼腹梁、对撑、角撑、腰梁和连接件等,竖向支撑系统包括立柱和连接件。

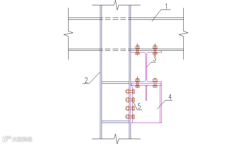
1—对撑杆件;2—八字撑杆件;3—预应力装置;4—连接件;5—角撑杆件;6—鱼腹梁;7—腰梁;8—立柱;9—盖板;10—系杆;11—托梁:12-地下连续墙
“地下连续墙‘两墙合一’+预应力鱼腹梁组合支撑”体系平面布置图

1—下弦钢绞线;2—桥架;3—直腹杆;4—连杆;5—连接件;6—上弦梁;7—锚具
SS型预应力鱼腹梁平面布置图
利用Rrevit软件创建鱼腹梁钢支撑BIM模型,并对安装工艺进行模拟施工,针对复杂节点进行三维技术交底,指导现场施工。
预应力鱼腹梁组合支撑BIM模型
立柱施工前先进行定位复核,施工放样(小样桩)采用坐标法,装订标高误差控制在+2cm左右。

立柱施工前先进行定位复核,施工放样(小样桩)采用坐标法,桩顶标高误差控制在+2cm左右。钢牛腿必须确保三处连接部位牢固可靠,有足够的稳定性,不得出现歪扭、虚焊现象,在焊接的过程中委派测量技术人员全程对牛腿的垂直度、标高、水平度等进行监控。


腰梁安装遵循“先长后短、减少将诶头数”的原则,随支撑架设顺序逐段吊装,人工配合吊机将钢腰梁安放于牛腿支架上,腰梁连接和搭接部位使用摩擦型高强螺栓紧固连接。

托座安装必须严格控制顶面水平标高,通过摩擦型高强螺栓与立柱连接。


1-支撑;2-立柱;3-托梁;4-托座;5-螺栓或焊接
鱼腹梁安装按照设计跨度在地面进行预拼,确保螺栓紧固达到设计及规范要求。预拼完成后整体起吊摆放在支撑牛腿上,支撑起吊两端由工人牵引,确保支撑整体稳定,且安装到位。

预应力鱼腹梁结构

高强螺栓紧固

鱼腹梁吊装

鱼腹梁安装效果
鱼腹梁安装就位后,按照设计安装钢绞线,钢绞线左右对称安装,现场施工时除设计规定外,需增设钢绞线数量作为工程应急安全储备。张拉应力值符合设计要求,张拉伸长率控制(%)±6。

角撑、对撑与腰梁之间有夹角,不易直接安装并施加预应力,安装前先在地面进行预拼接并检查预拼后支撑的顺直度,要求拼接支撑两头中心线的偏心度控制在2cm之内,经检查合格后按部位进行吊装就位。角撑、对撑预拼过程中,各构件通过高强螺栓连接牢固,所有加载横梁放置空挡中使用相对应厚度的钢板垫紧贴紧,防止支撑体系受力后整体发生偏心。

1、托梁;2、立柱;3、加载横梁;4、保力盒;5、H型构件;6、连接件

三角件吊装

对撑吊装

对撑施工效果

角撑安装施工
传力件是连接腰梁和支挡结构的辅助件,传力件与围护的后置埋件及钢构等的焊接应逐层累焊至填满坡口,每道焊缝焊完后,都须清除焊渣及飞溅物,做到丰满牢固;焊接传力件时不得在装配式钢构件的母材上打火引弧。

传力件安装效果图

1、H型构件;2、传力件;3、钢牛腿托架;4、地下连续墙

各构件布置完毕后,对各部件螺栓的连接紧固、腰梁与围护体系的连接状态进行检查,检查验收通过后,按以下程序施加预应力:先加压对撑、再张拉鱼腹梁、最后加压角撑。

千斤顶在加载横梁之间施加压力

放入保力盒、螺栓固定

对撑预应力施压施工图


角撑加压伸缩装置及加压施工图


鱼腹梁钢绞线施加机理


钢绞线张拉
随着新安装的支撑预应力的施加,相邻的已经安装好的支撑应力可能会减少,根据设计要求进行复加预应力。同时,随着基坑的开挖,墙体水平位移会越来越大,根据监测当水平位移率超过警戒值时,要适量对钢支撑体系进行预应力补张拉,以控制基坑变形,确保基坑稳定。

后期钢支撑体系补张拉

垫板结构图及加工图
项目部通过运用BIM技术,进行三维交底、施工模拟,明确施工程序和方法,并通过过程操作要点的严格控制,提高了施工效率,和质量,经对第一道支撑检查全部满足质量标准。第一道预应力鱼腹梁支撑安装完毕后,小组从预应力、支撑挠度、平面位置、标高、平整度、螺栓连接质量等对系统进行检查,绘制了预应力鱼腹梁钢支撑质量检查统计表如下表所示:

预应力鱼腹梁钢支撑安装质量检查统计表
延伸收看:
往期对于这种新型基坑支护方式的案例介绍
在传统的基坑工程中,我们常见的的围护结构支撑方式是这样的:纵横交错的混凝土或钢结构内支撑,导致挖土施工空间小,安装拆卸又费力费时……
传统内支撑安拆及施工不便
我们在江阴城建南门商业街区项目上,见识了一种新型的基坑围护结构支撑方式:预应力鱼腹式钢支撑体系,它的施工现场是这样子:

预应力鱼腹式钢支撑工地全貌

预应力鱼腹式钢支撑工地局部
直观对比之下,这种新型的支撑方式给我们的第一感觉是:支撑杆件很稀疏,挖土施工空间非常大;支撑用料少且为标准件,方便安拆且可回收周转……

同一项目两种方案的施工空间对比
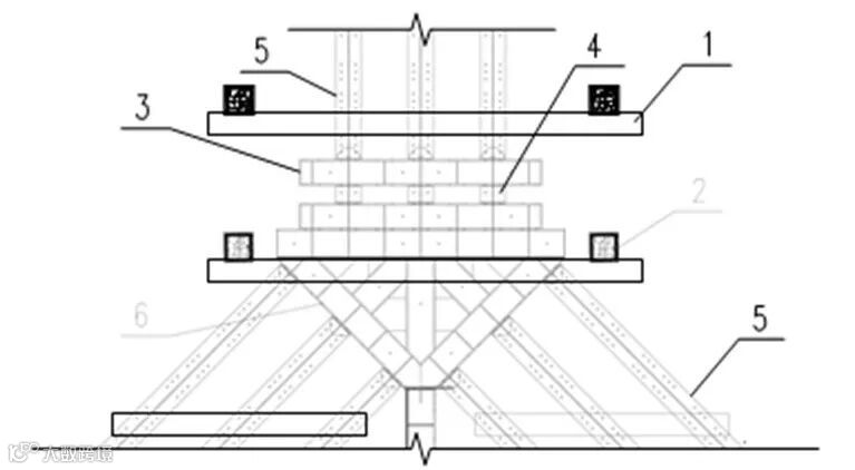
我们来看整体示意图,支撑体系结构由四大构件组成:① 腰梁、② 鱼腹梁、③ 对撑/角撑、④ 立柱,以及构件之间和内部的连接件。

整体示意图
之所以称之为“预应力”支撑体系,是因为整个结构是通过施加预应力来抵抗基坑围护的受力变形,我们来看一下受力示意图:对撑/角撑通过千斤顶和保力盒施加预压力,鱼腹梁通过钢绞线施加预拉力,抵抗了基坑围护的侧向压力。

受力示意图
接下来我们就深入现场并结合图纸来剖析一下这四大构件的具体组成。
1 腰梁


H型钢腰梁:通过螺栓沿着基坑周边冠梁连续设置,承载两侧压力
托架:设置在腰梁下方,连接围护桩体及腰梁,起到支撑作用
2 鱼腹梁


直腹杆、斜腹杆:形成一个桁架结构,用于转递钢绞线与腰梁之间的力
3 对撑/角撑


加压横梁:垂直于支撑方向,横梁之间通过千斤顶对支撑加压
保力盒:千斤顶施压之后用保力盒塞进加压横梁,保持轴向预应力
盖板:在拼接节点处设置,加强对撑的薄弱部位以形成整体
系杆:在相邻盖板间设置,提供侧向约束提升整体稳定性
4 立柱


在现场我们还看到,该项支撑体系除了开篇提到的挖土空间大、用料少可回收优点之外,由于自身采用全自动连续监测系统,可以通过动态施加预应力,更加有效地控制基坑变形。

1、史上最全市政工程竣工资料归档内容整理,这个必须收藏!
2、超全面的施工单位报验资料全集,值得收藏!
3、建筑资料员的辛酸,看下女汉子是怎么说的;
4、验收资料,建设监理签字用语规范大全,收藏备用!
5、从资料员到工程师的打怪升级之路,值得一看!
6、验收资料,监理签字用语规范大全,就是这么专业!
7、监理从开工至竣工,需要收集整理哪些资料?
8、40条工程资料审批意见,史上最标准版!
9、基础及主体结构验收的这些资料,记得要准备好!
10、工地施工资料不会做?看这里,做资料不在迷茫!
11、工程部资料归档、保管、移交、整理……超齐全;
12、检验批的划分、容量及抽样总结!附76个常用检验批验收表!
13、安全内业资料最强总结,看完就用!
14、超牛!看资料员新手怎样做出一项漂亮的工程资料!
15、资料员、施工员、技术员请注意!三分钟搞懂施工技术资料编制重难;
16、合格资料员的4个阶段工作流程,有了它做起来事半功倍
17、建筑工程现行常用施工质量验收规范汇总-每一位建筑工程从业者的必备工具!