提示点击↑上方"土木工程资源共享"关注加入
点我资料免费下
【重磅福利】
一、砌筑材料要求
1、加气混凝土砌块厂家的要求
年生产能力大于20万立方米,堆场堆放能力1万立方米以上,供应商必须有比较严格的质量管理体系。
生产工艺和设备必须比较先进和现代化:原材料质量可靠、配料必须有电脑严格控制,有六面切割的自动化切割设备,蒸压养护设备有可靠的压力和温度供给和控制。
2、加气块材料标准
必须达到或超过规范要求的合格品标准(砌块按尺寸偏差与外观质量、体积密度和抗压强度可分为三级:合格品[C]、一等品[B]及优等品[A])。
3、砌块的尺寸允许偏差和外观质量应符合下表的规定

所有砌块应附有出厂合格证,并应对外观质量、尺寸偏差、强度等级进行进场复检。
加气砼砌块的出厂龄期不得少于28天。加气砼砌块进入现场堆放防雨养护时间必须不少于15天。
不得使用龄期不足、浸水或表面被污染的砌块。
4、几何尺寸和外观
1)主控技术参数:
立方体抗压强度外墙≥5.0MPa,内墙≥3.5MPa
干体积密度为7 KN/M3
干燥收缩值:≤0.80mm/m [快速法:温度为50±1℃,相对湿度为(30±2)%]。(提供检测报告)
放射性达标(提供检测报告)
耐火性和隔声性、隔热性较好
握裹力:Ф6MM膨胀螺栓>100KG
二、基本工序流程
清理基层→施工放线→绘砌块排列图、立皮数杆→预埋拉结筋→墙底坎台施工→选砌块(按砌体类型浇水湿润)→满铺砂浆或粘结剂→摆砌块→(圈梁或配筋带施工)→(安装门窗边预制砼块)→摆砌块→安装门窗过梁→浇灌构造柱→技术间歇不少于7天→砌筑顶部配套砌块(或灌细石混凝土)→挂加强网。
三、基本工艺要求
1、墙体砌筑前,应检查基础、防潮层或楼板等基层,砌筑位置表面应平整(否则应提前一天找平)、清洁,不得有污染、杂物,并按设计图放出墙体轴线、边线、洞口线。
2、砌筑前,应检查主体结构上预留拉结钢筋的数量、长度和位置,预留各类管线位置、给水管出口和开关插座的定位是否符合设计要求,不符合要求者应及时调整、补充。
3、墙体施工前应据墙体及其门洞、窗洞的尺寸、砌块规格与砌块上下皮竖向灰缝错缝搭砌长度的要求按照已绘编砌块排列图执行,以确保砌体组砌合理有章可循。砌块排列:要求整齐且有规律性,避免通缝,应以大规格砌块为主砌块,使其占砌块总数的70%以上。辅助砌块最小长度不应小于100mm。砌块排列应上下错缝,搭接长度不宜小于被搭接砌块长度1/3。门窗过梁搭砌部位应为整砖。
4、非承重砌体应分次砌筑,每次砌筑高度不应超过 1.5m,墙体砌筑完毕,间隔7天进行顶砖施工;顶砖施工完毕,间隔14天进行墙面抹灰。
5、施工时,应采取措施防止施工用水、雨水对墙体造成的冲刷和淋泡。
6、砌筑时需在砌筑面适量浇水以清除浮灰,表面湿水深度宜为5~10mm,目的为了保证砌筑砂浆的强度及砌体的整体性。
7、对破裂和不规整的砌块可切割成小规格后使用,切锯时应使用合适工具,不得用瓦刀凿砍。设计要求或施工所需的洞口、管道、沟槽和预埋件等,应在砌筑时预留或预埋。不得用锤斧剔凿,应使用合适的开槽工具(便携无齿锯、高速旋转锯)。管线埋设应在抹灰前完成。直径大于100mm的砌体孔洞应预留或预埋,不得随意开凿,孔洞周边应有可靠防裂、防渗措施。
8、砌体转角处和丁字交接处、预埋暗管、暗线处、开关插座、给水管出水口及墙顶砌块砌筑处,宜采用配套砌块。窗间墙宽度小于600时,应采用小砖砌筑。
9、现场拌制砂浆时应采用机械搅拌,在出现泌水现象时应重新拌和。砂浆应在规定的保塑时间内使用完毕。严禁不同品种砂浆混存混用。
10、砌筑墙端时,砌块与混凝土墙、柱之间的竖缝须用砌筑砂浆填实。
11、砌体的灰缝应控制在8~15mm,应饱浆粘结,水平灰缝其饱浆率应≥90%, 竖向灰缝饱浆率应≥90%。不允许存在通缝、假缝、盲缝。随砌随勾缝,可用Φ12 钢筋或PVC线管将灰缝勾成深 1~3mm 的凹缝。
12、不同材料基体结合处、暗埋管线孔槽基体上、抹灰总厚≥ 35mm 的找平层应挂加强网;挂网的材料采用镀锌钢丝网。挂镀锌钢丝网规格为10×10×0.6mm,不应有油污或锈斑;挂网前将结合处、孔槽、洞口边等部位应填实抹平;混凝土墙可用射钉固定,砌块墙可用钢钉固定,也可采用膨胀螺栓、粘胶保温钉等方式;固定钉间距≤400mm;钢钉宜钉在灰缝中;固定后钢网应平整、连续、牢固,不变形起拱;网材与基体搭接宽度不应小于100mm;钢丝网必须置于抹灰层内,严禁外露
13、不得在下列墙体或部位设置脚手眼:
a、厚度小于及等于120mm的墙及外墙;
b、过梁上与过梁成60度角的三角形范围及过梁净跨度1/2的高度范围内;
c、宽度小于1m的窗间墙;
d、砌体门窗洞口两侧200mm和转角处450mm范围内;
e、梁或垫梁下及其左右各500mm范围内。
14、砌体砌筑工程完工后,应由专人检查验收,并宜在墙上标出操作人和检查人的姓名或工号,施工单位验收前分两次自检,第一次为顶砌砖以下墙体砌筑完成2个小时以内,发现垂直度平整度超过规范要求的立即拆除,第二次为顶砌完成后,主要保证顶砌砖和大面墙的平整度。
15、在砌筑墙体的施工过程中,项目部应通知CL30添加剂供应商每个月对所砌筑的墙体其灰缝部位作出实体抽芯及拉拔检测。检测的内容包括:砌体灰缝部位饱浆率、胶粘强度与粘结的破坏形式。每500㎡建筑面积为一砌体检测批量,每一检测批量将在砌体中抽取6件芯样,其中50﹪的芯样即时在现场以锤击方式作破坏性检测,余下50﹪的芯样用专用仪器以拉拔方式检测其胶粘强度。
四、砌筑工程构造节点
1、导墙
厨房、卫生间等有防水要求的墙体需要设置C20素混凝土导墙作为挡水坎,其它无防水要求的内隔墙设置实心砖或灰砂砖导墙。
混凝土挡水坎高度不小于200mm,宜采取与结构楼面板同时浇筑,确有困难的,作为二次结构浇筑挡水坎前,要清理和凿毛地面、墙面。
混凝土挡水坎模板应固定牢靠。



外门窗框预制块

砌体墙空调孔


现浇窗台板

洞口过梁设置
2、拉结钢筋
1)砌块墙与承重墙或柱交接处,应在承重墙或柱的水平灰缝内预埋拉结钢筋,拉结钢筋沿墙或柱高每600mm左右(与砌块模数相同)设一道,每道为2根直径6mm的钢筋(带弯钩)。
在砌筑砌块时,将此拉结钢筋伸出部分埋置于砌块墙的水平灰缝中,有拉结钢筋处水平灰缝厚度应比拉结钢筋直径大4mm。拉结筋采取预埋方式设置,砌筑前需检查拉结钢筋数量及位置,对于不准确或缺漏的拉结钢筋,施工单位可按照实际排砖位置钻孔(深度100mm以上),孔洞应采用专用的钢丝刷,配合压缩空气清理干净,再采用植筋胶进行植筋,后植的拉结钢筋其抗拉强度应≥2.0KN;

2)内、外墙的拉结和转角
内墙转角处和内外墙纵横交接处,应沿墙高每隔600mm设置拉结钢筋。外墙阳角应设置构造柱。
砌体转角处和丁字交接处,宜采用配套砌块砌筑。当采用普通砌块砌筑时,砌体转角处应隔皮纵、横砌块相互搭砌,且应使横墙砌块隔皮端面露头。
砌体的转角和纵横墙交界处应同时砌筑。需留置临时间断处,施工缝应留成斜槎,斜槎水平投影不应小于砌体高度。
如留槎有困难,须沿高度每600mm内设2Φ6拉结钢筋,钢筋伸入墙内每边不应小于1000mm。
当填充墙为100mm厚时,拉结筋采用1Ф6。

转角墙拉结筋

内外墙拉结筋
3) 上下皮砌块竖向灰缝应错开,错开长度宜为300mm,并不应小于 150mm。如不能满足要求,应在水平灰缝处设置 2Φ6 的拉结钢筋,拉结钢筋长度应不小于 700mm。但竖向通缝仍不得超过两皮砌块。


3、圈梁
如下部位应设置圈梁:
a、自由端的墙体顶面。
b、高度超过4m的墙体。
c、其它设计及规范要求设置圈梁的部位。
构造做法:
截面宽度应与墙厚相同;圈梁的截面高度不应小于200mm,配筋带的截面高度不应小于100mm;圈梁的纵向配筋不宜少于4Φ10,箍筋不宜少于Φ6@250。

4、窗台配筋带
如下位置应设置窗台配筋带:
外窗洞下口。
构造做法:
浇筑宽与墙厚相同、高度不小于120mm、长度每边伸入墙内不少于300mm(不足300mm时通长设置)的混凝土窗台板,已设钢筋混凝土凸窗套或窗台板者除外。窗台板为C20混凝土,内配2Φ10主筋。
5、过梁
如下部位应设置过梁:
a、跨度大于0.6m的门窗洞口的顶面。
b、洞口的上部砌体高度小于洞口跨度1/2时。
c、其他设计及规范要求设置过梁的部位。
构造做法:
a、外门窗口宽度小于 600mm 时,可采用 30mm 厚 M10 水泥砂浆内设 2Φ8 的钢筋过梁,钢筋应埋入砂浆中,锚入洞口两边砌体不小于250mm。
b、外门窗洞口宽度大于 600mm 时(包括临时施工·洞口),应设置钢筋混凝土过梁,过梁的截面尺寸、配筋、支座长度应根据洞口宽度按设计要求采用。
c、当采用预制钢筋混凝土过梁时,支座处砌体顶部应找平,安装时应坐砌砂浆。洞口过梁搭接长度不小于250mm。


6、构造柱
如下部位应设置构造柱:
宽度大于2m的洞口的两侧。
长度超过2.5m的独立墙体的端部。
当墙体长度超过5米时,应在墙体中间设置构造柱。
外墙的阳角应设置构造柱。
其它设计及规范要求设置构造柱的部位。
支承在悬臂梁和悬臂板上的墙体,应设置钢筋混凝土抗裂柱。
构造做法:
构造柱的截面尺寸不应小于墙厚×200mm,混凝土强度等级不应低于C20。
构造柱的纵向钢筋不应少于4Φ10,也不宜大于4Φ16;箍筋宜采用Φ6@200。顶部钻孔后按规范植筋,与下部钢筋焊接,焊缝应符合规范要求。
构造柱应与楼层圈梁或基础梁锚固。
构造柱与墙体连接处的砌体宜错位砌筑,错位宽度宜为50mm。
必须先砌墙,后浇构造柱。



7、门窗洞口

备注:
1) 混凝土块宽度同墙厚,高度应与砌块同高或砌块高度的1/2且不小于100mm,长度不小于200mm,最上部(或最下部)的混凝土块中心距洞口上下边的距离为150~200mm,其余部位的中心距不大于400mm,且均匀分布。
2)严禁采用预埋木砖固定门窗。对于内墙门窗浇注完构造柱,墙体剩余宽度不足400mm的,墙体可采用灰砂砖或水泥砖进行墙体砌筑(不设构造柱)。
3)当门洞墙垛的宽度小于200mm时,应做构造柱或用水泥砖或灰砂砖砌筑:小于10cm宽门窗垛浇注构造柱,并与主体墙柱同时浇注;10cm-20cm宽门窗垛采用水泥砖砌筑。
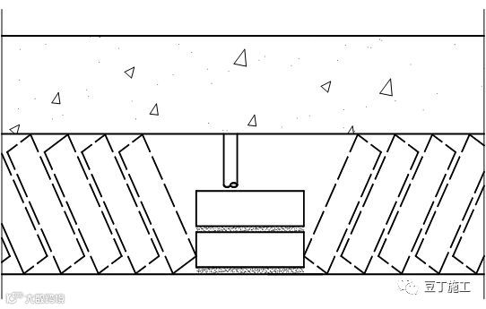
8、砌体墙顶砌
非承重砌体顶部应预留空隙,再将其补砌顶紧。补砌顶紧采用以下方式:
砌体顶部预留 200MM左右空隙,用配套混凝土砌块斜顶砌筑,在45-60度斜顶砌筑时逐块敲紧,与框架梁底挤实,填满砂浆;顶砖位置应按模数预留;不合模数时,应用配砖补砌;在有预留管线、墙体转角、顶砖对接等端头处,应预先砌筑至少两皮砖高的挡砖。如图:




斜顶砖图示

9、其它构造
1)墙面水平方向凹凸部分(如线脚、雨罩、出檐、窗台等),应做泛水或滴水,以避免积水。
2)墙与零配件的联结(如门、窗、附墙管道、管线支架、卫生设备等)应牢固可靠。如用铁件作为打入或穿过砌体的联结件时,应有防锈保护措施。
3)墙体洞口宽度一般不得大于2.4m。当大于2.4m时,应采取加强措施。
4)砌体内墙上需吊挂设备和重物时,应在设计时事先考虑加固,留设预埋件。当砌筑完毕后确需在未留设预埋件的位置吊挂重物时,应采取有效的加固措施,如采用穿墙螺栓。对于后加的螺栓和支撑应符合强度和耐久性要求,并做好防水、防锈处理。
5)阳台栏板、女儿墙等砌体应采用强度等级MU10以上的实心砖及强度等级不低于M5 的水泥砂浆砌筑,外墙面水平凹凸装饰线,如飘檐、窗帽窗台等应用实心砖砌筑,并做好防裂、防渗漏措施。
6)地面以下或防潮层以下的砌体一般应采用MU10 以上的实心砖砌筑。
五、砌筑阶段双线控制法
设置方法及流程:
1、双线控制法:(控制线离墙边300mm)
砌筑放线双线控制——控制线阴阳角红漆标注——砌筑完毕将控制线上反至墙体——贴灰饼——室内抹灰
2、十字线控制法:
外墙贴灰饼找方——依据外墙灰饼或抹灰面或轴线设置室内十字线——依据十字线设置方正度控制线——控制线阴阳角红漆标注——将控制线上反至墙体——贴灰饼——室内抹灰




六、检查方法及允许偏差
1)房间方正度允许偏差为10mm。
2)采用激光测距仪或者钢尺测量每道墙面的两端部位与控制线之间的距离,分别记录为A1与A2、 B1与B2、 C1与C2、 D1与D2,至少八个点;每组数据之间的差值(如A1-A2)在6mm以内,视为合格。
3)项目部(抽检10%)、监理(抽检30%)、总包(100%全检)联合建立房间方正度分户档案。


12、检验批的划分、容量及抽样总结!附76个常用检验批验收表!
15、资料员、施工员、技术员请注意!三分钟搞懂施工技术资料编制重难;
猜你喜欢:
3、助力2018安全生产月,这100份安全资料合集值得入手(可下载)
加入我们
投稿展示或者分享资料
一起交流一起成长
扫一扫下方二维码,灵感即刻进
官方微信或qq:483972950
官方qq群:343778875 或648915172




