点击“蘑菇云创造”关注我们
本节课源自《义务教育信息科技教学指南》八年级 “物联网实践与探索” 中的第 25 课 “学习探究新工具”。课程内容主要聚焦于热水温度传感器 DS18B20 的使用方法。同学们将通过行空板 K10 探究热水降温规律系统,探究同种材质在不同状态下,以及不同材质的热水降温规律,并选择一组对照实验作为研究方向。实验过程中,大家将采集相关数据,借助物联网平台 Siot,运用 Mind + 的可视化面板,将数据转化为直观的图表。通过这些图表,我们便能更清晰、直观地得出实验结论。
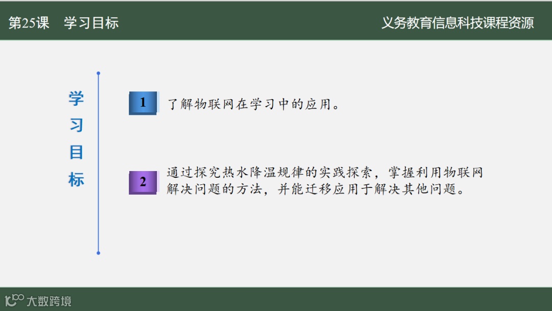
任务目标
智能终端采集数据,并传输到 SIoT 平台
知识目标
1、 学习搭建物联网系统
2、了解物联网数据可视化平台
硬件清单
软件使用
Mind+编程软件
1.软件压缩包下载:
* 网页下载:https://download3.dfrobot.com.cn ... 0_test_20241012.zip
* 百度网盘下载:https://pan.baidu.com 提取码: 17d6
* 夸克网盘下载
2.将压缩包解压,注意解压过程中关闭杀毒软件,解压后文件夹路径不含中文,解压后文件夹路径不宜过长
3.打开解压后的文件夹,找到 Mind+.exe,双击打开
4.若编译任何代码都报错,建议在解压时将所有后台的杀毒软件退出,将解压出的文件夹放到 C 盘根目录,文件夹的名字改为"win-ia32-unpacked20241012"。文件夹中的 exe 文件,不可直接拖到桌面,要右键-发送到桌面快捷方式。
注意:请下载最新Mind+编程测试软件,否则“防水18B20温度传感器 ”可能没有。
动手实践
接下来一起动手完成今天的课程任务吧。我们将从行空板 K10 温湿度的读取开始,逐步学习如何在行空板 K10 上设计一个测试热水降温系统。
任务一:数据采集传输
利用行空板 K10 和18B20温度传感器采集玻璃杯带盖和不带盖热水的温度数据,并将数据传输到 SIoT平台上。
任务二:物联网数据可视化设计
实现数据可视化,将 SIoT 平台的数据实时更新在Mind+可视化面板上,并对界面进行合理的美化设计,从而得出实验结论。
01
任务一:数据采集传输
1、 硬件搭建
将防水18B20温度传感器 连接到K10,确认使用USB连接线将行空板K10连接到计算机。
2、 软件准备
确认已打开Mind+,在Python图形化模式下出现预设代码,成功加载行空板。接下来就可以编写项目程序了。
*网络连接(详细操作https://mc.dfrobot.com.cn/thread-323104-1-1.html)
需要注意,行空板连接的 WIFI 要与我们的电脑 WIFI 保持一致。服务器地址的获取(使用豆包AI:如何获取笔记电脑IP)
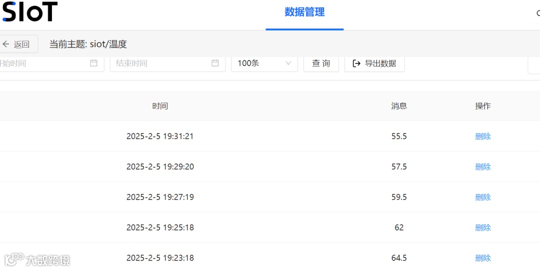
MQTT 连接成功后,我们在电脑浏览器访问 192.168.1.13:8080 网址,在打开的网页中,账号输入 SIoT,密码输入 dfrobot,即可进入 SIoT 物联网平台。
创建主题并传输数据,进入 SIoT 平台后,我们点击新建主题,新建“温度”,“温度2”。
数据采集传输的模块完整代码如下图:
运行程序之后,在行空板 K10 可以看到相关参数显示在屏幕上,同时,在 SIoT 平台上,可以看到数据在不断的传输。
02
任务二:物联网数据可视化设计
*详细过程参考任务三
https://mc.dfrobot.com.cn/thread-323104-1-1.html
这一部分我们主要设计数据可视化,将 SIoT 平台的数据实时更新在Mind+可视化面板上,并对界面进行合理的美化设计。需要注意的是可视化面板topic的选择。最终效果如下图所示
使用行空板K10测试不锈钢水杯的不同状态,得出如下图表:
通过两组对照试验得出结论:体积相同,外界温度相同,水杯的直径形同,相同材质水杯不同状态下,加盖水杯降温慢,不加盖水杯降温快;不同材质的玻璃杯和不锈钢水杯,不锈钢水杯降温比玻璃慢。
热水降温的规律是:先快后慢,降到一定温度保持不变。
总结
1、下载最新的编程测试软件,传感器种类较多。
2、行空板K10的物联网运行和M10有区别,需要先下载 win 版本的 SIoT_V2 解压,双击 start SloT.bat 即可启动 SIoT,启动之后会弹出小黑窗启动服务器。
3、MQTT 进行初始化参数设置,IP 地址为我们本地电脑的 IP 地址。
4、MQTT 连接成功后,在电脑浏览器访问 IP 地址(192.168.1.13:8080 )网址,在打开的网页中,账号输入 SIoT,密码输入 dfrobot,即可进入 SIoT 物联网平台。初次使用建议手机热点。
5、Mind+数据可视化面板数据源设置中,服务器地址为MQTT初始化的IP 地址或者127.0.0.1。
附件
点击阅读原文可获取相关资料
往期推荐
* 【义务教育信息科技教学指南】八年级 物联网实践与探索——第5课 物联功能趣体验
*【义务教育信息科技教学指南】六年级 过程与控制 第5课: 连续变化的数据
*【义务教育信息科技教学指南】六年级 过程与控制 第2课:一分为二开与关
*【义务教育信息科技教学指南】六年级 过程与控制 第4课:输入输出与计算
*【义务教育信息科技教学指南】八年级 物联网实践与探索 第4课 实践活动——物物相连有价值
*【义务教育信息科技教学指南】八年级 物联网实践与探索 第3课 实践活动——环境数据要感知
* 【义务教育信息科技教学指南】八年级 物联网实践与探索 第15课 实践活动——面容钥匙显智能
* 【义务教育信息科技教学指南】八年级 物联网实践与探索 第14课 实践活动——远程控制更便捷
* 【义务教育信息科技教学指南】八年级 物联网实践与探索 第13课实践活动—— 门铃通知即时到

