前言
为满足 C++ 应用系统故障演练,阿里妈妈安全生产团队开源了 C++ 混沌实验执行器,填补了 C++ 应用混沌工程实验的空白,其遵循《混沌实验模型》,可通过 ChaosBlade 工具直接执行。项目地址:https://github.com/chaosblade-io/chaosblade-exec-cplus 。
本文重点介绍该执行器的架构图、支持的实验场景,并以 Demo 为例介绍具体的使用方式,附录介绍了阿里妈妈内部混沌实验流程。
新版本 chaosblade 下载地址:
https://github.com/chaosblade-io/chaosblade/releases
实验场景
目前支持的 C++ 混沌实验场景如下,具体使用方式可详见下文:
针对某个方法,或者某行代码注入延迟故障;
针对某个方法,或者某行代码注入替换变量,或者对象值,可以制造调用第三方接口返回结果中包含错误码等等故障;
针对某个方法,或者某行代码注入立刻退出方法并返回指定值(可以是错误值)的故障;
架构图

解释说明:
C++ 混沌实验执行器包括 8 个模块:模型匹配器模块、应用状态获取模块、流程控制模块、在应用运行中注入故障模块、应用未启动状态启动应用并注入故障模块、故障恢复模块、卸载实验器模块 和 日志记录模块;
模型匹配器模块:会把用户传入的参数匹配《混沌实验模型》,发现不符合规范的参数,将停止执行,并返回用户相应提示;
应用状态获取模块:获取待注入故障的 C++ 应用目前的状态;
流程控制模块:可以控制整个实验器的运行流程;
在应用运行中注入故障模块:在 C++ 应用运行状态时,在不改变应用原有代码,和编译文件的情况下,直接注入故障到进程;
应用未启动状态启动应用并注入故障模块:在 C++ 应用未启动状态,在不改变应用原有代码,和编译文件的情况下,启动应用,并同时注入故障;
故障恢复模块:当某一个实验或演练场景完成,基于该模块移除该场景的故障;
卸载实验器模块:当所有实验或演练场景都完成,基于该模块移除应用所有故障,并退出 C++ 混沌实验执行器的进程;
日志记录模块:可以把 C++ 混沌实验执行器运行过程中的情况记录到日志中;
C++ 应用:待注入故障的应用,在故障注入过程中,C++ 混沌实验执行器通过 attach 方式把 C++ 应用做为自己的子进程进行状态跟踪;
ChaosBlade:混沌实验注入工具;
使用方法
可以通过如下三种方式对 C++ 应用注入故障:
登录待注入故障的机器,使用 chaosblade 提供的命令行方式实施演练;
登录待注入故障的机器,手动启动 C++ 应用混沌实验执行器,直接调用执行器提供的 api 实施演练;
通过混沌实验平台,可以很方便的对多台机器,甚至整个分组集群同时注入故障,阿里云 AHAS 后续会支持此执行器;
接下来,通过一个 C++ 应用混沌实验 DEMO 给大家介绍前两种方式怎样实现一次 C++ 应用的混沌实验。
C++ 应用混沌实验DEMO
这次实验,我们演练 linux 系统下 C++ 实现的 socket server 应用和 socket client 应用通讯的过程中,socket server 接口延迟 3 秒。接下来我们下载所需要的 Socket Demo:
Socket-server.tar.gz下载地址:
https://chaosbladecplus.oss-cn-beijing.aliyuncs.com/Socket-server.tar.gz?spm=a2c4e.100239.0.0.75a36fadzUipZ5&file=Socket-server.tar.gz
下载完成后,解压并编译:
g++ -g -c tcp_server.cpp -o tcp_server.o
g++ -g tcp_server.o main.cpp -I. -o server
Socket-client.tar.gz下载地址:
https://chaosbladecplus.oss-cn-beijing.aliyuncs.com/Socket-client.tar.gz?spm=a2c4e.100239.0.0.75a36fadzUipZ5&file=Socket-client.tar.gz
下载完成后,解压并编译:
g++ -g -c tcp_client.cpp -o tcp_client.o
g++ -g tcp_client.o main.cpp -I. -o client
启动 socket server:
./server 9527
启动 socket client:
./client 127.0.0.1 9527
启动成功以后会提示:"send message to server"
接下来输入想传给 socket server 内容比如:666
socket server 应用收到消息以后提示:
Received a connection from 127.0.0.1
Received message: 666
完成以上步骤表示 socket server 应用和 socket client 应用部署成功。
通过 chaosblade 的命令行方式实施演练
接下来我们要使用 blade 工具进行混沌实验,在执行实验前,我们需要先执行 prepare 命令,挂载所需要的 c++ agent:
./blade prepare cplus --port 8370 --wait-time 10
返回以下结果,表示实验准备成功:
{"code":200,"success":true,"result":"e669d57f079a00cc"}
我们开始实施混沌实验,调用 socket server 接口延迟 3 秒,我们执行以下命令:
./blade create cplus delay --delayDuration 3 --breakLine tcp_server.cpp:33 --fileLocateAndName /home/admin/socketServer/server --forkMode child --processName server --initParams 9527 --libLoad /home/lib
返回以下结果,表示执行成功;
{"code":200,"success":true,"result":"ec695fee1e458fc6"}
对实施实验的命令进行解析:
--delayDuration: 3,表示延迟 3 s;单位是 s (delay action 特有的过滤条件)
--breakLine: tcp_server.cpp:33, 加入断点的位置,可以是某一行,也可以是某个方法名 (对应混沌实验模型的 Matcher:实验规则匹配器)
--fileLocateAndName: /home/admin/socketServer/server,C++应用可执行文件的位置和名字 (对应混沌实验模型的 Matcher:实验规则匹配器)
--forkMode: child,表示我们把故障注入到子进程还是父进程 (对应混沌实验模型的 Matcher:实验规则匹配器)
--processName: server,可以唯一标识出C++应用进程的标识,比如进程名 (对应混沌实验模型的 Matcher:实验规则匹配器)
--initParams: 9527,C++ 进程正常启动的时候,启动命令中执行文件后面的参数 (对应混沌实验模型的 Matcher:实验规则匹配器)
--libLoad: /home/lib,如果启动C++ 进程的时候如果需要设置类库文件夹地址,可以在这里设置(比如 /home/lib),如果启动时,不需要加载自定义类库,该项可以填入空格 (对应混沌实验模型的 Matcher:实验规则匹配器)
完成实验后,可以执行如下命令停止当前延迟的混沌实验:
./blade destroy ec695fee1e458fc6
ec695fee1e458fc6 是之前创建实验返回的 UID
注:接收到 destroy 请求后,会删除与 UID 相对应的混沌实验规则。
不尽兴的话,我们再实施对 server 内部变量的修改,把 server 对外开放的监听端口 9527 改成 9529。
和刚才延迟命令参数差不多,因为相同的参数是演练 C++ 应用所需要的,不同的是没有了 --delayDuration,多了个 --varaibleName 和 --varaibleValue 参数。我们模拟调用刚才的服务对外开放的监听端口 9527 改成 9529:
./blade c cplus modify --varaibleName listen_port --varaibleValue 9529 --breakLine tcp_server.cpp:11 --fileLocateAndName /home/admin/socketServer/server --forkMode child --processName server --initParams 9527 --libLoad /home/lib
返回以下结果,并在 socket client 可验证端口是否被修改。
{"code":200,"success":true,"result":"09dd96f4c062df69"}
停止此次试验:
./blade destroy 09dd96f4c062df69
最后,我们撤销刚才的实验准备,即卸载 c++ Agent:
./blade revoke e669d57f079a00cc
直接调用执行器提供的 api 实施演练
挂载所需要的 c++ agent:
nohup java -jar chaosblade-exec-cplus.jar --server.port=8703 --script.location=/home/staragent/plugins/monkeyking/chaosblade/lib/cplus/ &
开始故障注入,发送 url 请求:
chaosblade/create?suid=e669d57f079a00cc&target=cplus&action=delay&breakLine=tcp_server.cpp:33&fileLocateAndName=/home/admin/socketServer/server&forkMode=child&processName=server&delayDuration=3&initParams=9527&libLoad=
其中请求参数为
{
"suid": "e669d57f079a00cc",
"target": "cplus",
"action": "delay",
"breakLine": "tcp_server.cpp:33",
"fileLocateAndName": "/home/admin/socketServer/server",
"forkMode": "child",
"processName": "server",
"delayDuration": “3”,
"initParams": "9527",
"libLoad": ""
}
这种方式增加了几个参数,解析如下:
create: 创建混沌实验请求
suid: 请求参数,实验的 ID,后续停止实验会用到此 ID
target: 请求参数,实验的组件目标,cplus 代表 针对 C++ 应用的实验
action: 请求参数,执行实验的场景,delay
注:
suid、target、action 是 create 请求的必要参数, breakLine、fileLocateAndName、forkMode、processName、delayDuration、initParams、libLoad 参数根据 target 和 action 的不同而不同。
接收到请求,会根据 target 和 action 调用参数校验器,验证参数值是否合法,如果合法,则记录此次试验;
对应组件埋点触发时,如果查询到有此组件的实验,则获取匹配器所需参数,和下发的实验规则进行匹配,匹配成功,则调用场景执行器触发实验。
停止此次试验,通过发url 请求:chaosblade/destroy?suid=ec695fee1e458fc6
其中请求参数是:
{
"suid": "ec695fee1e458fc6"
}
suid: 请求参数,之前创建实验返回的 UID
最后,我们撤销刚才的实验准备,即卸载 c++ Agent,通过发url 请求:chaosblade/remove
后续规划
后续规划
后续会加入更多混沌实验场景,也欢迎大家试用,提 issue、pr,star, 一起交流、探索和完善。
chaosblade github 地址:https://github.com/chaosblade-io/chaosblade
github 地址:https://github.com/chaosblade-io/chaosblade-exec-cplus
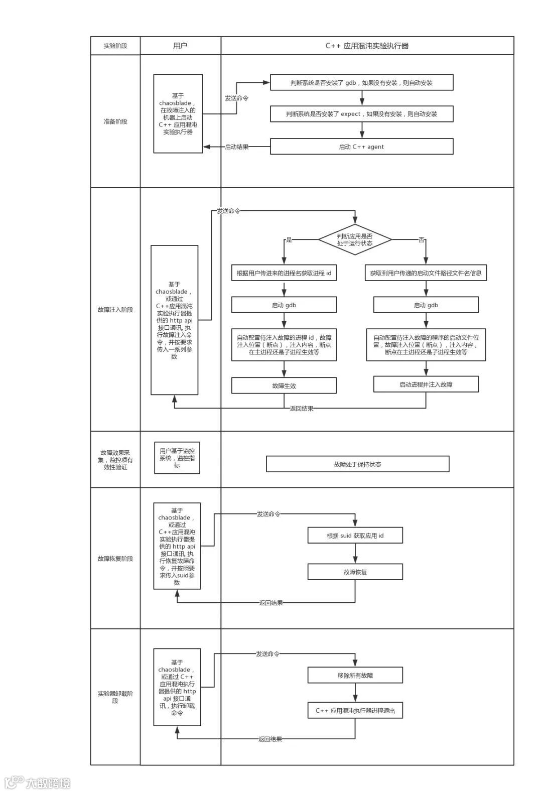
附录
实验流程 & 原理

解释说明:
以上流程中,在实际的故障模拟演练,或突袭演练中,实验准备阶段,故障注入阶段,故障恢复阶段 和 实验器卸载阶段,为故障注入方(或蓝军)操作,故障效果采集监控项有效性验证,故障处置阶段为故障模拟成功以后,故障注入方(或蓝军)确认故障注入效果,也是故障处置方(或红军)接收报警,定位,并处置故障的阶段;
实验执行器底层基于 GDB 实现,故障注入阶段有提到启动 gdb 一步。
本文作者:
周鹏飞,花名鹏毅(@leonardo669),C++混沌实验执行器作者,阿里巴巴技术专家。
/ 点击下方图片,报名参加 /
Tips:
# 点下“在看”❤️
# 然后,公众号对话框内发送“清凉一夏”,试试手气?😆
# 本期奖品是来自淘宝心选,装有静音日本马达,给您宁静夏天的USB插口桌面电风扇!


