
过去几年,3D打印技术日益亲民,网络上可下载到3D设计文件,桌面级3D打印机价格也越来越实惠。然而,有些领域仍然技术复杂、成本昂贵、仅适于特殊行业,如多色增材制造。如今,随着苹果公司开始研制彩色3D打印机,可能会发生改变。
近日,美国专利和商标局公布了苹果公司提交的专利申请,有关全彩增材制造3D打印机的研制。专利申请取名“有色物体的3D打印方法和装置”,可能推动3D打印技术往前迈进一大步。如果研究取得成果,有朝一日可以看到苹果推出3D打印技术,进入主流市场。
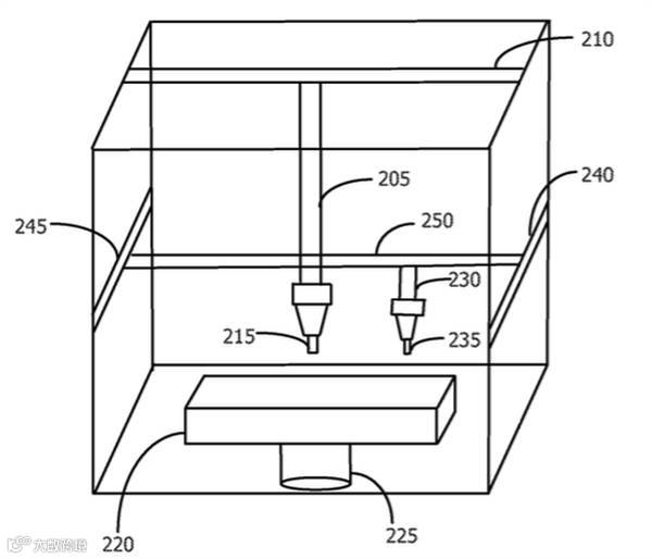
目前,市场上的标准消费级3D打印机只能打印一种颜色的细丝材料,通过更换细丝颜色实现彩色打印,但存在一定风险。苹果在专利申请中提出使用两个打印头,一个打印头同标准3D打印头一样沉积层叠材料,另一个打印头上色。
专利中含有该方法的若干种设想,例如打印头彼此平行排列,或者喷色打印头位于独立载体上,与材料打印头分离。在上色方面,苹果专利申请中提及若干方案,其中包括材料打印头沉积一层材料后,彩色打印头在其上覆盖一层颜色;另一备选方案是先整体打印模型,然后由上色打印头围绕模型移动,进行喷色。
专利中提到的上色方案也涉及多种方法,如喷墨技术、喷雾喷嘴、喷枪和多彩标记,以及磨光或表面处理后对打印件进行上色。
当然,苹果是否真的会研发并推出彩色3D打印机,我们尚不得而知。但是专利中的部分解决方案确实值得考虑。
专利描述如下:“使用该方法,可以快速创建多色三维物体。这增加了可3D打印对象的通用性,更多的日常物品可实现3D打印。例如,可以在家3D打印玩具。”
专利基于Howard A. Miller和Geoffrey Stahl的研究成果,于2014年5月提交。后者是苹果公司游戏及图形软件工程主管,负责iOS和OS X的众多技术。


