
19世纪中叶,挤出机就已经在工业生产中普遍应用了。但那时候的挤出机都属于单螺杆挤出机,主要应用在陶瓷黏土、橡胶、食品工业三大领域。直到1860年,双螺杆挤出机才被发明。1939年,双螺杆挤出机才开始得到市场认可。时间过去八十年,现在双螺杆挤出机已经广泛应用于挤出制品和成型加工方面。
近年来,随着工程塑料向高品质化、高性能化、低成本化方向发展,在世界范围内出现了塑料制品的多样化、复合化。作为聚合物共混改性主要加工设备之一的双螺杆挤出机,其也面临着越来越多的严苛性能要求。
在改性企业中,双螺杆挤出机是将塑料粒子、辅料与助剂混合、混炼、熔融、剪切、挤出及造粒的设备,充当着举足轻重的角色。而改性过程中添加的助剂或者辅料往往都是些容易腐蚀、磨损机筒的物质。在构成双螺杆挤出机的组件中,挤出机机筒的耐用性直接决定着双螺杆挤出机的性能好坏和使用寿命。
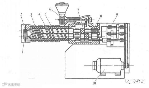
双螺杆挤出机结构示意图

1-连接器;2-过滤器;3-料筒;4-螺杆;5-加热器;6-加料器;7-支座;8-上推轴承;9-减速器;10-电动机
传统的挤出机机筒一般是组成为Cr12MoV\A-101\6542的高速钢,其耐腐蚀性和耐磨性并不能达到一个长期效果,达到一个节点便要更换机筒。机筒作为挤出机的主要构成之一,频繁的更换机筒不仅耗时耗力,很有可能还会停产。对于不少工厂或企业而言,这不仅增加了维修费用,也增加了时间成本,这不是他们想要的结果。
比起频繁的更换机筒,工厂或者企业亟需要更长使用寿命的性能更加优异的机筒。为了解决这一现状,艾盾合金研制出了新型材料的合金机筒。相比于传统的高速钢,艾盾合金的机筒使用寿命至少提升3倍,至多提升至12倍!可大幅减少筒体固定消耗成本、维修换机费用、停产所带来的潜在时间成本等。
面对塑料制品的多样化和复合化,在改性过程中所面临的不同要求,艾盾合金研制出系列合金机筒,只为更好满足每一位生产者的需求。
●AD-02
AD-02合金是一种具有优异耐磨损、防腐蚀性能的新型镍基合金材料。该材料具有良好的耐温、抗热冲击、抗氧化性能,在600℃以下具有优异的耐低应力磨粒磨损和粘着磨损性能等;在强酸、氧化-还原复合介质、卤族以及化合物、强还原介质、碱性介质、含有氯离子的氧化还原介质等环境中都具有良好的耐腐蚀性能。
●AD-03
AD-03合金是在AD-02合金的基础上强化了耐腐蚀性能的一种合金,具有AD-02合金的所有良好性能,并且耐腐蚀性能比AD-02更强的新型镍基合金材料,适用于兼具磨损与强腐蚀环境的工况。
●AD-05
AD-05合金是专门设计用于含氢氟酸环境工况的合金,相较于哈氏合金具有更高的硬度的耐磨性,适用于兼具磨损与腐蚀的环境。
●AD-25
AD-25合金是一种具有极好耐磨性、良好防腐蚀性能的新型合金材料。坚硬的硬质颗粒在合金基体中均匀分布,其耐磨性能极好,特别是在高温下具有非常强的耐磨性能,具有较好的耐腐蚀性能。
材料性能对比表

艾盾合金筒体从合金成分入手,既可增加筒体的耐磨损性能,同时又提供超强的耐腐蚀性能,真正达到全面的合金保护。为了保障产品统一新功能和尺寸的精度,艾盾合金采用全自动化的产品制作流程和严格的生产过程控制,一切只为挤出机的稳定高效运行保驾护航!
精彩推荐:


