点击蓝字 关注我们
NEWS TODAY
黑客入侵现已经形成
产业化、无人化、智能化。
黑客一般都是先使用入侵工具
自动全网扫描服务器漏洞和网站漏洞,
找到漏洞后再实施入侵,
节省大量的人力和物力,
因此也就出现了大量的扫描肉鸡。
如果我们能屏蔽掉这些扫描肉鸡,
让黑客没法扫描服务器和网站的漏洞,
那入侵几率岂不是就小了很多。
要屏蔽肉鸡IP,有两种办法,
一种是收集肉鸡IP库,直接拦截这些IP访问。
另外一种是分析访问行为,
判断是肉鸡扫描,立即进行拦截。
我们可以使用专业的
防入侵系统来拦截肉鸡扫描。
其内置的“恶意IP库”,
收集有数十万全球各地的肉鸡IP
(都是服务器IP),
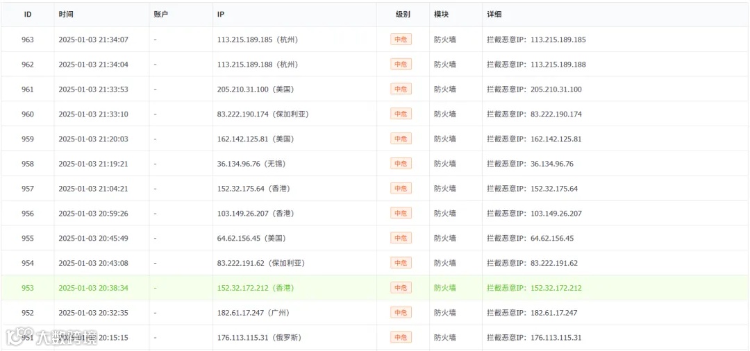
拦截效果非常精准(如下图一)。
全球威胁监测网,自动收集全球恶意IP,每小时更新一次恶意IP库!
如上图,防入侵系统拦截全球恶意IP
对主机发起的扫描攻击,
同时还能可视化显示攻击来源,
如下图二。
(图二:可视化攻击溯源)
在此基础上,
还能智能化分析用户访问行为,
对不在库中的恶意扫描IP,
也能及时拦截。如下图三,
使用“404扫描防护”模块即可实现智能拦截。
(图三:智能拦截恶意IP扫描)
当黑客发起扫描攻击时,
就会及时拦截,效果如下图四。
(图四:自动拦截恶意IP扫描行为)
有了专业的防入侵系统,
再也不担心
黑客扫描服务器漏洞和网站漏洞了!
互联网基础服务
当然选极云!
扫码即可为您提供
定制化解决方案!
关于我们
极云科技作为一家位于中国西南地区的高新技术企业,专注于为各行各业提供全面的信息技术解决方案。公司凭借深厚的技术积累和创新能力,已成为IDC、云计算及IT信息化服务领域的领先供应商。业务涵盖IDC(互联网数据中心)服务、云计算服务、IT信息化、AI算力租赁平台(智算云)。
极云科技秉承“守信、创新、协作、共赢”的企业精神,致力于成为客户最值得信赖的互联网基础服务提供商。

