点击蓝字 关注我们
NEWS TODAY
黑客入侵现已经形成
产业化、无人化、智能化。
黑客一般都是先使用入侵工具
自动全网扫描服务器漏洞和网站漏洞,
找到漏洞后再实施入侵,
节省大量的人力和物力,
因此也就出现了大量的扫描肉鸡。
如果我们能屏蔽掉这些扫描肉鸡,
让黑客没法扫描服务器和网站的漏洞,
那入侵几率岂不是就小了很多。
要屏蔽肉鸡IP,有两种办法,
一种是收集肉鸡IP库,直接拦截这些IP访问。
另外一种是分析访问行为,
判断是肉鸡扫描,立即进行拦截。
我们可以使用专业的
防入侵系统来拦截肉鸡扫描。
其内置的“恶意IP库”,
收集有数十万全球各地的肉鸡IP
(都是服务器IP),
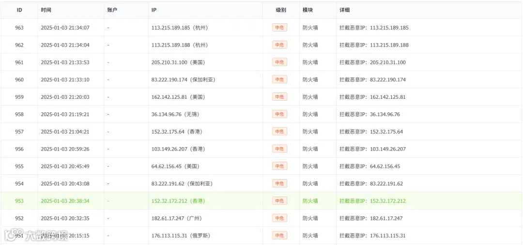
拦截效果非常精准(如下图一)。
全球威胁监测网,自动收集全球恶意IP,
每小时更新一次恶意IP库!
如上图,防入侵系统拦截全球恶意IP
对主机发起的扫描攻击,
同时还能可视化显示攻击来源,
如下图二。
(图二:可视化攻击溯源)
在此基础上,
还能智能化分析用户访问行为,
对不在库中的恶意扫描IP,
也能及时拦截。如下图三,
使用“404扫描防护”模块即可实现智能拦截。
(图三:智能拦截恶意IP扫描)
当黑客发起扫描攻击时,
就会及时拦截,效果如下图四。
(图四:自动拦截恶意IP扫描行为)
有了专业的防入侵系统,
再也不担心
黑客扫描服务器漏洞和网站漏洞了!
互联网基础服务
当然选极云!
扫码即可为您提供
定制化解决方案!

