“芯生态· 智生活·共未来”第二届英飞凌家电生态圈群英汇将于9月5日在无锡举行,行业大咖云集,热点话题引爆,速速在公众号后台回复“报名”获取专属席位吧。

作者:Simon Kim, Pengwei Sun & Danish Khatri, Infineon Technologies, Korea & USA
针对受限空间的创新方案
当前很多应用设备安装在空间受限的环境中,如PCB板内置式电机等。由于空间有限,这类环境往往没有空气流动,也无法应用如散热器等额外散热装置。在环境受限的应用中使用的产品需要留有足够的热裕量,并能够有效地消除运行期间功率损耗导致环境温度升高而产生的多余热量。
在本文中,我们将主要介绍英飞凌的CIPOS™ Nano IPM系列产品,该产品可通过PCB板散热,从而能够在空间受限的环境中工作。

图1 PCB板内置式电机的受限内部空间
单相 220 VAC的应用
一些小型电机将PCB安装在电机本体内以减小整体体积,这类电机主要用于空调室内风机、吊扇、空气净化器或通风设备等应用场合,如图2所示。在这些应用中,电机的普遍额定功率范围为40~60W。

图2 40~60W电机的典型应用场合
在这些应用中,电机通常处于很少或甚至没有空气的环境下运行,无法通过空气对流来释放热量,器件需通过PCB板的表面进行散热,因此当IPM在空间受限的环境中使用时,必须严格进行热损耗计算。
图3(a)描述了功率FET的热量通过PCB板释放的过程。IPM设计时应确保其连接到FET的引线框架能够与PCB板直接接触,使产生的热量直接通过PCB板释放。
英飞凌的小型3相CIPOSTM Nano IPM系列产品(12 x 12 x 0.9 mm3)因其优异的散热特性而被这类电机所采用,该产品将一个6通道栅极驱动器和6个MOSFET集成在同一个封装内,如图3(b)所示。
由于220VAC电机驱动应用的母线电压VDC为311V,额定电压500V 的CIPOS™ Nano IPM能满足这类应用等电压要求,同时其还具有过流保护功能,且故障消除时间可通过设置R和C的值来确定。
图3(c)给出了一个无传感器电机驱动系统的应用电路,该电路采用了英飞凌电机运动控制IC IRMCF171,其中IPM的故障输出引脚连接到IRMCF171的GATEKILL引脚,允许控制器在发生故障时关闭所有的栅极控制信号。

图3 (a)CIPOSTM Nano IPM通过PCB板直接散热
(b)12x12 mm2 PQFN封装CIPOSTM Nano IPM
(c)应用电路示例
通过热量测试测量功率容量
如上所述,CIPOS™ Nano IPM产生的热量需要通过PCB板来进行释放,然而这需要通过热测量进行验证。图4(a)给出了PCB布局和使用热成像仪对其进行热测量的结果。CIPOS™ Nano IPM安装在敷铜为1盎司的PCB板上,在环境温度25℃且没有气流的环境中,采用不连续SVPWM方式运行时可输出电流为500mA。在三相SVPWM运行方式中,该IPM的输出电流高达480mA。此时,当开关频率为6kHz时,输出到电机的功率为65W左右,如图4(b)所示。

图4 (a)PCB布局和热成像仪测量结果
(b)PCB敷铜为1盎司时最大电机功率
(c)PCB敷铜为1盎司时增加电机功率
当使用PCB敷铜为2盎司时,可以获得更大输出电流。同样采用6kHz的开关频率,此时IPM的电流能力从500mA增加到580mA,同比增长16%。如果开关频率为20kHz,模块电流输出能力可从370mA增加到460mA,增加23%。
为了获得更大的电流输出能力,可以将绝缘散热膜直接应用于PCB板上。

图5 (a)采用绝缘散热膜PGS+SSM后的最大输出功率(b)使用绝缘散热膜后结温从137℃降低到88℃
如图5(b)所示,在PCB板上使用40x40mm2绝缘散热膜时,模块结温从137℃降至88℃。此时在6kHz的开关频率下,模块电流能力可从500mA增加到650mA,相对增加30%。而在开关频率20kHz时,其电流能力可以从370mA增加到530mA,相对增加42%。
低压风机及电池驱动型电机中的应用
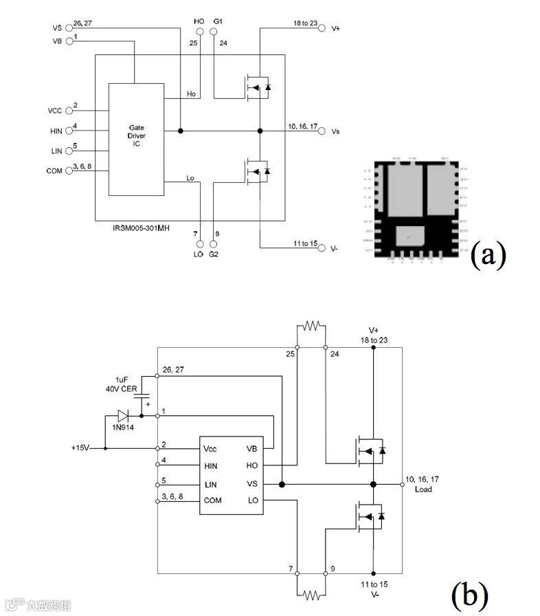
某些电机应用中会采用额定电压低于100VDC的低压风机。这类风机通常由24V或48V的直流电源或电压60V以下的电池来供电。对于这类应用,CIPOS™ Nano IPM系列产品中的 40V/80A的IRSM005-800MA或100V/30A的IRSM005-301MA等半桥低压IPM能够满足其需求。这类IPM的机械设计理念与前面所讲的3相IPM相同,其引线框架与封装表面(即PCB)之间也有着直接的热接触。

图6(a)采用7x8 mm2 PQFN封装的40V/80A和100V/30A 半桥式低压CIPOS™ Nano IPM
(b)配有自举二极管/电容和栅极电阻的应用电路
使用IRSM005系列IPM进行设计时只需要在其外围电路中增加一个自举二极管、自举电容和栅极电阻。通过对这些CIPOSTM Nano IPM系列产品进行灵活的半桥配置,可充分满足单相应用、H桥或3相应用的需求。
结论:
在本文中,我们已经说明了PCB板内置式电机在空间受限的环境中应用时克服缺少气流和散热器的经过验证的解决方案。在系统设计中需要留有足够的热裕量,且在过程中使用热像仪或其他技术进行计算和测量。
[1] IRSM836-035MA, 3 Phase Nano IPM (500 V 3 A IPM) data sheet
[2] IRSM005-800MA, half bridge Nano IPM (40 V 80 A IPM) data sheet
[3] IRSM005-301MA, half bridge Nano IPM (100 V 30 A IPM) data sheet
[4] IPM Presentation File
[5] Application Note AN-1168
来源:bodo's功率系统


