
大会上还有
一个网工关注的亮点
即通过offload卡来加速基础设施

当前微软是通过
FPGA+ARM SoC的方式
考虑到 Fungible 团队的加入
未来把主要功能ASIC化也在情理之中

虽然AMD Pensando
成功的打入了Azure资源池
AMD 这钱花的值,DPU突破Azure
但是FPGA
才是微软的最爱
牢牢把控头等公民的地位

如今FPGA加速卡
有了新名字 - MANA
在Azure存储场景已经部署
通过Azure Boost也开放给客户
复习一下阿里盘古:当盘古遇到RDMA

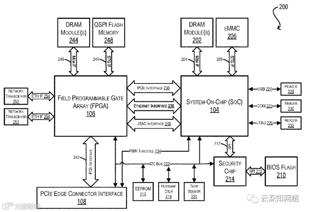
微软在2022年
为FPGA+SOC的网卡架构
申请的专利在今年终于获得批准

不懂就问
这架构也不是新东西
标识一下就能申请专利?
如果这也能授予专利岂不意味着
其它厂家的类似做法都有侵权风险?

对 Microsoft server offload card with SOC and FPGA专利 感兴趣的同学,点赞和在看后,在公众号后台回复“tooyum120”可以获取下载地址。
全球DPU/智能网卡生态图:
一、投资篇:


