近日,游戏新知获悉多家头部棋牌游戏公司的全部产品从App Store下架了。

同城游、老K、闲徕、嘉兴乐玩
旗下棋牌游戏全部下架苹果
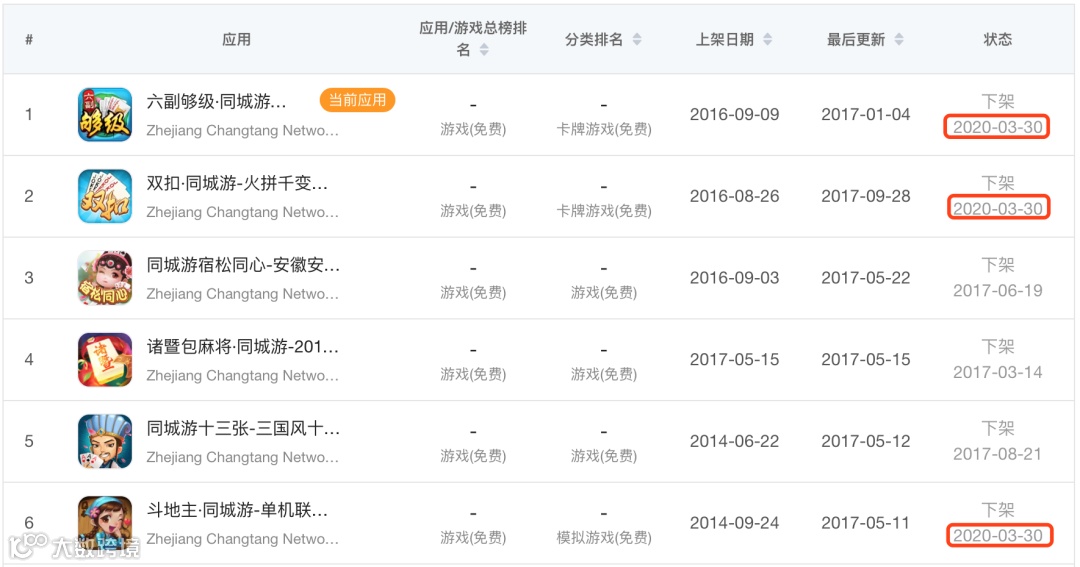
3月30日,畅唐旗下的同城游棋牌游戏有21款从App Store下架。此次下架之后,即畅唐自2013年开始在App Store上架的87款游戏全数下架。截止至发稿时,仅有《同城游景德镇麻将》于4月1日重新上架。

图片来源:七麦数据,4月1日截取
3月21日,力港旗下的老K游戏有3款棋牌产品从App Store下架。此次下架之后,即力港自2013年开始在App Store上架的22款游戏全数下架。截止至发稿时,该账号下仍无重新上架产品。

图片来源:七麦数据,4月1日截取
游戏新知还了解到闲徕互娱旗下的全部棋牌游戏也已经从App Store下架,目前游戏新知追踪到的最后一款游戏下架时间是2020年2月1日。至此,闲徕互娱旗下的36款游戏全数在App Store下架。

图片来源:AppAnnie,4月1日截取
此外,还有微乐星空旗下的共计12款棋牌游戏全数下线。

图片来源:AppAnnie,4月1日截取
吉祥游戏旗下的6款棋牌游戏产品全数下架。

图片来源:AppAnnie,4月1日截取
嘉兴乐玩旗下的星悦、皮皮和弈乐棋牌产品均在App Store上消失,但Google Play版本仍在线。

图片来源:AppAnnie,4月1日截取

公司策略调整还是苹果处罚?
针对游戏全数下架的问题,游戏新知询问了一位畅唐员工,该员工表示畅唐在苹果渠道有自己的规划,只是短期内暂时先把账户下的所有游戏主动下架,并非是苹果处罚导致的下架。
游戏新知联系到了另外一家公司——其旗下的全部棋牌游戏刚从App Store下架。该公司人士表示收到了苹果发来的《违反政策通知》,大致是指苹果判定该开发者会员账号或和该账号有关联的会员账号存在不诚实行为或欺诈行为,故将该账号标记删除。


部分通知原文(非苹果通知原件截图)
此外,游戏新知也询问了一位知情人士,该人士表示这些游戏过几天就会重新上架,通常的做法是买账号换包名重新上线,故上述下架游戏中有部分已经改头换面上了架也保不齐。
故,虽然近期棋牌游戏集体从App Store下架,原因不可一概而论。

▍游戏开发定制热线:400-005-1808
▍或扫描客服二维码咨询↓↓↓



