原创:小马哥
来源:黑小马商学院
大家好
今天是被神仙友情感动到的小马哥
抽空看了朋友推荐的《向往的生活》
发现同频道的老朋友坐在一起
不论什么梗都能接上欢声笑语融成一片
真的是慕了慕了
忙碌的工作之后记得也给心灵放个假
抛下烦恼就单纯打打闹闹也好啊
开心点比什么都重要
一起进入今天的黑小马课堂啦~
划重点
01
拍了不付领了不用是怎么回事?
最近,在和朋友们聊的时候,总会有人问很多拍了不付款,也有很多领了优惠券又不用,不知道这些买家是出于什么原因。
小马哥简单说下哦,拍下不付款,大多是工作室用来刷单的链接,主要是为了养号的标签和人群;
至于优惠券,它是一把双刃剑,用得好可以很大程度地提高转化,销量飙升;但是用不好,反而会亏本。
在使用优惠券,通常大家都会把优惠券放在显而易见的地方,如店铺首页、商品详情页、广告语等,甚至直接分享给买家;
那么一些买家领了优惠券,却不用是怎么回事呢?
很多时候我们设置优惠券,并没有结合商品的价格,成本等实际情况而导致的,比如:优惠券是满300减100,但是实际商品的价格是150;
客户想达到条件,就需要再另外购买几个商品,但是有些商品客户觉得一件就够了,没必要去重复购买,所以就会导致优惠券设置了,却用不上,达不到转化的效果。
划重点
02
该如何合理地设置优惠券?
1、设置优惠券的时候需要考虑两个因素,一个是成本一个是商品价格。
比如,是设置优惠券满99减10,还是满199减10呢?如果利润空间较小,大幅度的让利只会增加风险,一定要认真核算成本再决定优惠券面额;
其次是商品价格,如果商品的价格是70,设置满99减10元的优惠券,客户是否愿意为了能够使用上优惠券,愿意去购买两件商品呢?
2、优惠券也是需要搭配营销:
优惠券也是需要搭配营销的,特别是618、双11、接下来的双12等大促氛围下,买家有很强的购买欲望,对他们来说,既然都要买买买,何不多用优惠券拿点优惠,事后再默默地剁手;
优惠券搭配方式,关联商品的推荐,比如您是卖鞋子的,您可以在鞋子的详情页面上,放上袜子、鞋带等周边商品,然后设置优惠券来引导客户来消费。
通过促销来提高转化率,方法用得好的话,效果不会差的。黑小马工具箱向年版用户提供「智能促销」功能:
通过选择商品,对定向人群一键创建促销活动,大促期间尤其转化明显:
划重点
03
拼购赔付单和恶意订单都要处理!
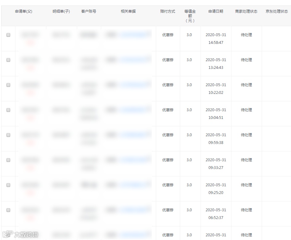
另外,之前提到过拼购店因超时发货系统会自动生成大量的赔付单;
每单3元,一天百来单,照这种架势下去我们肯定也是吃不消的。
那么,碰到这种情况我们应该怎么办呢?
1、使用礼品单,通过上传礼品单单号更新物流。
2、申诉,申诉成功则不需要赔付。
现在,平台对于打假的态度也有所改变,如果打假人太过无理取闹,纠纷专员也会考虑商家的态度和实际情况判责。
我们有朋友就反映,自己在纠纷回复里直接点明对方是打假人,平台最后判了客户责任。
关注黑小马网络店群项目,了解京东店群第一手资讯,获取最新干货知识,欢迎交流~
商务合作请联系微信:heixiaomaYu

往期精彩回顾
老板说了 你点“在看”
小马哥工资就加5毛↘↘




