上周我们详细介绍了【蓝水母的维护保养怎么用?操作明细在此】(点击跳转链接),
对我们来说,船舶维护保养也是船舶运营最重要的一环,对此,我们整理了一些常见操作问题:
/
/
“保养设备”和“保养目录”是关联项
主要是初始化保养目录数据,及修正保养目录数据,此功能权限只给船长,部门长和岸基的机务部人员。
保养设备:这个船的需要保养的设备都罗列出来。
保养目录:设备下的保养项目(或者备件)罗列出来进行保养。
注:1.公司管理员和机务主管,可以维护船舶的所有字典数据;
2.船长:可以维护本船的所有字典数据;
3.大副,轮机长:可以维护本船舶部门下的所有字典数据,可以添加保养设备和保养项目

添加保养设备



/
/
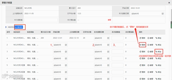
“设备计时器”





/
/
“计时器更新历史”
/
/
“保养列表”



/
/
“保养记录”
船员做的单次保养的记录都在这里展示。船舶部门长点击“月度保养记录”按钮,选择月份后,自动生成这个月的保养记录。


我们也为每家航运企业都配备的了1对1的客服,如果大家还有什么疑问,欢迎在群里@我们。
欢迎您来电咨询:13064722828
扫描二维码
关注蓝水母微信公众号
网址:www.lanshuimu.com
我知道你
哦

