一、事件背景
近期,全景再现科技网站遭遇了异常流量攻击,主要表现为:
- •
电信带宽激增(短时间内增长260GB),移动带宽受影响较小。
- •
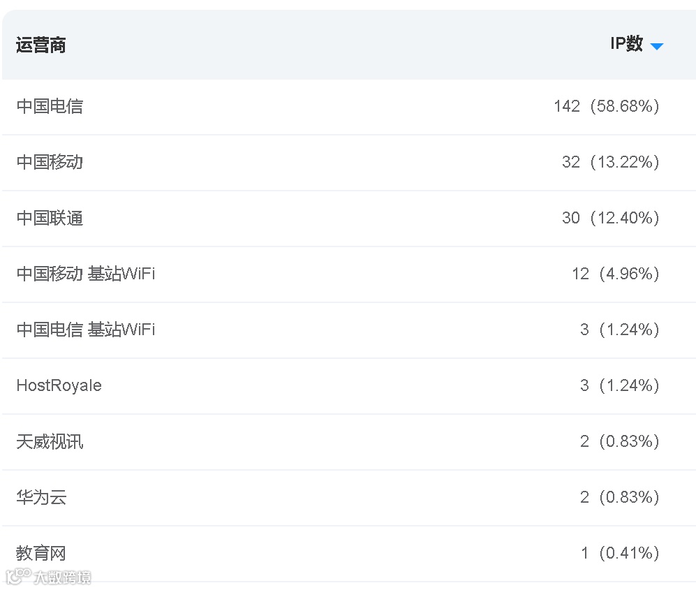
大量404请求,主要来自国内电信IP段(如
113.*,119.*,183.*)。 - •
攻击时间线:从 2025-09-08 10:00 开始,至 2025-09-10 02:00 实施更严格的安全措施后才被阻止。
二、攻击分析
- 1.
攻击类型:盗链攻击(Hotlinking Attack)
- •
攻击者直接引用我站静态资源(如
/data/avatar/user/xxx.png、/static/js/common.js)。 - •
由于我启用了 防盗链(Referer Check),这些请求被拦截并返回 404,但仍消耗了大量带宽。
- 2.
攻击来源
- •
主要来自 国内电信IP段(如
113.100.*,183.19.*,119.125.*)。 - •
部分IP持续活跃,请求量从 72次激增至130次+,表明攻击规模在扩大。
- 3.
攻击影响
- •
电信带宽被占满,导致部分用户(尤其是电信网络)访问异常。
- •
服务器负载升高,但未造成数据泄露或服务瘫痪。
三、应对措施
- 1.
新增安全策略
- •
实时流量统计:监控带宽异常,及时发现攻击。
- •
自动封禁高频IP:短时间内大量请求的IP自动加入黑名单。
- •
人工测试验证:确保正常用户不受影响,如遇问题可及时反馈。
- 2.
技术优化
- •
调整防盗链规则,允许空 Referer 和合法来源(如自己的域名)。
- •
优化Apache/IP封禁策略,使用
mod_evasive或fail2ban限制恶意请求。 - •
日志分析,确认攻击源并针对性封禁(如
113.100.0.0/16整个IP段)。 - 3.
长期防护方案
- •
启用CDN(如Cloudflare):隐藏真实IP,提供WAF防护,缓解盗链攻击。
- •
静态资源签名URL:确保只有合法请求能访问资源。
- •
带宽监控告警:设置阈值,异常流量时自动触发防护机制。
四、攻击原因推测
虽然具体攻击者难以确定,但可能原因包括:
- 1.
自动化扫描工具:尝试盗用网站资源(如图片、JS文件)。
- 2.
竞争对手或恶意用户:故意消耗服务器资源。
- 3.
DNS解析问题:切换至腾讯云DNSPod后流量异常,但无直接证据。
- 4.
其他可能性(如机房推销带宽服务、国际政治因素等),但概率较低。
五、后续优化
- 1.
持续监控日志,分析异常请求模式。
- 2.
优化移动/电信分流策略,确保负载均衡。
- 3.
提升用户体验:
- •
降低跳出率(目前已有改善)。
- •
增加用户停留时间(目前趋势向好)。
六、总结
本次事件并非黑客入侵,而是 盗链攻击,通过 防盗链+IP封禁 已有效拦截。未来将通过 CDN+自动化防护 进一步提升安全性,确保网站稳定运行。
2、添加短时间,大量访问的,自动封禁。
3、我自己测试,拼命访问都不会被封,人的速度做不到机器的速度,估计也不会影响大家,假如出现无法访问,及时在群里面提出。
持续攻击源:一些IP在两个时间段都出现了,并且访问次数大幅增加,例如:
这表明这些IP背后的攻击源持续活跃,攻击并未停止,反而在加强。
找出 404 状态码最多 的 IP 地址并按访问次数排序,昨晚10点12点Get-Content .\access0909.log |Where-Object { $_ -match ' 404 ' } |ForEach-Object { ($_ -split '\s+')[0] } |Group-Object |Sort-Object Count -Descending |Select-Object Count, Name -First 20
上面是查询的命令,下面是结果
Count Name----- ----120 20.171.207.4682 183.19.243.12572 119.134.175.24872 113.100.122.1772 113.100.96.16372 116.28.236.9272 113.95.168.5472 218.15.235.15772 113.75.38.3672 119.138.43.5372 183.52.37.10872 183.19.137.12552 43.152.143.8051 59.34.23.6846 113.85.195.19046 14.210.18.15646 113.75.19.15946 113.100.176.11646 113.86.175.24546 113.101.13.161今天1-9点Count Name----- ----342 192.144.138.190143 119.125.22.213141 183.19.243.125130 113.100.122.17130 119.125.11.32130 183.19.137.125130 113.85.136.208117 125.89.211.179104 14.159.88.59104 183.21.173.179104 116.16.23.84104 183.52.37.108104 218.15.235.157104 113.85.136.5491 125.89.225.22891 113.95.168.5491 119.125.88.10291 119.138.43.5391 116.29.241.16191 183.24.165.11
查看 404 请求的 TOP IP 和它们访问的 URL$ipData = @{}switch -File .\access0909.log {default {if ($_ -match ' 404 ') {$fields = $_ -split '\s+'$ip = $fields[0]$url = $fields[6]if (-not $ipData.ContainsKey($ip)) {$ipData[$ip] = @{ Count = 0; URLs = @{} }}$ipData[$ip].Count++$ipData[$ip].URLs[$url]++}}}$ipData.GetEnumerator() | ForEach-Object {$topURL = $_.Value.URLs.GetEnumerator() | Sort-Object Value -Descending | Select-Object -First 1 -ExpandProperty Name[PSCustomObject]@{IP = $_.NameCount = $_.Value.CountTopURL = $topURL}} | Sort-Object Count -Descending | Select-Object -First 20
上面是查询的命令,下面是结果。
192.144.138.190 342 /kong/index.php?user/login119.125.22.213 143 /js/date.js183.19.243.125 141 下面都是和上一个一样119.125.11.32 130113.85.136.208 130113.100.122.17 130 /183.19.137.125 130 /125.89.211.179 117 /183.21.173.179 104 /116.16.23.84 104 /113.85.136.54 104 /183.52.37.108 104 /14.159.88.59 104 /218.15.235.157 104 /119.125.88.102 91 /183.19.230.123 91 /113.95.168.54 91 /116.29.241.161 91183.24.165.11 91119.138.43.53 91
找出返回 ??404 状态码?? 的请求中最常见的 ??URL 路径??(Select-String -Path ".\access3.log" -Pattern " 404 " | ForEach-Object { ($_.Line -split '\s+')[6] } | Group-Object | Sort-Object -Property Count -Descending | Select-Object -First 20 Count,Name28729 /data/avser/5e7ed192b100b3ec06ac.png28727 /statjs/commn.js28722 /staimages/default_avar.jpg28720 /templat/delt/js/vidjs-i.min.js28720 /static/images/ce-.png28715 /data/sle/14978626.png28711 /stc/js/datetimepier.js28704 /dta/article/201905/155712163.png28700 /dta/avauser/f4383eb100702494b1b9c96.jpg28689 /data/avauser/3f490c4a2767fb27b2218.png28687 /static/jquery-1.9.1.js28682 /dta/ar/1497863368.png28658 /stati/redefine.js261 /tempult/js/zui.min.js260 /statiger.js260 /statiery.form.js258 /statotbox.js256 /templlt/js/vi.min.js162 /robots.txt91 /sti.js?v=0
现在电信带宽,昨晚恢复了。移动带宽一直没被占用。而且我早已经把默认出口弄到移动了。电信的只服务电信。这样更加均衡。

不可能全部无聊的攻击,DDos,也不会单独只攻电信。其实攻击的来源可能性太多了
1、机房托管,说你的带宽都满了,是否要加多一些。然后你出钱了。但是我觉得这个不可能。
2、腾讯智能DNS,假如你买了一些防止被攻击的服务。就不会出现这样的情况了。但是我觉得这个不可能。
3、你的仇人。但是我觉得这个不可能。
4、你的竞争对手。但是我觉得这个不可能。
5、无聊的人,拿你网站来测试。可能性比较大
6、诈骗集团,我们网站也没几个会员,不值得过来啊。
7、恨国党。应该他们害怕中国崛起,怕中国复兴。看到我们最近10年的深圳的发展。然后再对比他们的国家。感觉自己的大城市,面貌也不如深圳的一个区。可能性比较大
8、其它,你们补充。上面很多IP都是获得是真的,但是也可能对方弄的肉鸡,或者伪Ip。只想说,做一个网站太难了。所以不得不分析好消息来结束。

