据《证券时报》报道,2024年1月23日4时39分,南京市消防救援支队指挥中心接到报警,雨花台区明尚西苑6栋发生火灾,随后迅速调集8个消防救援站、25辆消防车、130名指战员到场处置,明火于6时许被扑灭,14时许现场搜救工作结束。
据《中国消防》25日消息,发生于江苏南京雨花台区明尚西苑6栋的火灾事故,已导致15人不幸遇难,44人在院治疗,516名群众被疏散安置。
根据网上公布的相关视频和图片资料。发生火灾的楼栋表面,从下到上全部烧成了触目的黑色,部分楼层在天已泛白的早晨仍然向外冒着浅色的浓烟,一处较高的楼层甚至有清晰可见的火光,楼前的地面树荫下有一排明显的大火在肆虐。

南京市政府在24日凌晨召开新闻发布会,据消防救援人员透露,经过初步分析,火灾为6栋建筑地面架空层停放电动自行车处起火引发,具体原因正在进一步调查。在科技如此发达的今天,在中国PCT专利申请排名如此靠前的今天,这似乎是不应发生的悲剧。
目前还不知道是电池充电过程导致的起火,还是未充电状态的电池或者其他零部件自燃?但是不论如何,该起事故与6栋架空层的电动自行车有关。那么现如今的技术是否能够避免电动自行车引发的火灾呢?是否已经有了与防止电动自行车自燃的最新实用发明呢?小编在WIPO上分别用中文和英文试图搜索相关的发明,确实发现了一些东西:
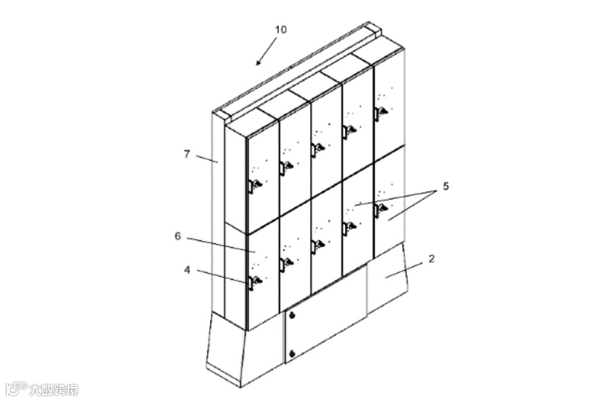
1.一种新型防自燃电动自行车充电柜
摘要如下:
本实用新型公开了一种新型防自燃电动自行车充电柜,包括:柜身,为整个充电柜的主体部分,所述柜身正面安装有触摸操作屏;进风口,其对称两组开设于所述柜身的左右两侧;刷卡区,其固定安装在所述柜身的正面,所述刷卡区固定安装在所述触摸操作屏的右侧,所述刷卡区通过导线与所述触摸操作屏;柜门,其转动安装在所述柜身的正面,所述柜门设置在所述触摸操作屏的下方,所述柜门关于所述柜身的竖直中心线对称均匀分布;遮阳棚,其固定安装于所述柜身的顶端,该用于该防自燃电动自行车充电柜,能够同时供给多块电动自行车蓄电池供电,本充电柜采用多电池仓散热,降低温度避免高温自燃,同时也搭载了迅速有效的灭火设备,以解决充电过程中电池发生自燃的问题。
根据其实用新型内容的描述,其能达到防自燃和速灭火的方式是:
1.利用热量传感器二氧化碳灭火弹,将时刻监控柜中充电电池的温度热量,若是充电时的热量远高于正常水平,则代表可能发生自燃现象,随即引爆二氧化碳灭火弹,二氧化碳灭火弹是存储着大量二氧化碳灭火剂的高压密封罐,搭载着可以通过电流引爆的小型炸药,在必要时引爆炸药可在瞬间释放出全部的二氧化碳灭火剂,二氧化碳灭火剂将在瞬间扑灭火焰,并隔绝氧气,杜绝复燃的可能;
2.通过电机和风扇和风道,大多数电动自行车电池自燃事故,都是由高温引起,因此,风道将所有的电池柜连通起来,集中由电机所驱动的风扇进行换气散热,保持空气流通降低电池柜内温度,从而避免因高温引起的柜内电池自燃等问题。
2. 一种自带灭火结构的防自燃电动自行车:
摘要如下:
本申请涉及一种自带灭火结构的防自燃电动自行车,涉及电动自行车技术领域。其包括电动自行车本体,电动自行车本体包括驾驶座和后备箱,驾驶座的底部设置有容置箱,容置箱内安装有电池箱,电池箱设置有蓄电池,所述电池箱内设置有对所述蓄电池进行支撑的支撑组件,所述后备箱与所述支撑组件之间设置有用于灭火的灭火组件。本申请具有蓄电池起火后能够迅速地对蓄电池进行灭火的效果。
根据其说明书中具体实施例的描述,其工作原理为:在支撑板31向下翻转时,支撑板31将拉动第一拉绳44,此时第一拉绳44将拉动球阀43的转杆,以便将灭火管42打开,从而钢瓶41内的二氧化碳将由灭火管42向蓄电池2进行喷射,以达到快速灭火的效果。

3.一种防自燃电动自行车
摘要如下:
本发明涉及电动自行车技术领域,且公开了一种防自燃电动自行车,包括车体,所述车体的底部固定连接有电池槽,所述电池槽底部的内侧固定连接有隔热保温槽,所述隔热保温槽的内部上端活动连接有活动盖板,所述活动盖板的内部活动连接有弹簧所述隔热保温槽的底部内表面固定连接有定位板,所述定位板的内侧活动放置有电瓶,电瓶的外面包围有隔热保温槽,隔热保温槽内填充的是硅酸铝纤维,能够阻隔热量,阻隔火势的蔓延,隔热保温槽的内部上端安装有活动盖板,活动盖板内填充有防火干粉,在热熔胶熔化时,活动盖板内的弹簧将盖板下侧的挡板弹开,由于地球引力,防火干粉将电瓶覆盖住,隔绝氧气,从而达到了及时扑灭并隔离火源的效果。
根据其说明书中具体实施例的描述,其工作原理为:当电动自行车电瓶7发生故障引起火灾时,活动盖板4的下表面会因为温度提高引发热熔胶熔化,活动盖板4内部的弹簧5将下方的四个挡板弹开,使防火干粉覆盖在电瓶7上,扑灭火源。此时因为有隔热保温槽3的包围,使热量无法扩散,防止了火灾的进一步扩展。由于电瓶7的温度升高,温度传感器10将数据传输到控制器9中,控制器9控制蜂鸣器11发出警报并点亮发光二极管,提醒过往人员此处发生危险应及时处理。

刚才看到的是已公开的国内几个关于防止电动自行车使用或者充电过程中自燃的发明专利或者实用新型,下面我们再看看英文的搜索结果:
在WIPO的高级搜索里,几乎找不到与“Prevent spontaneous combustion”、“Prevent spontaneous combustion of lithium batteries”或者“Prevent spontaneous combustion of electric bicycles”相关的专利。不过还是通过搜索“Prevent battery fire; Electric bicycle;”找到了少数相关的专利:
4. USE OF VITRIFYING COMPOSITIONS FOR ELECTRIC BATTERY FIRE PREVENTION OR EXTINGUISHING
摘要如下:
Described is the use of a composition for extinguishing or preventing battery fires, a method for extinguishing a burning electric battery or preventing an electric battery from burning, to an electric battery that is surrounded by the composition as well as a product that comprises such a surrounded electric battery, and an assembly, comprising an electric battery and a fire extinguishing device, comprising the composition. The invention also relates to an enclosure intended to at least partially enclose an electric battery.(本申请描述了一种用于熄灭或防止电池着火的组合物的用途,一种用于熄灭燃烧的电池或防止电池燃烧的方法,本发明涉及由所述组合物裹覆的电池以及包含所述组合物裹覆的电池的产品,以及包含电池和包含所述组合物的灭火装置的组件。本发明还涉及一种用于至少部分地封装电池组的封套)。
在该发明的说明书中特意提到了,常规的灭火措施很难熄灭锂离子电池引发的火灾,所以:the present inventors have now found that a composition can be used for both extinguishing electric battery fires as well as for preventing said batteries from burning, said composition comprising a medium wherein at least one material contained which becomes vitrified at a temperature above 200°C.(本发明现已发现了一种组合物既可用于扑灭电池火灾又可用于防止所述电池燃烧,所述组合物包含介质,其中所含的至少一种材料在 200°C 以上的温度下会玻璃化。)
文中称:这种玻璃化反应在非常短的时间内就会发生,从而在燃烧的物体上形成坚硬的玻璃层,防止其与空气中的氧气接触……
As soon as such a composition is heated, such as by the heat of the battery, by the heat of the battery once burning or by burning surroundings then this material will be cured (vitrified) to an impermeable glassy layer. The solution is preferably a solution, more preferably an aqueous solution.(一旦这种组合物被加热,例如通过电池的热量、通过电池燃烧时的热量或通过燃烧的环境,则该材料将被固化(玻璃化)成不可渗透的玻璃层。该溶液优选是溶液,更优选水溶液。)
The invention also relates to an electric battery protected from fire that is at least partly enclosed by a composition as described above. When the temperature of such a battery increases to above the temperature at which the vitrifiable material and therefore preferably the composition as a whole vitrifies, or even starts to burn, the surrounding casing is heated whereby the composition forms a glassy layer on the burning battery, whereby the fire is prevented, or is extinguished due to a lack of oxygen.(本发明还涉及至少部分地被如上所述组合物封装的防火电池。当这种电池的温度升高到材料可玻璃化的温度并且因此优选组合物整体玻璃化或甚至开始燃烧时,周围的外壳被加热,由此组合物在燃烧的电池上形成玻璃质层,因此火被熄灭,或由于缺乏氧气而被扑灭。)
5. SAFE BATTERY CHARGING STATION MOUNTED FIRE EXTINGUISHING FACILITATING APPARATUS
摘要如下:
Charging station mounted fire extinguishing facilitating apparatus, comprising a plurality of spaced interconnected partitions fixedly mounted at a charging station that define an interior volume within which an electric bicycle battery is introducible and rechargeable, and one or more peripheral cavities in communication with the interior volume, within each of the cavities a sealed heat sensitive package containing a flowable fire extinguishing material is receivable, wherein the heat sensitive package is confined by the partitions defining the cavity within which it is received so as to remain in positional relation with the interior volume and is configured to be sufficiently deformed so as to become perforated in at least one package region during exposure to a predetermined fire-induced temperature when the battery is inflamed, thereby allowing the contained fire extinguishing material to be discharged from the package via a perforation at the at least one package region, to flow into the interior volume, and to extinguish the fire.( 一种安装在充电站的灭火便利设备,包括固定安装在充电站的多个隔开的互连隔板,所述隔板界定了电动自行车的电池可被放入并进行充电的内部容积,以及与该内部容积连通的一个或多个外围空腔,在每个空腔内可存放包含可流动灭火材料的密封热敏包装,其中所述热敏包装由界定空腔的隔板限定容纳在所述空腔内,以便与该内部容积保持位置关系,并且热敏包装被构造成在电池燃烧时暴露于预定的火灾引发温度之中充分变形以便在至少一个包装区域中产生穿孔,从而允许所容纳的灭火材料通过在至少一个包装区域处的穿孔从该包装中排出,流入该内部容积,并灭火。)
该发明的想法与本文列举的第1个发明类似,是将灭火装置放置于每一个可供电动自行车电池放入的防盗柜里,当电池发生燃烧时,热敏包装内的灭火材料从穿孔中流出,覆盖在柜子里,以达到熄灭电池火灾的效果。
这几个专利有两个涉及电动自行车充电桩或者充电箱的灭火装置发明,有两个涉及安装在电动自行车上的灭火装置发明,还有一个涉及电池外封装技术的发明。不论哪一种发明,目前似乎在大多数国内居民小区以及大多数人骑行的电动自行车上都没有实现。
小编也是看过许许多多电动自行车自燃引发火灾相关的报道,非常想看到最新的技术能够被突破,能在最大程度上减少类似的伤亡事件。同时希望更多的安全意识和管理措施能在居民小区,商业楼的居民、业主、工作人员中产生。

作为一家有着多年科技文献和专利申请文件翻译经验的翻译公司,我们也希望国内能有更多类似关注民生和安全的发明产生,相信这类以人为本的发明创造,必然也会在全球市场引发轰动,届时,此类发明专利文件的翻译工作,我们也必当用心参与,为全球命运共同体做出小小的贡献。类似文章请查阅:
最后,我们对“南京2.23火灾事故”中遇难的居民致以沉痛的哀悼,望你们的家人能尽快走出悲伤;对受伤的居民致以诚挚的问候,望你们能够早日康复;愿未来民生科技的发展和安全意识的增强能够规避更多此类事故的发生。
图片来自网络,如有侵权,请联系删除。
Thanks for reading!
晨辉翻译助力知识产权翻译

晨辉专利翻译服务:
百余名全职译者团队,深厚的理工科兼专利翻译相关背景;
机械、电信、生物、化学、材料、医药、生命科学等领域;
英、日、韩、德、法、意、泰、印尼等百余种语言;
专利申请文件、审查意见通知书、诉讼文件、法律文件等;
扫描二维码
联系我们
晨辉翻译
点个在看你最好看


