大数跨境
0
0

今夏如此炎热, 降温成了难题,除了空调风扇,还有啥新发明

今夏如此炎热, 降温成了难题,除了空调风扇,还有啥新发明 晨辉翻译
2022-07-22
1
导读:简单点说,就类似于用“乾坤大罗移”的方式借力打力,利用太阳能装置让室内热气流出,并产生一定的空气流动,同时尽力隔绝太阳对楼体照射产生的热量。


今年夏天给人的感觉如果用一个字形容,就是“热”,两个字形容就是“酷热”,四个字形容就是“热得要命”。全国多个城市的气温都在近期罕见地逼近了40摄氏度,甚至达到40摄氏度的高温。
从全球范围来看,与我们同在北半球的一些欧洲国家也同样地出现了高温天气和由此带来的森林野火和人员损失。就连以“全年气候温和湿润”而著称的英国也在今年连续创下了多个有记录以来的最高气温纪录。
面对高温,我们使用相对普遍的降温设备几乎都是空调,但是空调使用不当或者过度,往往会给人们带来猝不及防的“空调病”,引发诸如:喉咙干涩、鼻塞流涕、关节酸痛、头痛乏力等症状。
当然除了空调以外,我们夏天经常使用的降温设备或方法还包括:风扇、凉席、水床、冰块、地面洒水等。
那么随着科技的不断发展,除了上述方法和设备外,还有没有什么新奇的发明有助于帮助人们在炎热的夏季降温的呢?下面就让我们一起来看看。
首先看一个日本的发明:
1、身体冷却装置(BODY COOLER)
由图可知,这是一种穿戴在人体上的设备,根据摘要中的描述:
夏等の気温が高く暑い時期に、室内でも、室外でも使用でき、冷却スプレーの噴射により、身体に装着している保冷剤を適宜、冷却することができるような構造にして、低コストで冷感を持続しながら得られる身体冷却装置を提供することを課題とする。”(提供一种身体冷却器,该冷却器可用于室内和室外的高温炎热季节,如夏季,并具有一种结构,能够通过喷射冷却喷雾来适当地冷却穿在身体上的冷却剂,从而以低成本的方式持续获得凉爽感。)
【解決手段】冷却スプレーや保冷剤や不凍液等の凍りにくい溶液を循環させる管を内蔵した冷却部のケースと、保冷剤や不凍液等の凍りにくい溶液を循環させる管を内蔵した身体装着部と、前記二つの部分を結ぶ不凍液等の凍りにくい溶液を循環させる管とを備え、冷却スプレーを噴射することによる冷却ガスの冷気で、ケース内の保冷剤を冷却し、その冷気が管の中の溶液に伝わり、その溶液が循環することによって、身体装着部の保冷剤を冷却し、適宜、身体が冷却されて冷感を得ることができる。
(解决方案:所述身体冷却器包括:具有内置管的冷却部件的壳体,以使不易冻结的溶液(诸如冷却喷雾,冷却剂,防冻剂等)循环;身体穿戴部件,其具有内置管以使不易冻结的溶液(诸如冷却剂,防冻剂等)循环;以及管,其连接两个部件以使不易冻结的溶液(诸如防冻剂)循环。通过喷射冷却喷雾产生的冷却气体的冷空气来冷却壳体中的冷却剂。冷却空气扩散到管中的溶液,并且溶液循环以冷却身体穿戴部件中的冷却剂,以适当地冷却身体以获得凉爽感。)
只是,这件发明更适合用于个人的降温,不适合用于室内环境的降温。但是如果价格便宜,“穿戴方便且续航久”,能穿到室外也挺好的。
再看下面这个发明:
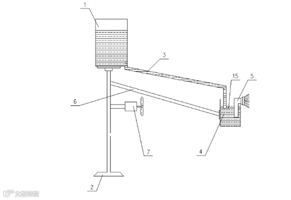
2、《一种太阳能室内降温装置》
从图中可以看出,它是用于一整栋楼的降温装置:
根据其发明内容的描述:本发明为克服现有技术对夏天室内降温采用空调存在的诸多缺陷,发明出一种利用太阳能自身的热量,使之形成热空气,产生热气流流动达到室内降温、“以毒攻毒”的太阳能室内降温装置,解决并实现了在炎热夏天,人们可以在室内享受着凉爽舒适而又健康的生活环境中生活,真正摆脱酷暑的煎熬。
其技术方案如下:一种利用太阳能自身的热量,使之形成产生热气流流动,带走室内热空气,同时隔断太阳热量对室内的直接热传递,达到楼房室内降温的太阳能室内降温装置,其包括设置在楼房外墙东、西两向墙壁和楼顶的墙壁聚热器、楼顶聚热器及其构成聚热器的隔热板、导热板,产生热空气流动的热空气通道、室内热空气出口、室外空气进气口,楼顶排气口、人字架空间进气口。
简单点说,就类似于用“乾坤大挪移”的方式借力打力,利用太阳能装置让室内热气流出,并产生一定的空气流动,同时尽力隔绝太阳对楼体照射产生的热量。
这项发明看起来需要做的工程很多,对于新建楼房来说还好实施,但是不知道对于已经入住的楼房来说是否具有较好的可操作性,包括施工难度和成本预算上是否有困难。
还有下面这个:
3、《一种人体降温装置》
根据摘要的描述:它是一种人体降温装置,具体涉及一种可近身应用的人体降温装置。本实用新型为了解决人体持续高温发热影响身体健康的问题。本实用新型包括补水容器、固定支撑装置、导管、和喷雾装置,所述喷雾装置由储水容器和喷雾器组成,喷雾器是微孔超声波喷雾器,补水容器为刚性密闭容器,补水容器设置在储水容器上方,补水容器的底部通过导管与储水容器连通,补水容器固定在固定支撑装置上,喷雾装置通过支撑骨架固定在固定支撑装置上或者补水容器上,所述人体降温装置还设有可旋转的扇叶和用于驱动扇叶转动的电机。本实用新型安装拆卸简易,使用方便,可以接近人体发挥喷雾功能,同时设置的扇叶可增加空气的流动,其散热降温效果更加明显,显著提高降温效果。
这项发明应该就是相当于一个电动风扇+补水喷雾结合的装置,利用风和水来达到帮助人体快速降温的效果。可能比单纯的风扇好一点,就是如果这个装置放在家里会有点占空间,看看那个水箱位置那么高,还有那伸出的长杆。
4、《一种由内而外的降温方法》(Inner peace)

一种通过内心调整而实现的一种通过感受来达到降温效果的方法,包括但不限于:想想钱包余额看看每月房贷、听听舒缓音乐、念念唐诗宋词....所述方法即心静自然凉
以上小编找到的四种尚未普及的降温装置或者方法你觉得哪一种在未来更可行呢?
总之,不论如何,随着全球气候变化加剧,未来极端高温天气的持续时间和出现的频率有可能不会在短期内降低,当然如果气候变暖得到明显的缓解,我们也会减少遇见这种极端高温天气的概率。所以,寻找“节能环保且护体”的降温装置或方法也将是未来的一大创新领域。

晨辉翻译助力知识产权翻译

晨辉翻译从1998年成立至今,已经走过了24年的风风雨雨,为上百家国内外知名的科技企业和专利代理事务所提供了专业的语言解决方案。未来我们将继续迎难而上、砥砺前行,力争成为专利翻译行业最专业和值得信赖的语言提供商。

                     


晨辉专利翻译服务:

百余名全职译者团队,深厚的理工科兼专利相关背景;

机械、电信、生物、化学、材料、医药、生命科学等领域;

英、日、韩、德、法、意、泰、印尼等百余种语言;

专利申请文件、审查意见通知书、诉讼文件、法律文件等;


晨辉翻译成立于1998年,总部位于中国上海,并在世界各地设有多个分支机构以及翻译研究院。通过23年的不懈努力,我们为全世界各行各业的客户提供了高质量的语言服务,成为了美国翻译协会ATA和中国翻译协会TAC的会员单位,并通过了ISO 9001认证。我们提供百余种语言服务,除了常规的文件翻译服务,我们还发展了跨境电商语言服务、文创产业语言服务、知识产权语言服务以及全球口译语言服务,并且顺应“一带一路”的国情战略推出了特别的“一带一路”语言服务。


如有任何需求,可致电全国免费热线 400 838 0155 
或扫描以下二维码。

扫描二维码

联系我们

晨辉翻译


点个在看你最好看


【声明】内容源于网络
0
0
晨辉翻译
上海晨辉翻译服务公司成立于1998年,提供针对文化创意产品的翻译服务,包括为短剧、网络文学和影视作品提供字幕翻译和后期制作服务。
内容 217
粉丝 0
认证用户
晨辉翻译 上海晨辉翻译服务公司 上海晨辉翻译服务公司成立于1998年,提供针对文化创意产品的翻译服务,包括为短剧、网络文学和影视作品提供字幕翻译和后期制作服务。
总阅读299
粉丝0
内容217