“早在 2008 年,乔布斯曾与我们讨论过汽车,内容涉及到如何打造一辆汽车、仪表盘或座位如何设计、通过何种方式启动汽车……”
这是 iPod 之父 Tony Fadell ,在2015年接受采访时说过的一段话。

十二年过去了,我们已经步入了全世界造新能源汽车的时代。
马斯克的特斯拉股市疯长,市值有三个丰田那么多,让他成为了世界排名第二的有钱人。

国内的蔚来、小鹏、理想市值也都很不错,用户和影响力也越来越广。
就连贾跃亭都传出了要翻身在即。
而据中国台湾《经济日报》消息称,传闻已久的苹果电动汽车也要来了。
预计将于2021年第三季度正式发布,甚至还传出了价目表。
售价5万美元左右,约合人民币不到33万元。

根据就是,苹果正在与台积电苹果合作研发“自动驾驶芯片”。
同时,还向众多汽车零部件厂商提出供货要求。

你不造车,要汽车零件干嘛,对吧。
不过还有另外一种说法,就是明年发布的不会是苹果自己造的车Apple Car。
而是可供汽车搭载的苹果自动驾驶系统。

可靠的佐证有两点:
首先,就是苹果内部的「泰坦计划」。
这一个苹果在2014年秘密秘密成立的电动汽车开发组,内部成员均为苹果的精英员工。
原本当时苹果准备打造一辆极具苹果特色的Apple Car,且制定了大量天马行空的目标。

包括在前挡和车窗上整合 AR 或全息技术,用特殊聚合物打造的吸热车顶和类似波音 787 的变色玻璃,
改变传统轮子,设计没有方向盘和油门踏板的汽车内饰等等。
但真的有点难,所以后期的主要研发其实是增强现实、自动驾驶方向。
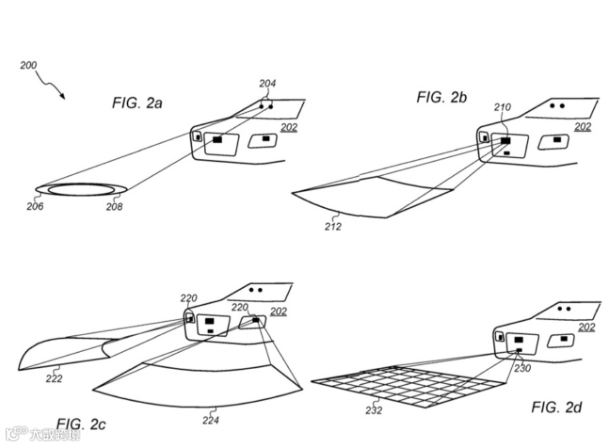
包括近几年申请的专利也都和自动驾驶方向有关。
比如这个“多传感器实时对准和校准”专利。

传统的车辆在遇到各种干扰,例如颠簸,急刹等,可能会破坏传感器的原本定位。
这样就会造成对周围事物的感知误差,增添危险性。

总之,就是苹果近几年的研发重点在于技术,而非车子。
这也就是为啥在2017年,苹果在加利福尼亚州的自动驾驶汽车测试中用的还是一辆雷克萨斯的原因。

要知道,同年的特斯拉Model 3已经交付,苹果真的“太慢了”。
也就是因为这个“慢”才有了第二佐证,就是中国美媒与分析师,包括郭明錤。
都表示,预计到2025年,Apple Car才会正式亮相。

我个人更倾向于是后者的说法,但也真希望明年真的能发布。
因为真的很让人期待,不过不是苹果粉那种期待。
而是就是想看看一个手机厂商造出的汽车到底能啥样。

一个搭载苹果系统的电动汽车,是否能实现与手机、电脑的完美交互。
Siri能否成为一个合格的汽车管家。
苹果研究的磷酸锂铁电池续航,是否会像手机一样不抗用。
为了环保不带充电器等等。

假设Apple Car明年真的发布了,卖的价格和特斯拉差不多。
你会选哪个呢?
反正是我投共享单车一票!
欢迎评论转发,优质的评论入选精美评论可以获得CICI提供得精美数据线一条哦!(免费包邮到家哦)


点击阅读原文,更多福利!

