一、概述
导航雷达作为当代雷达技术的一项重要应用领域,继20世纪40年代问世以来一直受到各国的重视,不论是在军事上的反恐作战、敌情预警、还是民用上的防撞规避、灾害救援等方面,均有广泛的应用前景。1988年,Philips研究实验室将FMCW(调频连续波)技术引入到导航雷达系统中。相比于传统脉冲模式工作的雷达系统,FMCW系统的主要优点在于采用简单结构就能获得较高的距离分辨率,因而更容易携带或安装在小型舰船和车辆上。此外,FMCW雷达一般收发天线分离,理论上不存在脉冲雷达所存在的测距盲区,并且发射信号的平均功率等于峰值功率,因此只需要小功率的器件,从而降低了被截获干扰的概率;其缺点是测距量程较短,在小量程时,距离多普勒耦合以及收发隔离难等。本文将探讨调频连续波导航雷达的一些基本原理。
二、探测原理
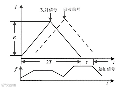
采用无调制波形的单频连续波雷达不能测量目标距离。为了同时获取目标的距离和速度,连续波雷达的发射频率必须随时间变化。相参FMCW雷达通过天线向外辐射和接收一系列的调频连续波,根据回波信号相对发射信号的频率变化确定目标距离和多普勒信息,如图1所示。这个相对于发射信号的频率变化就称为差拍频率(也称为差拍信号),可以看出,目标距离与差拍频率有关,差拍频率越大,目标距离越远,这个差拍频率较低,一般在数百KHz~几MHz范围,因此硬件处理相对简单、适合数据采集并进行数字信号处理。由于调制不能总沿着一个方向连续变化,一般为周期调制方式。比如锯齿波、三角波等,这个周期称为调制周期。三角波调制信号因为其上下扫频对称的特点,在处理距离速度耦合问题上具有优势。
探测最大量程的往返延时称为最大往返延时。为使差拍频率积累足够多的能量并提供高的速度分辨率,调制周期一般应数倍于目标回波的最大往返延时。同时,调制周期还需要受到距离分辨率和目标最大相对速度的限制。

图1 调频连续波探测原理
三、主要组成和处理流程
FMCW导航雷达系统主要可分成8个模块:线性调频信号产生、发射机、发射天线、接收天线、接收机、混频器、信号处理模块和综合显控模块。如图2所示,频率源中的恒温晶振为系统提供稳定的参考频率,直接数字频率合成器等部件产生所需的线性调频信号,之后调制到射频段。射频信号通过功率分配后分成两路,一路经过发射组件中的可变衰减器和功率放大器后馈入发射天线中,向外辐射FMCW信号,另一路则作为本地振荡信号与回波信号进行混频。由于发射机的相位噪声边带可能会掩盖小目标,使得接收机灵敏度下降,为提高系统收发的隔离度,采用分置的发射和接收天线。

图2 调频连续波雷达主要组成和处理流程
接收天线信号通过接收机的限幅、滤波和低噪声放大后,与本地振荡信号零差拍正交混频,产生中频IQ信号。两路中频信号分别经低通滤波(产生低频差拍信号)和放大后由AD采样和量化成数字IQ信号。数字信号处理模块对数字IQ信号进行频谱分析和过门限检测:当判断目标存在时,在频域中解算出距离与速度信息,最后,将处理后的结果显示在综合显控模块上显示。
参考文献:
[1]李勇. 便携FMCW雷达系统设计与硬件实现[D].电子科技大学,2018.
[2]朱江,董健,王雪松.相参FMCW导航雷达方案设计与信号仿真[J].现代电子技术,2014,37(19):1-5.DOI:10.16652/j.issn.1004-373x.2014.19.021.
[3]李爽. 三角调频连续波雷达体制下的多目标探测算法研究[D].重庆邮电大学,2017.
[4]高志强. 船用调频连续波雷达信号处理关键算法研究与实现[D].电子科技大学,2016.
[5]https://mp.weixin.qq.com/s/ftD1yRed4wvdetcMy90aYg

