呼叫中心客服素质参差不齐,管理员却无法追踪评估?语音客服培训常无的放矢?逸创云客服更新录音质检大功能,帮助企业管理者合理评估呼叫中心客服工作,帮助客服发现问题并及时改进,进而提高整个呼叫中心的客服水准。快来看看怎么用:
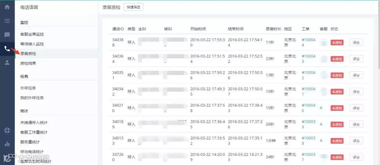
1、通过左侧精简后的菜单导航栏,找到电话呼叫中心>录音质检,质检界面,显示平台里所有的语音记录,管理者可通过点击「快捷筛选」,来选择想要评测的通话录音。
注:此功能目前支持管理员和创始人来操作,客服权限暂未开放,所以团队主管或顾问暂时还无法为质检来评分。

2、「快捷筛选」支持四种条件,分别是类型、客服\客服组、时间、状态。

3、「选择客服」菜单,支持按「客服组-具体客服人员」来筛选。


4、 选定目标,点击「评分」即可进行质检评分。

5、管理者可在界面下载语音、为语音进行权重比打分、填写评语,点击「提交质检」即可评分成功。即便是已关闭的工单,也可为语音进行质检打分。

注:评分内容及权重比可以通过「设置>客服接入渠道>电话语音呼叫中心>质检设置」进行自定义。

6、提交质检后,语音条目后的状态会从
变为
。
1、质检员如何查看
质检员可在「电话呼叫中心>质检结果」中,看到其所有的评分情况。

2、客服如何查看
客服人员可在「电话呼叫中心>质检结果」中,看到质检员为其语音进行的评分,点击详情可以看到权重比评分及质检员为其写的评语。


逸创云客服
企业信赖的全渠道云客服平台
微信号:comkf5
![]()
↓戳这里,注册立即免费体验!


