
引用:RAPA
目录
1. Dampling System for A wheel of a motor vehicle,车辆车轮的主动底盘阻尼系统
2. Emergency Operating Method for An Active Chassis of A motor vehicle, 汽车主动悬架紧急操作方法(知识星球发布)
3. MPU Axle Set With Common ECU, 具有共同ECU的液压泵总成
4. Felxible Motor Pump System,灵活的电动机泵系统(知识星球发布)
5. Damping arrangement for an axle of a motor vehicle and motor vehicle,车辆主动底盘中液压能量供应装置
6. Energy Supply Unit for Active Chassis System,主动悬架系统能量供应装置(知识星球发布)
7. Casing Configuration for MPE Axle Set,液压泵装置的外壳配置(知识星球发布)
注:以上相关内容资料在知识星球中发布(可点击文末“阅读全文”加入)
01 Dampling System for A wheel of a motor vehicle
车辆车轮的主动底盘阻尼系统
所述阻尼系统包括双作用液压缸和具有活塞的阻尼器,所述阻尼器可与车轮的车轮悬架系统耦合。液压泵具有液压储液器和包括阀的液压单元;液压泵和液压单元与液压缸的液压室配合,使得根据液压单元的液压泵的输送方向,可以提供活塞在第一驱动方向或在第二驱动方向上的运动;液压泵和阻尼器通过液压单元和包括管子和软管的管-软管系统连接;阻尼器的液压缸和阻尼系统的软管系统的综合液压能力在9ml / 100bar和14ml / 100bar之间。

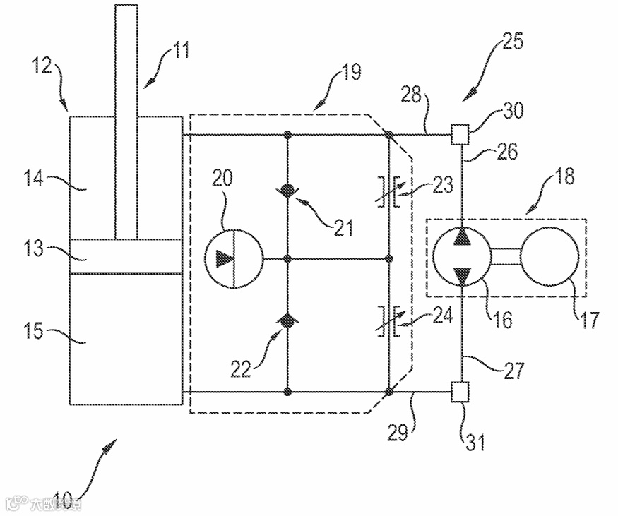
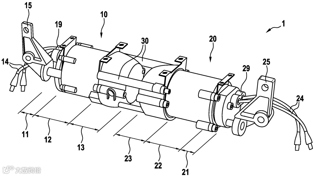
上图为用于机动车辆车轮的主动底盘减震系统 10 的相当示意图。减震系统 10 包括可连接至车轮(未示出)的悬架系统(未示出)的减震器 11。减震器 11 由双作用液压缸 12 和活塞 13 构成,其中活塞 13 在液压缸 12 中来回往复运动(在图 1 中为上下运动)。
设计为双作用液压缸的液压缸 12 在活塞 13 的每一侧包括液压腔 14、15。根据向两个液压腔 14、15 中的哪一个供应液压油以及从两个液压腔 15、14 中的哪一个排出液压油,活塞 13 可在第一驱动方向或相反的第二驱动方向上移动。以下假设活塞 13 的第一驱动方向是回弹方向驱动,活塞 13 的第二驱动方向是压缩方向驱动。
减震系统 10 还包括可由电动机 17 驱动的液压泵 16。液压泵 16 和电动机 17 形成泵 - 电动机单元 18。液压泵 16 是可在不同旋转方向上驱动的可逆泵,以提供不同的输送方向。
图 1 的减震系统 10 还包括具有液压油箱 20 以及阀门 21、22、23、24 的液压单元 19。阀门 21、22 为止回阀,阀门 23、24 为阻尼阀。液压油箱 20 分别接合在止回阀 21、22 之间以及阻尼阀 23、24 之间的连接至液压缸 12 的液压腔 14、15 的液压单元 19 的管路上。
根据液压泵 16 的输送方向并且优选还根据液压单元 19 的阀门 21、22、23、24 的位置,为了使活塞 13 在第一运动方向(即回弹方向)上运动,向液压腔 14 供应油并且从液压腔 15 排出油。或者,为了使活塞 13 在第二运动方向(即压缩方向)上运动,向液压腔 15 供应油并且从液压腔 14 排出油。
泵 - 电动机单元 18 的液压泵 16 通过管 - 软管系统 25 连接至包括液压油箱 20 和阀门 21、22、23、24 的液压单元 19,该液压单元优选作为单元安装在减震器 11 上,或安装在液压缸 12 上或集成到液压缸 12 中。
在优选实施例中,从液压泵 16 开始,管道 26、27 和随后的软管 28、29 朝向液压单元 19 并从而朝向液压缸 12 延伸。连续的管道和软管通过联接装置 30、31 彼此连接。
液压泵 16 通过相应的管道 26、27 和相应的软管 28、29 连接至液压单元 19 的用于液压泵 16 的相应接口,并通过液压单元 19(具体为液压单元 19 的管路)连接至液压缸 12 的两个相应液压腔 13、14 中的一个。
减震器 11 的液压缸 12 和减震系统 10 的管 - 软管系统 25 以及减震系统 10 中使用的液压油的组合液压容量为 9mL/100bar 至 14mL/100bar。

鉴于 9mL/100bar 至 14mL/100bar 的液压容量(这尤其可以通过使用管 - 软管系统 25 来有利地提供),可以在低重量和小安装空间要求下提供减震系统 10 的有利动态特性和有利声学特性。在这种情况下,然后可以确保高力梯度以提供有利的动态特性。另一方面,减震系统 10 趋向于低噪音水平,从而提供有利的声学特性。
减震器 11 的液压缸 12 和减震系统 10 的管 - 软管系统 25 以及减震系统 10 中使用的液压油,在活塞 13 的第一方向(特别是回弹方向)上的组合液压容量为 10mL/100bar 至 14mL/100bar,优选 11mL/100bar 至13mL / 100bar,特别优选 11.5mL/100bar 至 12.5mL/100bar。在活塞 13 的第二驱动方向(特别是压缩方向)上,减震器 11 的液压缸 12 和减震系统 10 的管 - 软管系统 25 以及减震系统 10 中使用的液压油的液压容量为 9mL / 100bar 至 12mL/100bar,优选 10.5 至 11.5mL/100bar,特别优选 10mL/100bar 至 11mL/100bar。在活塞 13 的第一驱动方向(特别是回弹方向)上,上述液压容量特别是 12.0mL/100bar,在活塞 13 的第二驱动方向(特别是压缩方向)上,液压容量特别是 10.5mL/100bar。
上述液压容量取决于减震器 11 的液压缸 12 的液压容量、管 - 软管系统 25 的液压容量以及液压油的液压容量。在活塞 13 的第一驱动方向(优选为回弹方向)上,减震器的液压缸 12 的液压容量为 3.5mL/100bar 至 4.5mL / 100bar,特别是 4.0mL/100bar。在活塞 13 的第二驱动方向(特别是压缩方向)上,减震器 12 的液压缸 12 的液压容量为 2mL/100bar 至 3mL/100bar,特别是 2.5mL/100bar。
液压油在无空气状态下的液压容量为 1.6mL/100bar 至 1.9mL/100bar,在含空气状态下的液压容量为 2.2mL / 100bar 至 2.7mL/100bar。
管 - 软管系统 25 的管道 26、27 优选由金属材料制成,因此相对刚性且略有弹性。管 - 软管系统 25 的管道 26、27 的液压容量可忽略不计。管 - 软管系统 25 的管道 26、27 具有可忽略不计的或零的液压容量。

管 - 软管系统 25 的软管 28、29 的液压容量在 0.33m 的软管长度下为 5.1mL/100bar 至 5.5mL/100bar,优选 5.2mL/100bar 至 5.4mL/100bar。这是所有软管 28、29 的总液压容量。
软管 28、29 优选由橡胶纤维材料制成,其中在橡胶材料的外层和橡胶材料的内层之间布置至少一层纤维材料。如果在橡胶材料的外层和内层之间布置两层纤维材料,则特别地规定,在两层纤维材料之间布置橡胶材料的另一内层。
提供一种用于机动车辆车轮的主动底盘减震系统 10,其中泵 - 电动机单元 18 的泵 16 通过管 - 软管系统 25 的管道 26、27 和软管 28、29 连接至优选安装在减震器 12 上并包括液压油箱 20 以及阀门 21、22、23、24 的液压单元 19,其中特别是沿着软管 28、29 的长度调节液压容量,使得当活塞 13 在液压缸 12 的较高液压腔压力侧上移动时,提供 9mL/100bar 至 14mL/100bar 的液压容量,在回弹方向上特别是 12mL/100bar,在压缩方向上为 10.5mL / 100bar。
管 - 软管系统 25 中的管道 26、27 的液压容量可忽略不计。液压单元 19 中的管路的液压容量也可忽略不计。液压单元 19 的液压油箱 20 的液压容量在提供减震系统的有利动态和声学特性方面无关紧要,因为液压油箱 20 始终与减震器 11 的液压缸 12 的液压腔配合,该液压腔的压力低于正在排出液压油的液压腔的压力。液压油箱 20 的液压容量仅用于在期望的极限内为减震系统 10 提供预加载压力。
液压油箱 20 的液压容量仅用于在期望的极限内为减震系统 10 提供预加载压力;液压容量也称为液压弹性,其定义了压力变化时的体积变化。液压容量在每种情况下均指 20°C 的温度;减震系统 10 可以在低重量和小安装空间要求下提供优异的动态和声学特性。
02 Emergency Operating Method for
An Active Chassis of A motor vehicle
汽车主动悬架紧急操作方法
(知识星球发布)
一种紧急操作方法,用于在主动底盘的泵发生故障时操作机动车辆的主动底盘;该方法包括(a)检测泵的电动驱动机器的适当电力供应的终止;(b)使高压下运行的电力驱动机器短路;(c)断开电驱动机的高压电源。
具体内容可进入知识星球查看......

03 MPU Axle Set With Common ECU
具有共同ECU的液压泵总成
一种车辆底盘系统中用于供应液压能的装置,包括第一液压泵和用于驱动第一液压泵的第一电动机、第二液压泵和用于驱动第二液压泵的第二电动机,以及设置用于控制第一和第二电动机的公共电子单元;其中,两个电动机和两个泵优选设计为结构相同和/或分别形成第一和第二电机泵组。

主动底盘具有液压可控的减震器,其中给定减震器的工作缸的两个缸腔或阻尼器腔室不仅通过一个或若干个适用可控的阻尼或节流阀相互连接,而且其中可以主动控制缸腔的填充状态,并根据需要可将液压力相应地引入底盘。例如,减震器的两个缸腔可以通过液压泵相互连接。
因此,通过泵送液压流体,例如可以抵消车辆的俯仰和/或翻滚运动。反之亦然,减震器、液压泵和电机的这种设置原则上还可被用来将通过回收获得的电能反馈到车辆的车载网络。此外,当使用泵时,可以设置不同的阻尼行为,例如,“软”或“硬”或动态,或取决于道路性能或路面状况。
为了控制给定液压泵的电机,这里通常提供相应的控制单元,从而形成所谓的电机-泵单元,它具有泵、电机和驱动单元(ECU,电控单元),并通常被配置为结构单元。已知为每个减震器设置确由一个电机-泵单元控制。这里,相应的电机-泵单元可被直接安装到各自的减震器或至少靠近各自的减震器。不过,由于安装空间的原因,这并不总是可能的,因此相应的电机-泵单元可能必须放置在车辆中远离减震器的地方。这里必须注意正确的液压连接和正确的电缆布线。
根据本发明,提供了一种用于在车辆的底盘系统中提供液压能的装置,包括:
- 第一液压泵和用于驱动第一液压泵的第一电机;
- 第二液压泵和用于驱动第二液压泵的第二电机;
- 共同的电子单元,所述电子单元被设置成同时控制第一电机和第二电机。
这里,两个电机和两个泵优选在结构上相同或设计相同,即,它们展示相同的特性和尺寸和/或优选形成第一和第二电机-泵组。
为两个电机设置共同的电子单元能够实现各种不同的协同效应。鉴于共同的电子单元的结构性构造,不同的部件如微控制器、电容器尤其是高压电容器、电过滤元件,尤其是输入和/或EMC滤波器,以及功率晶体管可通常共同用于两个电机,因此这些部件的数量与用于已知电机-泵单元的内置在两个单独控制单元的部件相比是减少的。例如,在共同的电子单元中,优选地只有一个逻辑部件和/或只有一个微控制器设置用于控制两个电机。通过减少数量的部件,减少了所需的安装空间、用于结构性部件的成本和安装的工作量等等。

此外,在共同的电子单元中,不同部件的大小或基数与用于已知电机-泵单元(具有类似的操作参数)内置在两个控制单元的部件(数量之和)相比通常可以减少,因为通常不必要例如保证两个电机或泵同时以最大功率运行,或者这至少不是长期必要的。
优选地,例如,因此可设置具有较小总电容量的电容器和/或具有较小(连续)功率的电力电子器件,这降低了对于结构性部件的成本和所需的安装空间。例如,与用于具有类似操作参数尤其是具有相同连续输出功率的已知电机-泵单元内置在两个控制单元中的(高压)电容器的总和相比,(高压)电容器的总电容和/或最大(连续)输出功率可降低25%或更多。
优选地,共同电子单元的整个电力电子器件的最大(连续)输出功率小于第一和第二电机的最大(连续)功率之和,例如小于或等于95%,90%,85%,80%,75%,70%,60%或50%。
可替换地,也可以提供共同电子单元的电力电子器件的最大(连续)输出功率,其对应第一和第二电机的最大(连续)功率的100%。优选地,此外,电机的最大(连续)功率在0 .1和5kW之间的范围内,例如,0 .1,0 .2,0 .5,1,1 .5,2,2 .5,3,4或5kW,其中每个所提到的值也可以表示所涉值范围的上限或下限。空载状态的工作压力在此优选在5和25bar之间,其中在工作期间可能出现超过200bar的峰值。
液压流体的输送速度在此优选在15和30l/min的范围内,其中泵端口的两个管路端口的压力差可达到30bar。尤其对于较高的压力差,容积流量还取决于电机泵组的功率或大小。对于功率为3-5kW或外径在90-120mm范围内的电机,在100-150bar范围内的压力差下,容积流量通常可达到10l/min。电机的转速并因此还有液压泵的转速与容积流量成比例。最大转速通常在5000-10,000rpm的范围内。
在内置时还会产生协同效应,尤其是当电缆布线或电连接本发明的装置时,所述装置优选地只有一个控制端口,例如用于CAN总线,还可包括电源电压端口,并且只有一个电源端口,例如用于48V,其还可适合作为高压端口用于例如400V或800V,尤其优选地是每个都直接安置在共同电子单元。因此,所需的连接电缆比两个单独的已知电机-泵单元的情况要少,还排除了意外的互换。相应的,每个车轴仅只有一个电子单元需要被耦合。
可替换地,也可以提供多个控制端口和/或电源或高压端口。尤其是,提供两个或更多个电源端口可能是有利的,尤其是在低电源电压的情况(例如,48V),以便保证对于本发明的装置有足够的电源供给。
在最简单的情况,由于回收运行获得的电能可被馈送入车载网络。不过,本发明的具有共同电子单元的装置还允许立即将在一个电机中回收的部分或全部的电能进行馈送,并且例如无需绕行通过车载网络直接送入另一电机。这使得减少了馈送入车载网络的能量的量。相应的,电能存储元件(例如在车载网络)可被设计得更小,并相应的更具成本效益。
第一和/或第二液压泵在此优选地是内齿轮泵,因为这具有低质量惯性和高容积效率,从而允许具有最小磁滞和最小能量损耗的高度动态的交替运行。发电机运行和电机运行之间的交替并且反之亦然在此优选地可能具有的时间分辨率为可达到50Hz,并且控制单元也为此目的被合适的设置。尤其是,电机-泵单元优选适于在车辆车体频率的范围内(可达5Hz)和在车轮频率的范围内(可达15Hz)与阻尼器一起运行。

电机是所谓的湿转子,其中电机的转子在液压油中。优选地,液压油压力通过所谓的外壳吸收。
第一液压泵和第一电机和/或第二液压泵和第二电机各自稳固地彼此机械连接,并各自形成紧凑的结构性单元,以下称为电机-泵组。优选地,电机和泵被直接相邻安置,并分别具有例如相应的表面,优选平面前表面,作为共同的边界表面。例如,通过电机和泵的直接螺纹连接,通过一个或若干个连接结构件,通过共同的支撑件和/通过共同的外壳(其中随后安置电机和泵,外壳优选基本上闭合或完全闭合并且尤其优选是密封的,例如水密或溅密的),形成电机和液压泵的结构性牢固连接。
用于车辆的根据本发明的底盘系统包括至少第一和第二液压可控的减震器,分别具有两个阻尼器或压力腔,例如通过可运动的阻尼器活塞分隔开,优选被分配给共同的底盘轴或安置在该轴,以及如上所述的装置,用于在车辆的底盘系统提供液压能,第一电机泵组或第一液压泵将第一减震器的压力腔彼此液压连接,而第二电机-泵组或第二液压泵将第二减震器的压力腔彼此液压连接。可以通过例如相应的电机-泵单元或多或少来自腔室的阻尼或节流压力波动来设置“软”或“硬”阻尼。
在这种情况,相应的电机-泵单元因而被液压驱动,以便电机可作为电动发电机运行,从而可以重新获得(回收)电能。此外,还可以主动设置或以有针对性的方式设置减震器的零位或止动位,并且还可以在运行期间更改(主动底盘)。应当理解,底盘系统可具有一个或若干个另外的车轴,每个车轴分别可配备有本发明的另一装置,用于控制相应的减震器。
04 Felxible Motor Pump System
灵活的电动机泵系统
(知识星球发布)
本发明涉及一种用于产生可用液压,特别是在车辆的底盘系统中产生可用液压能的装置,包括:至少一个电动机‑泵组,以及用于调节电动机‑泵组的电子单元;电动机‑泵组设置在形成电动机‑泵外壳或为电动机‑泵外壳的一部分的电动机‑泵壳体中;电子单元设置在形成电子‑单元外壳或为电子‑单元外壳的一部分的电子‑单元壳体中,电子单元和电动机‑泵组通过供电线路电连接。
具体内容可进入知识星球查看......

05 Damping arrangement for an axle of a motor vehicle and motor vehicle
车辆主动底盘中液压能量供应装置
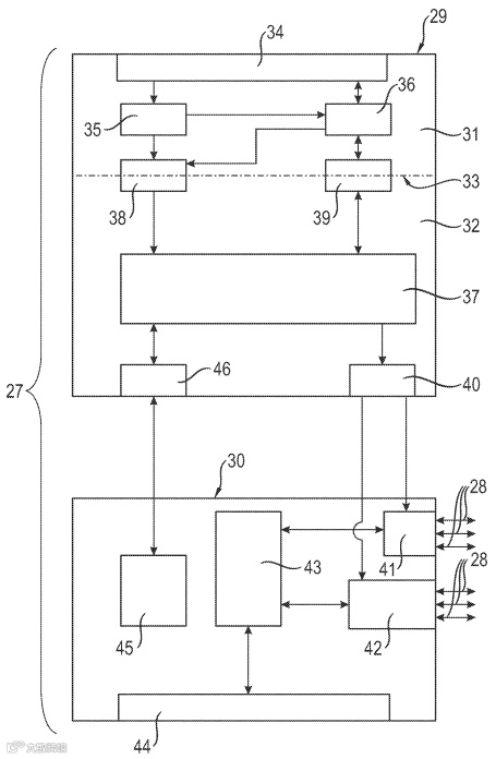
专利摘要:机动车辆主动底盘车轴的减震装置。一种减震系统与车轴的每个车轮相互作用。每个减震系统包括以下组件:一个包含双作用液压缸和活塞的减震器、一个液压泵和驱动该液压泵的电动马达,以及一个包含液压储液罐和阀门的液压单元。各个减震系统的液压泵和液压单元与液压缸的液压腔室以如下方式相互作用,即根据液压泵的输送方向,可以使活塞在第一或第二操作方向上移动。两个减震系统的电动马达均连接到一个共同的控制装置并可由此控制装置驱动,其中该共同的控制装置具有分布在不同印刷电路板上的电子组件。

第一块PCBA具有低压组件的低压范围和具有高压组件的高压范围,其通过隔离组件与低压范围电隔离,其中CPU包括在高压组件中;第二块PCBA具有专门的高压组件,其中第二块PCBA电连接到第一块PCBA的高压范围。
在根据本发明各方面所述的阻尼布置中,为两个阻尼系统以及因此为两个阻尼系统的电动机提供了公共控制装置。
该控制装置的电子组件分布在第一和第二印刷电路板上,其中第一印刷电路板具有低压范围和高压范围,其组件通过隔离组件进行电隔离。所述CPU是第一印刷电路板的高压范围的一部分,与第二印刷电路板电连接。控制装置和阻尼装置的设计简单紧凑,可以使用电流可靠地驱动两个阻尼系统的电动机。

所述第一印刷电路板的低压范围的低压组件优选具有低压连接、低压分配器和信号转换器。所述第一印刷电路板的电隔离的隔离组件具有变压器组件和数字隔离器;除CPU外,第一印刷电路板的高压范围的高压组件具有用于DC / AC转换器的控制逻辑系统,其中用于为电机提供电流的DC/AC转换器是第二印刷电路板的高压组件;第二印刷电路板优选具有高压连接和作为附加高压组件连接在高压连接和DC/AC转换器之间的DC链路电容器;在两个印刷电路板和高压范围以及第一个印刷电路板的低压范围上的电子组件的这种分布是特别优选的,以确保在简单,紧凑设计的情况下可靠地驱动电动机。
低压组件的工作电压小于50伏,最好小于25伏,尤其最好小于15伏。高压组件的工作电压应大于200v,最好大于400伏,尤其最好大于500伏,电流隔离最好提供高达2500伏的隔离。所述第一印刷电路板的低压范围的低压组件优选具有低压连接、低压分配器和信号转换器。所述第一印刷电路板的电隔离的隔离组件具有变压器组件和数字隔离器。除CPU外,第一印刷电路板的高压范围的高压组件具有用于DC/AC转换器的控制逻辑系统,其中用于为电机提供电流的DC/AC转换器是第二印刷电路板的高压组件;第二印刷电路板优选具有高压连接和作为附加高压组件连接在高压连接和DC/AC转换器之间的DC直流母线电容。
在两个印刷电路板和高压范围以及第一个印刷电路板的低压范围上的电子组件的这种分布是特别优选的,以确保在简单,紧凑设计的情况下可靠地驱动电动机。

根据本发明各方面所述阻尼装置的控制装置(27)具有分布在不同印刷电路板上的多个电子组件。第一电子组件设置在第一块PCBA(29)上,第二电子组件设置在第二块PCBA(30)上,在这种情况下,第一PCBA(29)具有具有低压组件的低压范围(31)和具有高压组件的高压范围(32),其中高压范围(32)和低压范围(31)通过具有隔离组件的电隔离(33)进行电隔离;电流隔离最好提供高达2500伏的隔离。
第二块PCBA(30)仅携带高压组件,并电连接到第一块PCBA(29)的高压范围(32); 第一块PCBA和第二块PCBA组成的控制装置(27)的第一块PCBA(29)低压范围(31)的低压组件包括低压连接接插件(34)、低压电源管理芯片(35)和信号转换器(36); 可将在低压电源管理芯片(35)处提供低压的低压连接器连接到低压接插件(34)上, 信号转换器(36)用于将模拟CAN信号转换为数字CAN信号。
CPU(37)是第一块PCBA(29)的高压范围(32)高压组件的核心组件,变压器组件(38)和数字隔离器(39)作为隔离组件连接在CPU(37)和第一块PCBA(29)的低压范围(31)之间;这意味着CPU(37)可以在电压侧和信号侧与低压范围31进行电流去耦。除了CPU(37)之外,第一块PCBA(29)的高压组件还包括用于向电机(17)提供电压和/或电流的DC/AC转换器(41,42)的控制逻辑系统(40),DC/AC转换器(41,42)将直流电压转换为交流电压。
第二块PCBA(30)上的DC/AC转换器(功率转换器件41&42)可以由第一块PCBA(29)上的控制逻辑系统(40)进行控制,功率转换器件与直流连接电容器(43)相连接,直流连接电容器位于高压连接端子(44)与功率转换器件(41&42)之间;第二块PCBA上的其他高压组件还有传感器(45),该传感器通过其接插件接口(46)与第一块PCBA(29)连接,以便通过CPU(37)的传感器接口(46)提供测量值。
由于CPU(37) 安装在第一块PCBA(29)的高压范围(32)内,并且是第一块电路板的一部分,因此其与低压范围(31)的电隔离设计得较为简单,只需要对低压电源芯片和信号转换器进行电隔离即可;所有其他与CPU交换数据的组件都是高压组件,这些组件要么安装在第一块PCBA的高压范围内,要么安装在第二块PCBA(30)上;通过这种简洁的设计,电机(27)能够被可靠的启动。
低压组件的工作电压低于50V,更优的范围是低于25V,最好是低于15V(主要考虑隔离芯片的耐压能力);高压组件的工作电压应大于200V,大于400V的应用更优,特别倾向于大于500V的应用(同等功率下,电压越高,电流越小,散热少,易于有限空间内液压泵的工作)。
06 Energy Supply Unit for Active Chassis System
主动悬架系统能量供应装置
(知识星球发布)
一种用在汽车底盘系统中提供液压能量装置,包括相互机械牢固连接的第一和第二电动泵单元,两个电动泵单元的设计具有部分相同设计。本发明的目的是制造一种液压能量供应装置,特别是在汽车的主动底盘系统中,该装置可以控制两个减振器,并可以简化安装,本发明另一个目的是提供相应的套件和相应的底盘系统。
具体内容可进入知识星球查看......
07 Casing Configuration for MPE Axle Set
液压泵装置的外壳配置
(知识星球发布)
本发明涉及一种在车辆主动底盘中提供液压能量的装置,底盘车桥和带有这种装置的底盘系统:为了驱动液压泵电动机,通常会提供一个相应的控制单元,这样就形成了一个所谓的电动机泵单元,每一个减振器都需要配备一个电动泵单元(MPU), 相应的电机泵单元可仅靠或至少靠近各减振器安装。
具体内容可进入知识星球查看......
-
汽车黑科技大PK:比亚迪、蔚来、保时捷,谁才是主动悬架电驱之王? -
如何应对汽车垂向控制功率需求持续升高 | 主动悬架供应商RAPA揭秘 -
如何使RAPA的主动悬架真正实现电控化? | 液压泵控制器供应商Silver Atena揭秘
-
如何为RAPA主动悬架的CDC减振器"注射"抽取油液? | 高压液压泵核心组件技术分析: 内啮合四象限齿轮泵 -
多腔空气弹簧与多阀CDC减振器 | 主动悬架执行机构技术分析
点击文末[阅读原文],加入电力电子系统应用智库
如果觉得不错或对您有用
欢迎推荐给身边朋友
右下角点个在看❤+关注
作者更新更有动力
感谢大家支持
更多相关内容在知识星球中发布
欢迎进一步查阅、学习、共同成长
如果您觉得有用
记得点个赞⬇⬇


