第一块PCBA具有低压组件的低压范围和具有高压组件的高压范围,其通过隔离组件与低压范围电隔离,其中CPU包括在高压组件中。
第二块PCBA具有专门的高压组件,其中第二块PCBA电连接到第一块PCBA的高压范围。
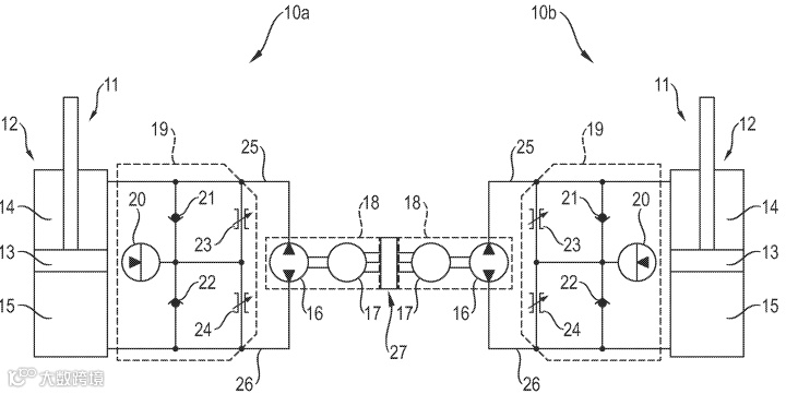
在根据本发明各方面所述的阻尼布置中,为两个阻尼系统以及因此为两个阻尼系统的电动机提供了公共控制装置。
该控制装置的电子组件分布在第一和第二印刷电路板上,其中第一印刷电路板具有低压范围和高压范围,其组件通过隔离组件进行电隔离。所述CPU是第一印刷电路板的高压范围的一部分,与第二印刷电路板电连接。控制装置和阻尼装置的设计简单紧凑,可以使用电流可靠地驱动两个阻尼系统的电动机。
所述第一印刷电路板的低压范围的低压组件优选具有低压连接、低压分配器和信号转换器。所述第一印刷电路板的电隔离的隔离组件具有变压器组件和数字隔离器;除CPU外,第一印刷电路板的高压范围的高压组件具有用于DC / AC转换器的控制逻辑系统,其中用于为电机提供电流的DC/AC转换器是第二印刷电路板的高压组件;第二印刷电路板优选具有高压连接和作为附加高压组件连接在高压连接和DC/AC转换器之间的DC链路电容器;在两个印刷电路板和高压范围以及第一个印刷电路板的低压范围上的电子组件的这种分布是特别优选的,以确保在简单,紧凑设计的情况下可靠地驱动电动机。
低压组件的工作电压小于50伏,最好小于25伏,尤其最好小于15伏。高压组件的工作电压应大于200v,最好大于400伏,尤其最好大于500伏,电流隔离最好提供高达2500伏的隔离。所述第一印刷电路板的低压范围的低压组件优选具有低压连接、低压分配器和信号转换器。所述第一印刷电路板的电隔离的隔离组件具有变压器组件和数字隔离器。除CPU外,第一印刷电路板的高压范围的高压组件具有用于DC/AC转换器的控制逻辑系统,其中用于为电机提供电流的DC/AC转换器是第二印刷电路板的高压组件;第二印刷电路板优选具有高压连接和作为附加高压组件连接在高压连接和DC/AC转换器之间的DC直流母线电容。
在两个印刷电路板和高压范围以及第一个印刷电路板的低压范围上的电子组件的这种分布是特别优选的,以确保在简单,紧凑设计的情况下可靠地驱动电动机。
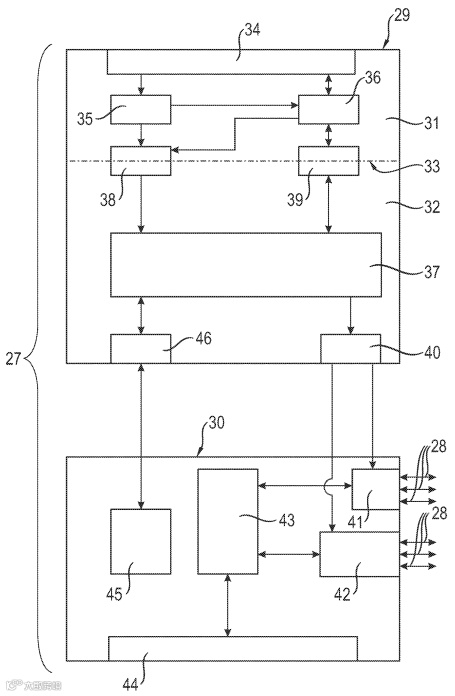
根据本发明各方面所述阻尼装置的控制装置(27)具有分布在不同印刷电路板上的多个电子组件。第一电子组件设置在第一块PCBA(29)上,第二电子组件设置在第二块PCBA(30)上,在这种情况下,第一PCBA(29)具有具有低压组件的低压范围(31)和具有高压组件的高压范围(32),其中高压范围(32)和低压范围(31)通过具有隔离组件的电隔离(33)进行电隔离;电流隔离最好提供高达2500伏的隔离。
第二块PCBA(30)仅携带高压组件,并电连接到第一块PCBA(29)的高压范围(32); 第一块PCBA和第二块PCBA组成的控制装置(27)的第一块PCBA(29)低压范围(31)的低压组件包括低压连接接插件(34)、低压电源管理芯片(35)和信号转换器(36); 可将在低压电源管理芯片(35)处提供低压的低压连接器连接到低压接插件(34)上, 信号转换器(36)用于将模拟CAN信号转换为数字CAN信号。
CPU(37)是第一块PCBA(29)的高压范围(32)高压组件的核心组件,变压器组件(38)和数字隔离器(39)作为隔离组件连接在CPU(37)和第一块PCBA(29)的低压范围(31)之间;这意味着CPU(37)可以在电压侧和信号侧与低压范围31进行电流去耦。除了CPU(37)之外,第一块PCBA(29)的高压组件还包括用于向电机(17)提供电压和/或电流的DC/AC转换器(41,42)的控制逻辑系统(40),DC/AC转换器(41,42)将直流电压转换为交流电压。
第二块PCBA(30)上的DC/AC转换器(功率转换器件41&42)可以由第一块PCBA(29)上的控制逻辑系统(40)进行控制,功率转换器件与直流连接电容器(43)相连接,直流连接电容器位于高压连接端子(44)与功率转换器件(41&42)之间;第二块PCBA上的其他高压组件还有传感器(45),该传感器通过其接插件接口(46)与第一块PCBA(29)连接,以便通过CPU(37)的传感器接口(46)提供测量值。
由于CPU(37) 安装在第一块PCBA(29)的高压范围(32)内,并且是第一块电路板的一部分,因此其与低压范围(31)的电隔离设计得较为简单,只需要对低压电源芯片和信号转换器进行电隔离即可;所有其他与CPU交换数据的组件都是高压组件,这些组件要么安装在第一块PCBA的高压范围内,要么安装在第二块PCBA(30)上;通过这种简洁的设计,电机(27)能够被可靠的启动。
低压组件的工作电压低于50V,更优的范围是低于25V,最好是低于15V(主要考虑隔离芯片的耐压能力);高压组件的工作电压应大于200V,大于400V的应用更优,特别倾向于大于500V的应用(同等功率下,电压越高,电流越小,散热少,易于有限空间内液压泵的工作)。
-
汽车黑科技大PK:比亚迪、蔚来、保时捷,谁才是主动悬架电驱之王? -
如何应对汽车垂向控制功率需求持续升高 | 主动悬架供应商RAPA揭秘 -
如何使RAPA的主动悬架真正实现电控化? | 液压泵控制器供应商Silver Atena揭秘
-
如何为RAPA主动悬架的CDC减振器"注射"抽取油液? | 高压液压泵核心组件技术分析: 内啮合四象限齿轮泵 -
多腔空气弹簧与多阀CDC减振器 | 主动悬架执行机构技术分析 -
RAPA主动悬架专利分享及技术解析【Part 1】
点击文末[阅读原文],加入电力电子系统应用智库
如果觉得不错或对您有用
欢迎推荐给身边朋友
右下角点个在看❤+关注
作者更新更有动力
感谢大家支持
更多相关内容在知识星球中发布
欢迎进一步查阅、学习、共同成长



