引用:网络
目录
1. Dampling System for A wheel of a motor vehicle,车辆车轮的主动底盘阻尼系统
2. Emergency Operating Method for An Active Chassis of A motor vehicle, 汽车主动悬架紧急操作方法 (知识星球发布)
3. 总结
注:以上相关内容资料在知识星球中发布(可点击文末“阅读全文”加入)
01 Dampling System for A wheel of a motor vehicle
所述阻尼系统包括双作用液压缸和具有活塞的阻尼器,所述阻尼器可与车轮的车轮悬架系统耦合。液压泵具有液压储液器和包括阀的液压单元;液压泵和液压单元与液压缸的液压室配合,使得根据液压单元的液压泵的输送方向,可以提供活塞在第一驱动方向或在第二驱动方向上的运动;液压泵和阻尼器通过液压单元和包括管子和软管的管-软管系统连接;阻尼器的液压缸和阻尼系统的软管系统的综合液压能力在9ml / 100bar和14ml / 100bar之间。

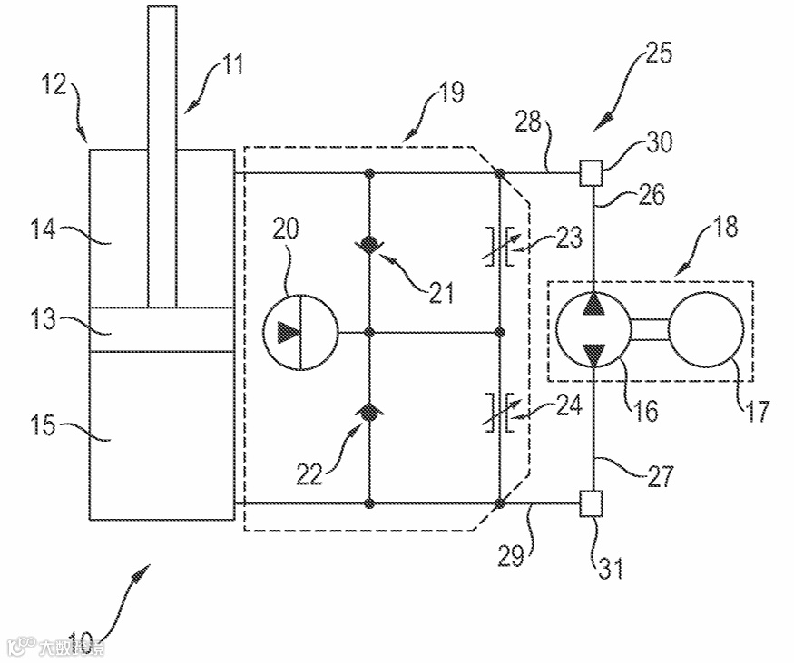
上图为用于机动车辆车轮的主动底盘减震系统 10 的相当示意图。减震系统 10 包括可连接至车轮(未示出)的悬架系统(未示出)的减震器 11。减震器 11 由双作用液压缸 12 和活塞 13 构成,其中活塞 13 在液压缸 12 中来回往复运动(在图 1 中为上下运动)。
设计为双作用液压缸的液压缸 12 在活塞 13 的每一侧包括液压腔 14、15。根据向两个液压腔 14、15 中的哪一个供应液压油以及从两个液压腔 15、14 中的哪一个排出液压油,活塞 13 可在第一驱动方向或相反的第二驱动方向上移动。以下假设活塞 13 的第一驱动方向是回弹方向驱动,活塞 13 的第二驱动方向是压缩方向驱动。
减震系统 10 还包括可由电动机 17 驱动的液压泵 16。液压泵 16 和电动机 17 形成泵 - 电动机单元 18。液压泵 16 是可在不同旋转方向上驱动的可逆泵,以提供不同的输送方向。
图 1 的减震系统 10 还包括具有液压油箱 20 以及阀门 21、22、23、24 的液压单元 19。阀门 21、22 为止回阀,阀门 23、24 为阻尼阀。液压油箱 20 分别接合在止回阀 21、22 之间以及阻尼阀 23、24 之间的连接至液压缸 12 的液压腔 14、15 的液压单元 19 的管路上。
根据液压泵 16 的输送方向并且优选还根据液压单元 19 的阀门 21、22、23、24 的位置,为了使活塞 13 在第一运动方向(即回弹方向)上运动,向液压腔 14 供应油并且从液压腔 15 排出油。或者,为了使活塞 13 在第二运动方向(即压缩方向)上运动,向液压腔 15 供应油并且从液压腔 14 排出油。
泵 - 电动机单元 18 的液压泵 16 通过管 - 软管系统 25 连接至包括液压油箱 20 和阀门 21、22、23、24 的液压单元 19,该液压单元优选作为单元安装在减震器 11 上,或安装在液压缸 12 上或集成到液压缸 12 中。
在优选实施例中,从液压泵 16 开始,管道 26、27 和随后的软管 28、29 朝向液压单元 19 并从而朝向液压缸 12 延伸。连续的管道和软管通过联接装置 30、31 彼此连接。
液压泵 16 通过相应的管道 26、27 和相应的软管 28、29 连接至液压单元 19 的用于液压泵 16 的相应接口,并通过液压单元 19(具体为液压单元 19 的管路)连接至液压缸 12 的两个相应液压腔 13、14 中的一个。
减震器 11 的液压缸 12 和减震系统 10 的管 - 软管系统 25 以及减震系统 10 中使用的液压油的组合液压容量为 9mL/100bar 至 14mL/100bar。

鉴于 9mL/100bar 至 14mL/100bar 的液压容量(这尤其可以通过使用管 - 软管系统 25 来有利地提供),可以在低重量和小安装空间要求下提供减震系统 10 的有利动态特性和有利声学特性。在这种情况下,然后可以确保高力梯度以提供有利的动态特性。另一方面,减震系统 10 趋向于低噪音水平,从而提供有利的声学特性。
减震器 11 的液压缸 12 和减震系统 10 的管 - 软管系统 25 以及减震系统 10 中使用的液压油,在活塞 13 的第一方向(特别是回弹方向)上的组合液压容量为 10mL/100bar 至 14mL/100bar,优选 11mL/100bar 至13mL / 100bar,特别优选 11.5mL/100bar 至 12.5mL/100bar。在活塞 13 的第二驱动方向(特别是压缩方向)上,减震器 11 的液压缸 12 和减震系统 10 的管 - 软管系统 25 以及减震系统 10 中使用的液压油的液压容量为 9mL / 100bar 至 12mL/100bar,优选 10.5 至 11.5mL/100bar,特别优选 10mL/100bar 至 11mL/100bar。在活塞 13 的第一驱动方向(特别是回弹方向)上,上述液压容量特别是 12.0mL/100bar,在活塞 13 的第二驱动方向(特别是压缩方向)上,液压容量特别是 10.5mL/100bar。
上述液压容量取决于减震器 11 的液压缸 12 的液压容量、管 - 软管系统 25 的液压容量以及液压油的液压容量。在活塞 13 的第一驱动方向(优选为回弹方向)上,减震器的液压缸 12 的液压容量为 3.5mL/100bar 至 4.5mL / 100bar,特别是 4.0mL/100bar。在活塞 13 的第二驱动方向(特别是压缩方向)上,减震器 12 的液压缸 12 的液压容量为 2mL/100bar 至 3mL/100bar,特别是 2.5mL/100bar。
液压油在无空气状态下的液压容量为 1.6mL/100bar 至 1.9mL/100bar,在含空气状态下的液压容量为 2.2mL / 100bar 至 2.7mL/100bar。
管 - 软管系统 25 的管道 26、27 优选由金属材料制成,因此相对刚性且略有弹性。管 - 软管系统 25 的管道 26、27 的液压容量可忽略不计。管 - 软管系统 25 的管道 26、27 具有可忽略不计的或零的液压容量。

管 - 软管系统 25 的软管 28、29 的液压容量在 0.33m 的软管长度下为 5.1mL/100bar 至 5.5mL/100bar,优选 5.2mL/100bar 至 5.4mL/100bar。这是所有软管 28、29 的总液压容量。
软管 28、29 优选由橡胶纤维材料制成,其中在橡胶材料的外层和橡胶材料的内层之间布置至少一层纤维材料。如果在橡胶材料的外层和内层之间布置两层纤维材料,则特别地规定,在两层纤维材料之间布置橡胶材料的另一内层。
提供一种用于机动车辆车轮的主动底盘减震系统 10,其中泵 - 电动机单元 18 的泵 16 通过管 - 软管系统 25 的管道 26、27 和软管 28、29 连接至优选安装在减震器 12 上并包括液压油箱 20 以及阀门 21、22、23、24 的液压单元 19,其中特别是沿着软管 28、29 的长度调节液压容量,使得当活塞 13 在液压缸 12 的较高液压腔压力侧上移动时,提供 9mL/100bar 至 14mL/100bar 的液压容量,在回弹方向上特别是 12mL/100bar,在压缩方向上为 10.5mL / 100bar。
管 - 软管系统 25 中的管道 26、27 的液压容量可忽略不计。液压单元 19 中的管路的液压容量也可忽略不计。液压单元 19 的液压油箱 20 的液压容量在提供减震系统的有利动态和声学特性方面无关紧要,因为液压油箱 20 始终与减震器 11 的液压缸 12 的液压腔配合,该液压腔的压力低于正在排出液压油的液压腔的压力。液压油箱 20 的液压容量仅用于在期望的极限内为减震系统 10 提供预加载压力。
液压油箱 20 的液压容量仅用于在期望的极限内为减震系统 10 提供预加载压力;液压容量也称为液压弹性,其定义了压力变化时的体积变化。液压容量在每种情况下均指 20°C 的温度;减震系统 10 可以在低重量和小安装空间要求下提供优异的动态和声学特性。
02 Emergency Operating Method for
An Active Chassis of A motor vehicle
(知识星球发布)
一种紧急操作方法,用于在主动底盘的泵发生故障时操作机动车辆的主动底盘;该方法包括(a)检测泵的电动驱动机器的适当电力供应的终止;(b)使高压下运行的电力驱动机器短路;(c)断开电驱动机的高压电源。
具体内容可进入知识星球查看......

03 总结
两篇专利分别介绍了主动悬架的主动阻尼系统动力传递的路径,在从电机的旋转运动转化为减振器活塞的直线运动过程中,油液传动的整个路径都进行了介绍,为后续设计主动悬架阻尼系统回路提供了参考,比如连接软管,阀门及其回路,液压缸等的设计。
另外一篇介绍了在主动悬架的执行机构出现故障的情况下,系统如何进入紧急状态以确保安全性,其实这也是一种系统功能安全的设计考量,由于高压电机进入到液压泵的应用场景,所以电机及控制器,以及液压泵的相关失效,都需要在开发过程中进行安全分析,并提出应对方案,在完成产品功能设计的同时,也完成相关的安全设计。
-
汽车黑科技大PK:比亚迪、蔚来、保时捷,谁才是主动悬架电驱之王? -
如何应对汽车垂向控制功率需求持续升高 | 主动悬架供应商RAPA揭秘 -
如何使RAPA的主动悬架真正实现电控化? | 液压泵控制器供应商Silver Atena揭秘
-
如何为RAPA主动悬架的CDC减振器"注射"抽取油液? | 高压液压泵核心组件技术分析: 内啮合四象限齿轮泵 -
多腔空气弹簧与多阀CDC减振器 | 主动悬架执行机构技术分析 -
RAPA主动悬架专利分享及技术解析【Part 1】 -
RAPA主动悬架专利分享及技术解析【Part2】| 电控供应商Silver Stena GmbH专利 -
RAPA主动悬架专利分享及技术解析【Part3】
点击文末[阅读原文],加入电力电子系统应用智库
如果觉得不错或对您有用
欢迎推荐给身边朋友
右下角点个在看❤+关注
作者更新更有动力
感谢大家支持
更多相关内容在知识星球中发布
欢迎进一步查阅、学习、共同成长

如果您觉得有用
记得点个赞⬇⬇


