星环科技Transwarp Audit已通过中国信通院可信大数据评测首批数据安全专项数据审计工具评测。Transwarp Audit是星环科技自主研发,以数据为中心的安全监测分析工具。该产品能帮助企业监测与分析敏感数据操作,基于用户实体行为分析(UEBA)等技术识别用户异常行为,发现潜在风险,监控重要数据的合规使用,并通过统计分析出具敏感资产操作风险报告,帮助企业加强敏感数据的防护,指导企业进行合规业务改造。

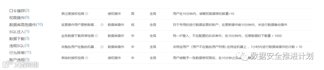
Audit 预置了丰富的审计规则,通过从日志或镜像流量中提取出的用户行为指标,利用决策引擎进行安全风险判定,覆盖用户异常访问、越权操作、敏感数据违规下载、过度授权等安全审计场景,支持以邮件等多种形式发出告警。系统提供独立的敏感数据规则配置功能,辅助用户精确定位敏感数据泄露问题,同时用户可以设置各种自定义规则来实现个性化的审计需求。

1. 实时数据采集分析,端到端秒级延迟,帮助企业监测敏感数据操作,发现风景并及时告警
Audit 能够与分类分级工具联动,导入敏感数据的分类分级结果,对敏感数据的操作进行实时采集与分析,对用户实体行为进行分析,判断相关行为的安全性,对异常行为发出告警。监控行为包含敏感数据下载异常、访问异常、用户登录异常、授权操作异常、操作失败异常等多种异常行为等,告警实现端到端秒级延迟。
将告警事件以列表的形式集中展现,可对告警事件相关操作进行溯源。并且通过配置告警规则将提醒触达用户,支持通过邮件等多种方式进行告警。

2. 决策引擎支撑风险判断
对用户单个操作进行判定和通过对历史行为分析等多种方式,将基于用户行为采集到的数据转换为结构化的事件记录并进行解析,利用决策引擎结合审计规则和审计模型对用户行为数据进行判定,确定风险事件。

3. 预置大量审计规则,多场景开箱即用
告警规则中提供了大量内置专家规则,包括针对用户登录异常,授权操作异常,违规SQL等多种异常行为的监控与告警。在无法满足现有审计需要的情况下,提供灵活的规则,用户可结合平台节点与业务数据进行定义,新建相关的审计规则来满足审计需求。

4. 灵活的部署模式,适配众多大数据软件与第三方数据库
Audit 除了可以适配星环TDH大数据平台,也可以对接主流的第三方数据平台或数据库,帮助客户以较小的代价实现对数据库敏感操作的监测与审计。

5. 自动化的生成敏感资产操作报告
产品以图表的形式展示敏感事件操作、数据库异常告警事件等统计数据和趋势图,直观展示企业数据安全管理情况,并支持数据导出,指导企业数据安全负责人对相关业务进行整改。

6. 实现多租户数据隔离
系统对不同租户数据进行了隔离,每个用户仅能看到自己所属租户且开通了权限的数据信息。
某银行大数据审计

客户需求
目前有7套集群,节点数量100+。每月对产线的日志数据量达千万。随着数据量和操作量的激增,对大数据访问的安全审计就愈发重要,特别是等级保护制度和个人信息安全保护制度的实施,要求大数据运行部门能对大数据的使用情况进行审计,包括用户对数据的访问情况和数据库用户的授权情况。
解决方案
星环科技针对市场对安全审计的需求,集其多年信息安全领域运维管理与安全服务的经验,结合行业最佳实践与合规性要求,推出大数据安全审计系统,面向大数据平台数据的操作和权限进行合理布控和监测,建立全面覆盖大数据平台的审计中心,并对各类事件做出快速、准确的定位和展现,有效解决了信息化监管中的一个核心问题。
项目成果
1. 实现对大数据平台各节点的数据访问和操作的集中监控、查看和管理、可视化审计;
2. 各节点信息源,进行标准化、归一化的处理,并进行过滤和归并;
3. 针对数据安全审计的非标准操作实现秒级预警和定位。
中国信通院大数据产品能力评测数据安全专项是面向数据安全产品供应能力的体系化、市场化评测体系,每年开展两批,评测基于数据安全推进计划(DSI)与大数据技术标准推进委员会制定的系列标准。通过对数据安全产品进行评测,有助于摸底我国数据安全市场现状,规范数据安全产品类型,促进数据安全市场健康有序发展。评测一方面为用户提供采购选型的参考,另一方面为厂商产品研发提供风向标。
目前,中国信通院正式启动数据安全产品评测工作。2022年6月份“大数据产业峰会”将为通过评测的产品颁发证书。欢迎相关单位积极报名参与。
联系人:
数据分类分级工具评测、数据脱敏工具评测
贾 真 13214220810
jiazhen@caict.ac.cn
数据审计工具评测
郝志婧 15712890577
haozhijing@caict.ac.cn



