搜索
首页
大数快讯
大数活动
服务超市
文章专题
出海平台
流量密码
出海蓝图
产业赛道
物流仓储
跨境支付
选品策略
实操手册
报告
跨企查
百科
导航
知识体系
工具箱
更多
找货源
跨境招聘
DeepSeek
首页
>
2025.9.6违规商户清退展示
>
0
0
2025.9.6违规商户清退展示
九五云寄售平台
2025-09-06
0
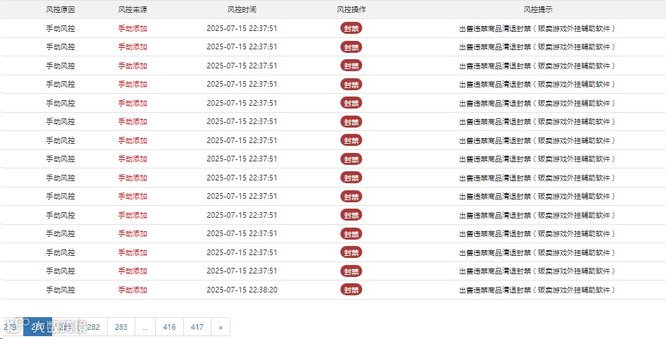
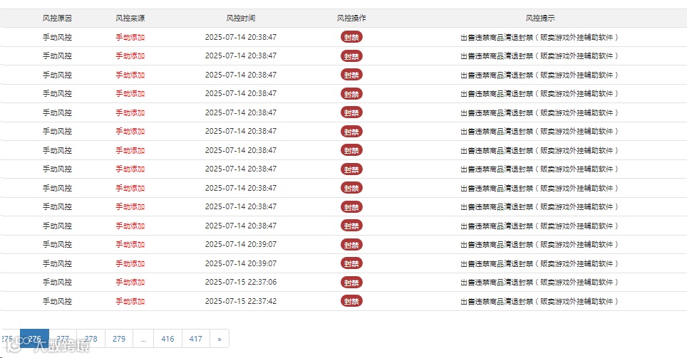
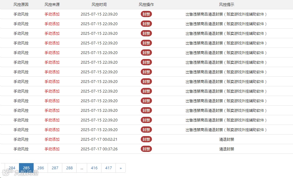
平台禁止销售任何违反法律法规的虚拟商品
如有违禁链接请及时联系平台客服邮箱举报清理
客服邮箱:
yun@99999fk.net
客服电话
:4009966944
客服QQ:800139548
【声明】内容源于网络
0
0
九五云寄售平台
官方自营电商平台
内容
56
粉丝
0
关注
在线咨询
九五云寄售平台
官方自营电商平台
总阅读
10
粉丝
0
内容
56
在线咨询
关注