
极市导读
近日,深度学习之父Hinton于2017年为胶囊网络申请的专利终于在网上公布,激起了网友对算法专利申请的热烈讨论。>>加入极市CV技术交流群,走在计算机视觉的最前沿

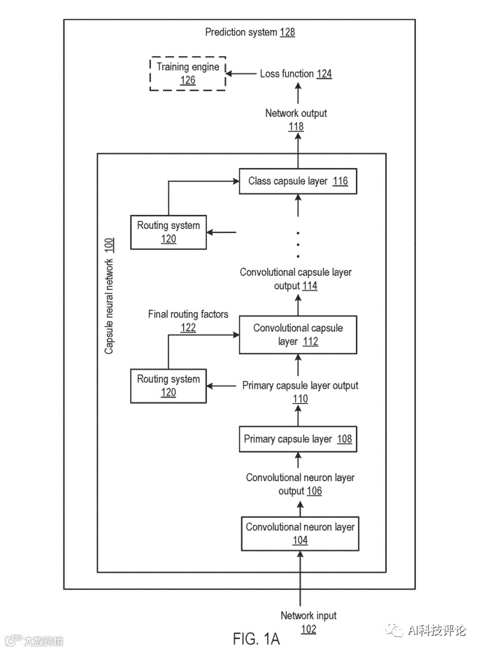
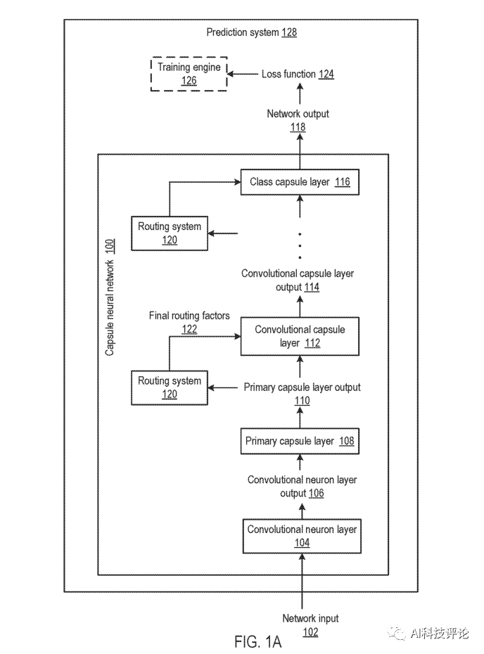
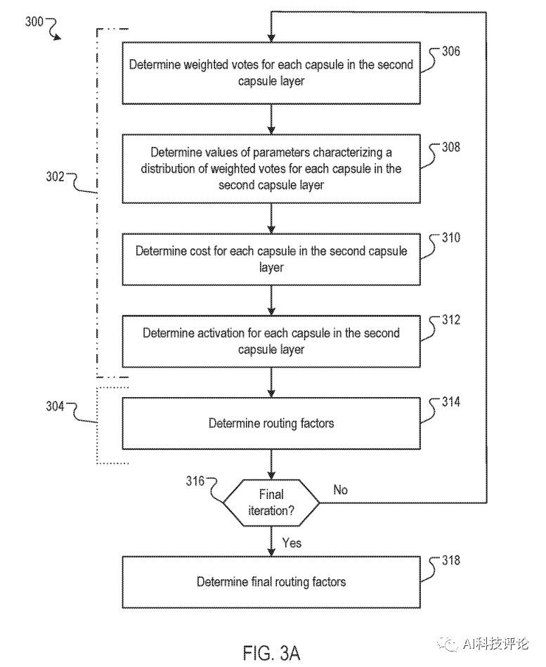
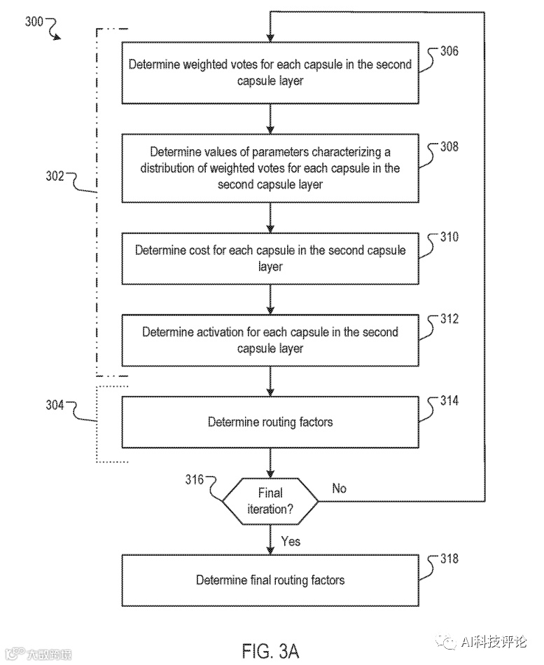
1 专利&胶囊网络
专利摘要:
2 AI专利回顾
Generating Audio using neural networks
Processing sequences using convolutional neural networks
Generating video frames using neural networks
Neural networks for selecting actions to be performed by a robotic agent"
Processing text sequences using neural networks
Training action selection using neural networks
Reinforcement learning systems
Scene understanding and generation using neural networks
Recurrent neural networks
Sequence transduction neural networks
Reinforcement learning with auxiliary tasks
Environment navigation using reinforcement learning
3 专利相关讨论


推荐阅读









