作者:河南省煤炭高级技工学校 郑州工业安全职业学院 尚中仁
前提:2015年9月29日,收到厦门海为公司寄来的PLC 型号是S16S0R,24V直流供电的PLC基本单元模块一个,一条编程线缆和海为PLC的许多资料,在资料中查到厦门海为科技有限公司的官方网站,下载了编程软件和使用手册。经过一段时间的研读手册和练习,发现海为PLC的特点:首先是编程软件好,最突出的亮点是易安装,自带仿真。不会发生初学者编程软件安装不成功,或安装后无法编程,编程后无法仿真。教师在教学中,教学生安装编程软件是很繁重的一项内容,万事开头难,引导学生入门是一项很重要的工作。在比较流行的欧系日系PLC编程软件的安装和仿真软件的安装实训中费是费力,海为编程安装非常顺利,仿真也很容易使用。其次,硬件与其他PLC一样没有好用,且至少有一路脉冲输出。
本人在经过了2014级电气班,2015级机电班的PLC教学中,国产PLC的教学实践应用海为是成功的。现写出教学实例如下:十字路口红绿灯信号编程
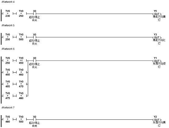
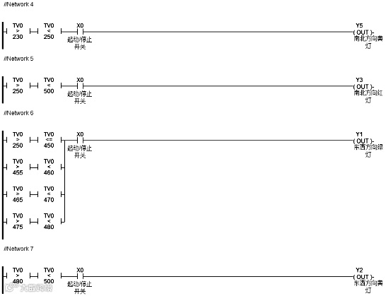
编程要求:开关闭合后,东西方向红灯点亮25秒后,南北方向绿灯点亮20秒,闪烁3秒(三次)熄灭,黄灯点亮2秒。南北红灯点亮25秒东西绿灯点亮20秒,闪烁3秒(三次)熄灭,黄灯点亮2秒。一直循环。

图1:元件使用表

图2:元件注释表

图3:部分程序图1

图3:部分程序图2
海为产品很好,教学应用很好,但知名度还要通过不断的推广会越来越大,相信教学中取代进口产品的日子会越来越近。

