大数跨境
0
0

小米入股这家Micro LED公司!

小米入股这家Micro LED公司! MicroLEDDisplay
2022-01-07
0
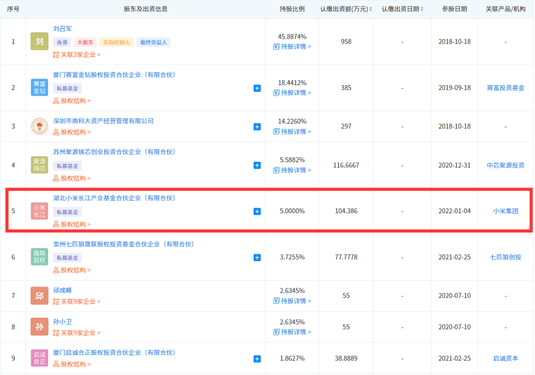
导读:思坦科技股东新增湖北小米长江产业基金合伙企业(有限合伙)


据企查查显示,深圳市思坦科技有限公司(以下简称“思坦科技”)股东新增湖北小米长江产业基金合伙企业(有限合伙),注册资本增加至2087.7194万元,小米认缴出资额约为104万元,持股比例为5%。


据了解,思坦科技成立于2018年,是一家Micro LED半导体显示初创企业,实际控制人是刘召军在2018年获得赛富基金种子轮投资之后思坦科技又先后完成了天使轮、Pre-A轮、A轮融资,最后一次的投资方即为小米集团。


从创立初期开始,思坦科技一直致力于解决Micro LED技术与产业化过程中的实际问题,围绕Micro LED材料、芯片、驱动、关键器件等上下游领域进行知识产权布局与技术创新,逐步建立竞争壁垒,并与南方科技大学、香港科技大学、台交大建立深度合作关系,全面推动Micro LED的量产进程。

目前,思坦科技拥有一条Micro LED专用中试线已开展Micro LED器件阵列制作、巨量转移技术、彩色化、驱动电路等关键领域技术研发并且具备2-6英寸第三代半导体产业技术的中试能力。

知识产权方面,据智慧芽数据显示,思坦科技目前共有230余件已公开的专利,其中发明专利占比超过50%。从技术上看,其专利申请主要涉及显示面板、显示系统及晶圆等技术。

2021年3月,思坦科技在ICDT 2020国际显示技术大会展出了自主研发的 “Micro-LED 光空间分布测量系统”和“Micro/Mini LED车载显示”产品。

据介绍,“Micro-LED光空间分布测量系统”是适用于微米尺度Micro LED显示特性的Micro LED光电特性测量系统,具有可直接测量高精度亮度值、可测量微小面光源光分布等优势。

“Micro/Mini-LED车载显示”则适用于车载及移动便携Mini/Micro LED图片及视频显示,具有轻小、便携、高亮度、高对比度以及丰富的色彩显示,能在户外强光环境、雷雨等恶劣环境下工作。

对于Micro LED制程中的一大瓶颈问题——巨量转移技术,思坦科技目前的研究方案主要聚焦在开发高良率以及高对准精度的智能化巨量转移技术本身,同时在外延材料生长方面进行研究。此外,思坦科技也对Micro LED器件的结构以及器件的驱动电路方面进行相关研究,借此降低以及消除巨量转移技术所带来的困难。

思坦科技认为,有源寻址显示技术也是制备Micro LED过程中的一个重要技术,对此,思坦科技团队一直在研究有源驱动电路以及设计驱动基板,同时也对一些特殊结构的减小漏电,增加显示的稳定性等展开研究。

不难发现,思坦科技已发展成为国内Micro LED研究团队中的重要力量之一。一方面,思坦科技获得中国半导体第一投资机构中芯聚源小米集团等投资者的青睐,未来资金实力和研发创新能力有望进一步增强;另一方面,思坦科技深化产研合作,可望共同为解决Micro LED巨量转移、全彩化等技术难点贡献力量,助推Micro LED的产业化发展。

对于小米而言,投资思坦科技则进一步完善了其在半导体领域的布局。在此之前,小米曾入股Mini/Micro LED显示相关的设备厂商智云股份,同时还与TCL华星共建联合实验室,不断扩大双方合作的广度和深度,这一系列的布局均有利于其在半导体显示领域分食更大的蛋糕。

 

【大会抢先看】CES 2022:索尼电视新品来临 终于采用Mini LED面板 XR芯片仍是内核

【大牌动态】大幅领先!LG Micro LED电视亮相:太惊艳了


新品发布三星展示多款全新显示器产品,以及 Micro LED 等技术的新品电视


电视潮流未来电视市场:高端化、大屏化成主流趋势

【大牌风向标】LG挑战三星 宣布旗下首批Micro LED电视将于今年出货


【市场动向千屏将落地百城,利亚德如何“屏”分万亿级市场蛋糕?


【企业动向维信诺:子公司成都辰显光电已建成Micro LED中试线


来源:LEDinside   MicroLEDDisplay 整理

 

【声明】内容源于网络
0
0
MicroLEDDisplay
横跨LCD、LED和半导体三大领域,覆盖Mini/Micro LED显示终端应用、面板、封装、芯片/驱动IC、材料、装备等上中下游。提供显示行业新闻与技术趋势、分析报告、企业数据等,快速呈现显示行业动态与趋势!
内容 3790
粉丝 0
MicroLEDDisplay 横跨LCD、LED和半导体三大领域,覆盖Mini/Micro LED显示终端应用、面板、封装、芯片/驱动IC、材料、装备等上中下游。提供显示行业新闻与技术趋势、分析报告、企业数据等,快速呈现显示行业动态与趋势!
总阅读949
粉丝0
内容3.8k