外媒报导,美国专利商标局(USPTO)公开苹果4月3 日提交的专利,将光学感测元件整合至Micro LED 屏幕。

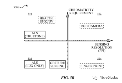
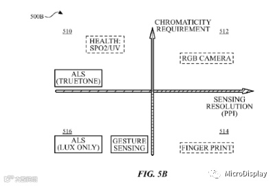
苹果专利文件描述将环境光感测元件、指纹感测器、手指静脉辨识感测元件等整合到Micro LED屏幕的方法与目的,并说明内建光学感测元件Micro LED显示器范例与方向,包括健康领域、RGB相机、指纹感测器、手势辨识。

(Source:USPTO)
苹果专利特点是将感测元件(110)与Micro LED晶片(120)装在同表面。

(Source:USPTO)
外媒从苹果专利内容猜测,Micro LED屏幕或用在下一代Apple Watch。之前外媒表示,Apple Watch或是第一款配备Micro LED屏幕的苹果产品,预测Apple Watch将在2023年或2024年发表。
苹果至今取得和申请多项Micro LED专利,2019年申请与Micro LED相关专利,为Micro LED萤幕、通讯介面、存储设备、输入结构和电源整合以处理显示影像。
2021年2月美国专利商标局公布苹果取得Micro LED专利「堆叠混合Micro LED像素结构」(Stacked hybrid Micro-LED pixel architecture)。
【延期通知】关于 ”第五届中国(国际)Micro LED显示高峰论坛(2021-2022)”延期举办的通知
【专业讲解】封装厂商是如何推动Mini LED商业化进程的?
来源:科技新报

扫码关注我们
查看更多精彩内容
加入Micro LED交流群
与上万+业内朋友在一起
商业投稿、合作热线:021-33361030


