3 月 3 日消息,根据国外科技媒体 MacRumors 报道,苹果计划为即将推出的 VR / AR 头显带来 Continuity(连续互通)功能,在设备和虚拟现实之间也能实现无缝体验。

Continuity 功能可以让你在不同设备之间,实现将 iPhone 用作 Mac 的摄像头;无需拿起 iPhone,便可接打电话;戴着 Apple Watch 时,你的 Mac 还能自动解锁等诸多功能。


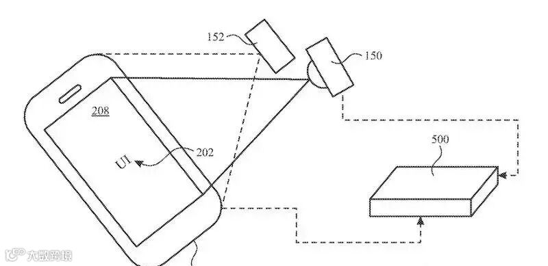
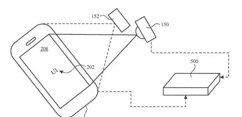
根据欧洲专利局上周公示的专利清单,苹果获得了名为《用于扩展现实 (XR) 系统的多设备 Continuity》专利,构想了未来头显如何和其它苹果设备进行联动。
IT之家分享其中一个示例如下,头显佩戴者在 iPhone 屏幕上查看电子邮件,会在 iPhone 屏幕上悬浮一个扩展的邮件应用界面。
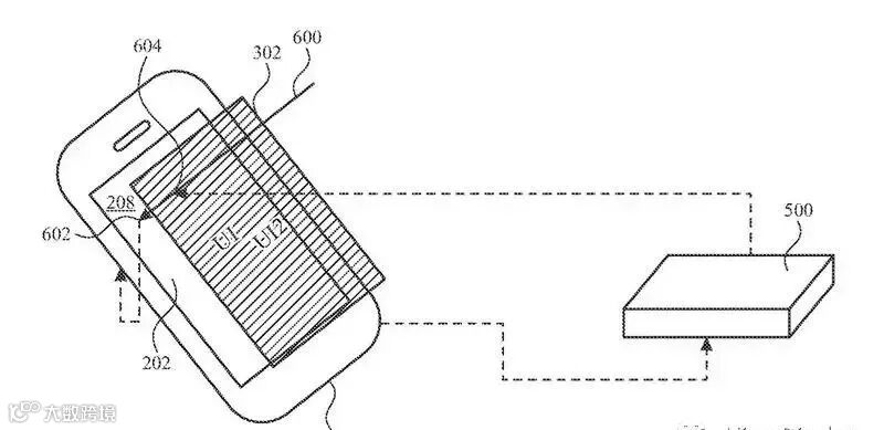
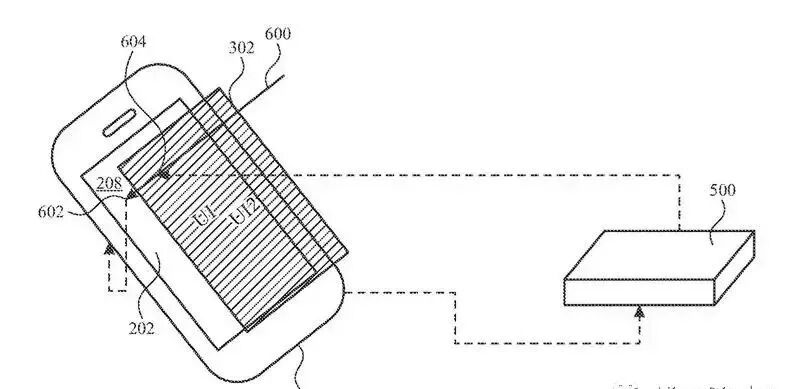
用户可以通过手势或者目光进行交互,用户也可以将电子邮件界面从 iPhone 屏幕上方挪到虚拟现实世界中,进行放大进行收发邮件等相关操作。


在另一项示例中,头显佩戴者可以对 HomePod 进行类似操作,在视线里看到 HomePod 之后,直接可以在虚拟界面中看到音量控制界面,并可以进行控制。
来源:IT之家

往/期/回/顾

扫码关注我们
查看更多精彩内容
加入MicroLED交流群
与上万+业内朋友在一起
商业投稿、合作热线:021-33361030

