【点评】 华星光电的显示面板发明专利,一方面解决了传统LCD屏中光学传感器与光学显示器件无法在空间上重合,不能满足人们对全面屏极致需求的问题,另一方面提出了新的Micro-LED显示技术的巨量转移方案,提高了产品良率,并控制了成本。
集微网消息,在前不久的全球智能显示峰会中,TCL科技总裁针对下一代显示技术,提出了以Micro-LED为核心的战略布局,并在未来将大力投入资和技术攻克产业化方面的关键难题,积极发展柔性显示技术。
在现有终端的全面屏潮流趋势下,屏下传感技术成为中小尺寸显示的开发重点,而基于整面被动发光的LCD屏则无法与传感器在空间上重合,限制了LCD全面屏的发展。与此同时,OLED屏幕像素区域内的Micro-LED可主动发光,同时具有轻薄、可折叠等特点,可与现行光学传感器兼容,因此能够满足当下对全面屏的极致需求。
另一方面,相较于传统面板技术通过刻蚀工艺,Micro-LED主要依赖于巨量转移的“ 加法制造”方式,在技术成熟度上较低,特别是面临巨量显示画素转移时难度大、成本高的难题。
为实现极致全面屏并降低Micro-LED面板的制作成本和复杂度,华星光电于2020年6月23日提出一项名为“显示面板及显示装置”的发明专利(申请号:202010578189.8),申请人为武汉华星光电技术有限公司。

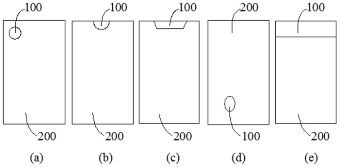
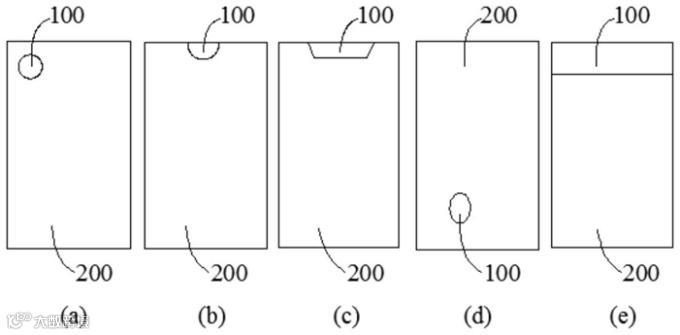
图1 显示面板俯视图
本发明专利提供的不同类型显示面板俯视图如图1所示,第一像素区域100为Micro-LED显示区域,第二像素区域200为液晶显示区域,两个区域可无缝衔接,因而在视觉上没有任何显示中断及不连续边界,可实现完全的全面屏设计。

图2 显示面板截面图
参考图1和图2,本发明专利提供的这一显示面板包括相对设置的彩膜基板3和阵列基板5、二者之间的液晶层4,以及背光模组1,其中第一像素区域内设有多个MicroLED发光单元303以及透光区。彩膜基板的彩色色阻305置于第二像素区域上,采用Micro-LED显示技术与LCD显示技术相结合的形式,可实现极致全面屏显示,又由于彩膜基板在相邻两Micro-LED发光单元之间设有透光区,可允许光线穿过,因此可在第一像素区域内实现屏内传感集成方案。另外,针对原本以电极面出光/发光的Micro LED发光单元,本申请通过在液晶盒的成盒制程中将彩膜基板与阵列基板倒置,使其转变为基底面出光/发光,从而解决了Micro-LED电极面发光效率低而影响面板显示效果的问题。

图3具有Micro-LED的显示面板发光单元示意图
结合图3发光单元的示意图,由于Micro-LED发光单元303具有尺寸小的优势,因此其在基底上的正投影面积小于子像素区域P的面积,使得多个发光单元间具有透光区,从而保证了良好透光效果。另一方面,可通过关闭Micro-LED发光单元,使第一像素区域采集外界图像进入屏下传感器,从而实现屏下指纹识别、屏下面部识别、屏下距离感知等各种屏下传感方案。

简而言之,华星光电的这一显示面板发明专利,一方面解决了传统LCD屏中光学传感器与光学显示器件无法在空间上重合,不能满足人们对全面屏极致需求的问题,另一方面提出了新的Micro-LED显示技术的巨量转移方案,提高了产品良率,并控制了成本。
面向显示技术市场的激烈争夺,华星光电用实际行动表明了自己的决心,积极发展柔性OLED, Micro-LED等下一代新型显示技术和生态,并重点攻克产业化难题,以形成自己的完整技术体系,为Micro LED商业化规模生产奠定坚实基础。
来源:半导体投资联盟

更多行业交流,欢迎与小编联络!
请扫码添加微信,加入Micro-LED群
利亚德拟募资15亿 发力Micro LED等项目
TCL科技拟28亿元收购茂佳国际 卡位布局MiniLED全产业链产能
三星110英寸Micro LED电视预售开启,不烧屏、99.99%屏占比

