由于分辨率,尺寸,效率,以及耐烧屏方面的优势,Micro LED正在成为AR/VR头显厂商关注的一个重要领域。实际上,微软同样有所关注,并已申请了名为“Micro LED display”的专利。
微软指出,Micro LED显示器可以以提供优于其他类型的显示技术的各种性能优势。例如,与LCD相比,Micro LED显示屏具有更高的亮度、更低的延迟、更高的对比度、更高的色彩饱和度、固有的自照明和更好的效率。
另外,由于Micro LED显示屏的背板衬底的尺寸和配置,Micro LED显示屏的物理占用空间不会制造得更小。特别地,背板衬底包括用于控制Micro LED阵列的逻辑硬件,而Micro LED阵列通常围绕Micro LED阵列外围布置。换句话说,逻辑硬件在背板基板的位置有助于Micro LED显示屏的物理占地面积的总体增加。
同时,Micro LED显示屏配置的显示性能可能受到背板逻辑硬件的外围布置限制。特别是,存储用于驱动阵列的单个Micro LED的强度值的逻辑硬件的存储元件在物理上与Micro LED分开。这种不期望的间距是由于逻辑硬件安排在Micro-LED阵列的外围。在这种布置中,由于驱动信号必须从像素的外围存储器元件传输到阵列内相应的Micro LED的物理距离,Micro LED的频率调制受到限制。
微软介绍的发明主要是针对包括改进的显示基板和背板基板的显示器件。所述显示基板包括形成单个像素的Micro LED阵列。所述背板衬底包括多个像素逻辑硬件模块。
每个像素逻辑硬件模块包括配置为存储用于图像帧的相应Micro LED的多位像素强度值的本地存储器元件。所述背板基板粘接到所述显示基板的背面,使得所述像素逻辑硬件模块在Micro LED阵列后面物理地对齐,并且每个像素逻辑硬件模块电连接到所述相应像素的Micro LED。
通过将像素逻辑硬件模块定位在Micro LED阵列后面(或下面)的物理对齐中,多个像素逻辑硬件模块适合于Micro LED阵列的物理占用空间。这样的布置允许相对于在背板衬底上的Micro LED阵列的外围周围布置像素逻辑硬件的配置减小显示衬底和背板衬底的总体占用面积。
另外,由于多比特像素强度值本地存储在靠近Micro LED的本地存储器元件中,因此驱动信号从像素逻辑硬件模块传输到Micro LED的物理距离相对于外设配置减少了。这种减少的传播距离使显示设备能够用高频调制驱动方案进行控制,从而提供了优于以较低调制频率操作的其他显示设备的优点。
例如,根据这种高频调制驱动方案操作Micro LED,会使显示设备在视觉上呈现的图像帧感知为平滑,因为频率调制适当高到足以使人眼不感知任何闪烁效果。
同时,根据高频调制驱动方案操作Micro LED,使得由所述显示设备视觉呈现的图像帧相对于以较低调制频率操作的显示设备具有减少的模糊。另外,所述显示设备配置和所述高频调制驱动方案共同允许相对于其他显示设备配置实现显示分辨率的增加。
不仅只是这样,这样的配置可以允许调制时序被控制为非线性编码像素信息,使得更多的比特集中在眼睛对强度变化更敏感的区域中。

图1示出由用户102佩戴的示例近眼显示设备100。所述近眼显示设备100包括Micro LED显示器104。Micro LED显示屏包括显示基板,其包括形成Micro LED显示屏104的单个像素的Micro LED阵列。
Micro LED显示器104同时包括包括多个像素逻辑硬件模块的背板衬底。所述背板基板粘接到所述显示基板的背面,使得所述像素逻辑硬件模块在Micro LED阵列的后面(或下面)物理地对齐。
在一个实施例中,Micro LED显示器104可以至少部分透明,例如在MR/AR设备的情况下。在其他实施例中,Micro LED显示器104可以是不透明的,例如在VR设备的情况下。
显示设备包括具有连接到显示基板背面的背板基板的Micro LED显示器,使得多个像素逻辑硬件模块物理地排列在Micro LED阵列后面或下面。这种Micro LED显示配置的示例实施例可以在任何合适类型的显示设备中实施,包括可穿戴显示设备。

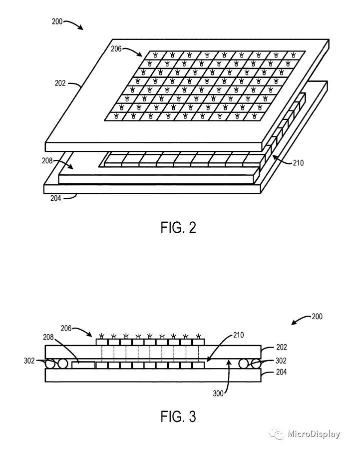
图2-4显示例子Micro LED显示屏200。例如,Micro LED显示屏可以代表图1所示的近眼显示设备100的Micro LED显示屏104。
Micro LED显示器200包括显示衬底202和背板衬底204。所述显示衬底202包括形成所述Micro LED显示器200的单个像素的Micro LED 206阵列。
所述背板衬底204包括控制逻辑208和多个像素逻辑硬件模块210。控制逻辑208控制Micro LED阵列206的操作。例如,控制逻辑208可以控制Micro LED 206的阵列以直观地呈现形成视频的图像帧或图像帧序列。
控制逻辑208包括各种功能逻辑模块以提供不同的功能。例如,控制逻辑208可以包括逻辑时钟、列驱动器和行驱动器中的一个或多个,所述逻辑时钟、列驱动器和行驱动器被配置为同步更新阵列206的每个Micro LED的显示状态,以根据指定的更新模式视化地呈现图像帧。
基于从控制逻辑208接收的逻辑信号,多个像素逻辑硬件模块210中的每一个控制对应于该像素逻辑硬件模块的单个Micro LED的操作。为此,多个像素逻辑硬件模块210中的每一个电连接到阵列206的相应Micro-LED。
如图3所示,背板衬底204粘接到显示衬底202的背面300。在所示实施例中,背板衬底204通过多个微凸点302与显示衬底202结合。背板衬底204可以使用任何合适的粘合技术粘合到显示衬底202。
多个像素逻辑硬件模块210设置在背板衬底204上,使得当背板衬底204粘合到显示衬底202的背面300时,像素逻辑硬件模块210物理地对齐在Micro LED阵列206的后面或下面。

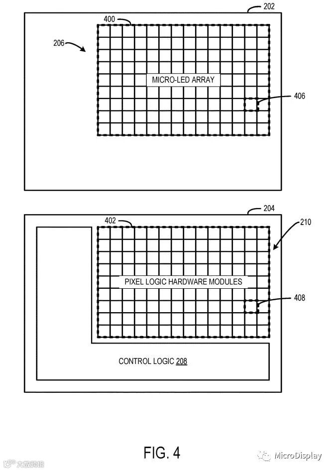
特别地,如图4所示,Micro LED阵列定义了物理占用空间400(由虚线表示),并且多个像素逻辑硬件模块210的大小适合于与Micro LED阵列206的物理占用空间400相同的物理占用空间402。
在所示的实施例中,与阵列206的Micro LED相对应的每个像素定义了物理占用空间,并且多个像素逻辑硬件模块210中的每个都调整为适合于相应像素的物理占用空间。
例如,Micro LED像素具有物理占用空间406,相应的像素逻辑硬件模块具有与物理占用空间406相同大小的物理占用空间408。在这种情况下,多个像素逻辑硬件模块210被布置在与Micro LED 206阵列类似大小的阵列中。
在其他实施例中,控制相应的多个Micro LED的多个像素逻辑硬件模块可以聚集在一个公共硬件模块中,并且公共硬件模块的大小可以适合于由与多个Micro LED相对应的像素共同形成的物理占用空间。
在一个示例中,配置为控制四个相应的Micro LED的四个像素逻辑硬件模块可以聚集在公共硬件模块中。公共硬件模块适合于与四个Micro LED对应的四个像素的物理占用空间。
在另一个实施例中,多个像素逻辑硬件模块210可以以不同的空间模式布置。多个像素逻辑硬件模块210可以以任何合适的方式布置,以容纳与Micro LED 206阵列的电气连接,同时依然适合于Micro LED 206阵列的物理足迹内。
显示基板202和背板基板204在垂直堆叠中粘结,并且这种布置的设计要求规定两个基板具有相同的物理占地面积。相对于这样一种配置,垂直堆叠中基板的物理占用空间的大小可以减小。其中,可以将多个像素逻辑硬件模块210对准垂直堆叠中的Micro LED阵列206后面/下面的多个像素逻辑硬件模块210围绕Micro LED阵列的外围布置。
所示的实施例可以基于12纳米场效应晶体管FET的制造工艺。在使用较小尺寸制造工艺的其他实施例中,Micro LED和像素逻辑硬件模块可以在相同的衬底上制造,并且像素逻辑硬件模块定位在接近相应的Micro LED的位置。例如,在空间允许的情况下,像素逻辑硬件模块可以放置在Micro-LED显示屏的像素之间。
在另一个实施例中,三个基板可以在垂直堆叠中粘合。所述三个基板可包括包括Micro LED阵列的显示基板、包括多个像素逻辑硬件模块的背板基板和包括配置为生成图像帧并将所述图像帧存储在存储器中的存储器/显示逻辑的存储器基板。

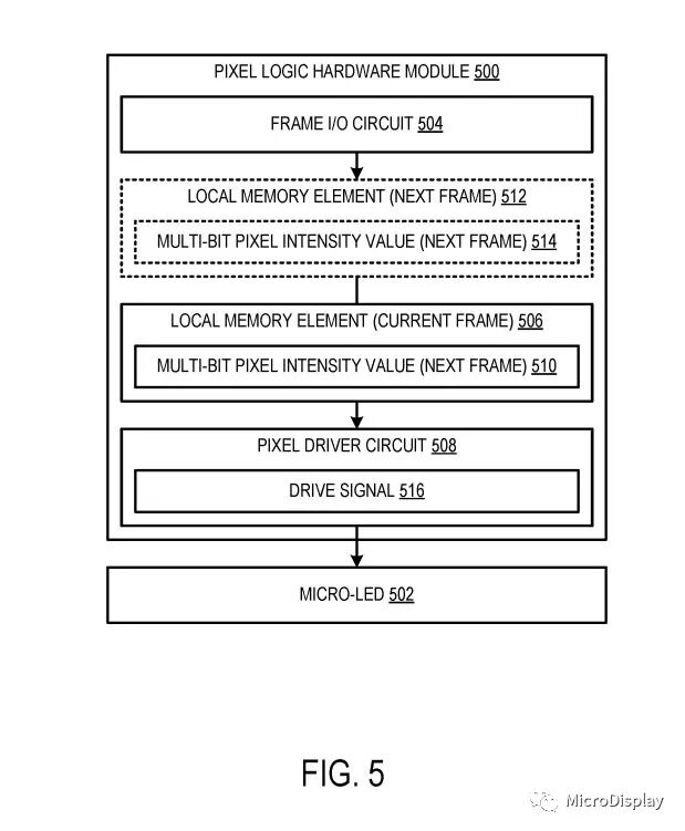
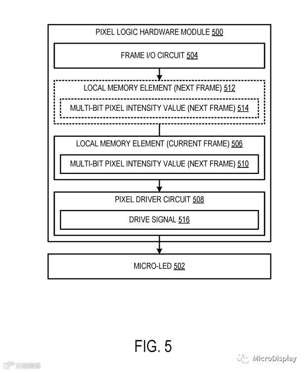
如上所述,每个像素逻辑硬件模块210控制阵列中单个Micro LED的操作。图5示出电连接到Micro LED 502的示例像素逻辑硬件模块500的框图。像素逻辑硬件模块可以是图5中所示的多个像素逻辑硬件模块210中的每一个的代表。像素逻辑硬件模块500包括帧输入/输出(I/O)电路504、本地存储器元件506和像素驱动电路508。
帧I/O电路504包括像素逻辑硬件模块500的电子元件与控制逻辑208之间的多个电气连接。帧I/O电路504配置为允许像素逻辑硬件模块500接收各种数字逻辑信号,所述数字逻辑信号配置为控制Micro-LED 502的操作。
所述数字逻辑信号可以包括但不限于时钟信号、数据信号、使能信号、测试和修复信号以及其他类型的数字逻辑信号。另外,帧I/O电路504接收可用于控制Micro LED 502的操作的模拟信号。例如,可以将帧I/O电路504配置为接收来自电流镜像电路的偏置电流,以控制可用于粗低频强度调节的Micro-LED 502的基线强度值。
本地存储器元件506从控制逻辑208接收图像帧的多位像素强度值510。本地存储器元件506在靠近Micro-LED 502的位置本地存储所述多位像素强度值510,使得所述Micro-LED 502可由基于所述多位像素强度值510根据高频调制驱动方案调制的驱动信号驱动。
本地存储器元件506可以包括任何适当类型的电子元件,所述电子元件配置成维持/存储二进制信息的位,直到它被设置/重置过程改变。在一个示例中,本地存储器元件506包括静态随机存取存储器SRAM元件。SRAM元件可以包括任何合适数量的存储单元以存储多比特像素强度值510。
在其他示例中,本地存储器元件506可包括多个寄存器、锁存器、另一类型的存储器组件或其组合,其配置为存储多比特像素强度值510。
本地存储器元件506可以配置为存储具有任何合适位深度的多比特像素强度值。在一个示例中,本地存储器元件506存储12位像素强度值。
将本地存储器元件506放置在靠近Micro LED 502的位置,相对于存储器元件位于Micro LED阵列外围周围的显示配置,可以减少时钟逻辑和I/O线。时钟逻辑和I/O线路的这种减少提供了计算资源消耗的总体减少,例如成本、功耗。
在一个实施例中,像素逻辑硬件模块500可以包括另外的本地存储器元件512,其配置为存储用于在当前图像帧之后视觉呈现的下一图像帧的像素强度值514。附加本地存储器元件512可以以与本地存储器元件506相同的方式配置。
在一个示例中,可以将附加的本地存储器元件512配置为存储12位像素强度值。在这样的示例中,像素逻辑硬件模块500将具有24位本地内存,并用于为当前图像帧和下一个图像帧之间的像素强度值分配特定的Micro LED。
通过将本地存储器元件506和512放置在靠近Micro LED 502的位置,可以减小Micro LED阵列外的面积和整个硅面积。
另外,通过将本地存储器元件506和512放置在Micro LED阵列的后面或下面,可能有足够的空间来允许额外的本地存储器元件,使得像素强度值的位深度相对于位于显示器外围周围的帧缓冲区的其他显示配置而增加。与其他显示配置相比,这种增加的位深度提供了更高的分辨率和更高的显示质量。
像素驱动电路508根据存储在本地存储器元件506中的多位像素强度值510,为当前图像帧生成驱动信号516。Micro LED 502由驱动信号516驱动,以控制Micro LED 502发出的用于当前图像帧的光的强度。
所述Micro LED 502配置成以电流模式工作,其中所述驱动信号516的电流变化导致所述Micro LED 502的强度线性变化。通过在电流模式下控制Micro LED 502,可以简单地通过改变像素驱动电路508的电流源的偏置电流来改变Micro LED的基线强度。
这样的功能允许Micro LED 502发出的强度范围很广,可以根据环境的环境照明或基于其他操作条件进行调整。

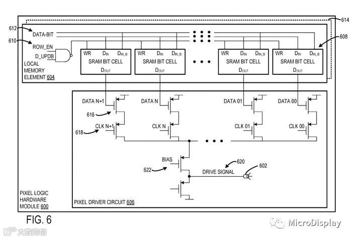
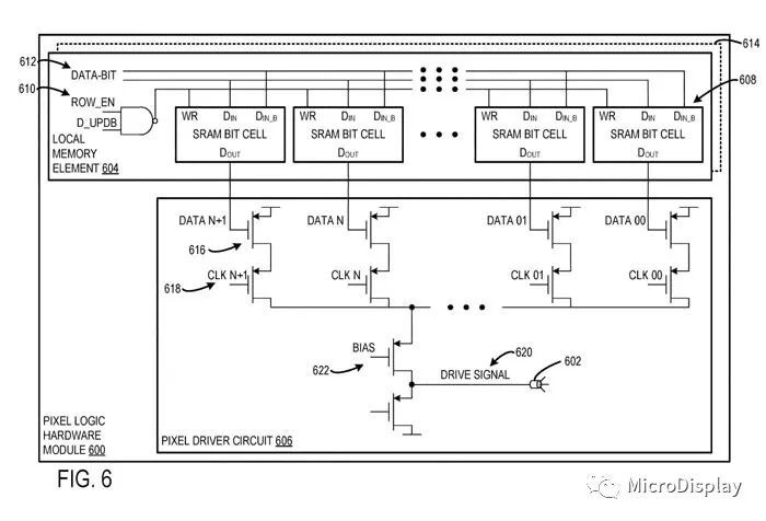
图6示出示例像素逻辑硬件模块600的电路图。像素逻辑硬件模块600电连接到Micro LED 602。例如,Micro LED 602可以代表图5所示的Micro LED 502。像素逻辑硬件模块600包括电连接到像素驱动电路606的本地存储器元件604。
本地存储器元件604包括多个存储器单元608,每个存储器单元608配置为存储多比特像素强度值的不同位。本地存储元件604可以包括任何合适数量的存储单元608。在一个示例中,本地存储器元件604包括12个存储器单元,并且配置为存储12位像素强度值。
在所示的实施例中,本地存储器元件604配置为包括多个SRAM存储器单元的SRAM元件。在其他实现中,本地存储器元件604可以采用不同的形式。
多个存储单元608中的每一个以串行方式电连接。本地存储元件604包括选择器电路610,其配置为选择多个存储单元中的一个存储单元,以便向其写入多位像素强度值的指定数据位612。
尽管串行存储器单元配置相对于并行存储器单元配置可能需要更长的时间来本地存储多比特像素强度值,但可以串行连接多个存储器单元608,以便减少本地存储器元件604和控制逻辑208之间的I/O连接的数量。
在一个实施例中,像素逻辑硬件模块600可以包括以与本地存储器元件604相同的方式配置的附加本地存储器元件614,并且配置为存储用于下一图像帧的多比特像素强度值。
像素驱动电路606包括第一多个晶体管616,每个晶体管616电连接到多个存储单元608的不同存储单元的数据输出线。第二多个晶体管618各与第一多个晶体管616的相应晶体管串联连接。第二多个晶体管618中的每一个由单个时钟信号控制。
第一多个晶体管616和第二多个晶体管618共同构成驱动开关,被配置成产生驱动信号620以驱动Micro LED 602。通过改变开关打开的时间,发送给Micro LED 602的驱动信号620的电流将发生变化,导致Micro LED 602的强度发生线性变化。
像素驱动电路606包括配置为改变驱动信号620的偏置电流的偏置晶体管622。可以调整偏置电流以调整Micro LED 602的基线强度,以考虑变化的操作条件,例如环境照明的变化。
来源:映维网

往/期/回/顾

扫码关注我们
查看更多精彩内容
加入MicroLED交流群
与上万+业内朋友在一起
商业投稿、合作热线:021-33361030

