近日,关于Micro LED的讨论再次刷屏,除了应用端的消息外,技术方面也有新消息传来。3月12日,华为、康佳、长虹等企业也纷纷公告了Micro LED相关专利。
■ 华为:一种Micro LED显示面板、显示设备及制造方法。可增大发光区面积,提升光效。不需要巨量转移,提高合格率。
■ 长虹:Micro LED表面结构及制备方法。提高量子点光提取效率及准直效果。
■ 康佳:Micro LED保护膜、Micro LED结构、显示装置及电子设备,改善拼接缝亮线问题。
INSPIRE
THE BEST
01
华为:一种Micro LED显示面板、显示设备及制造方法
3月12日,华为技术有限公司 “一种Micro LED显示面板、显示设备及制造方法” 的发明专利进入申请公布阶段。

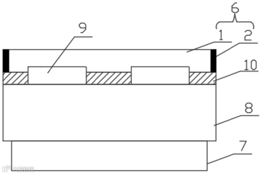
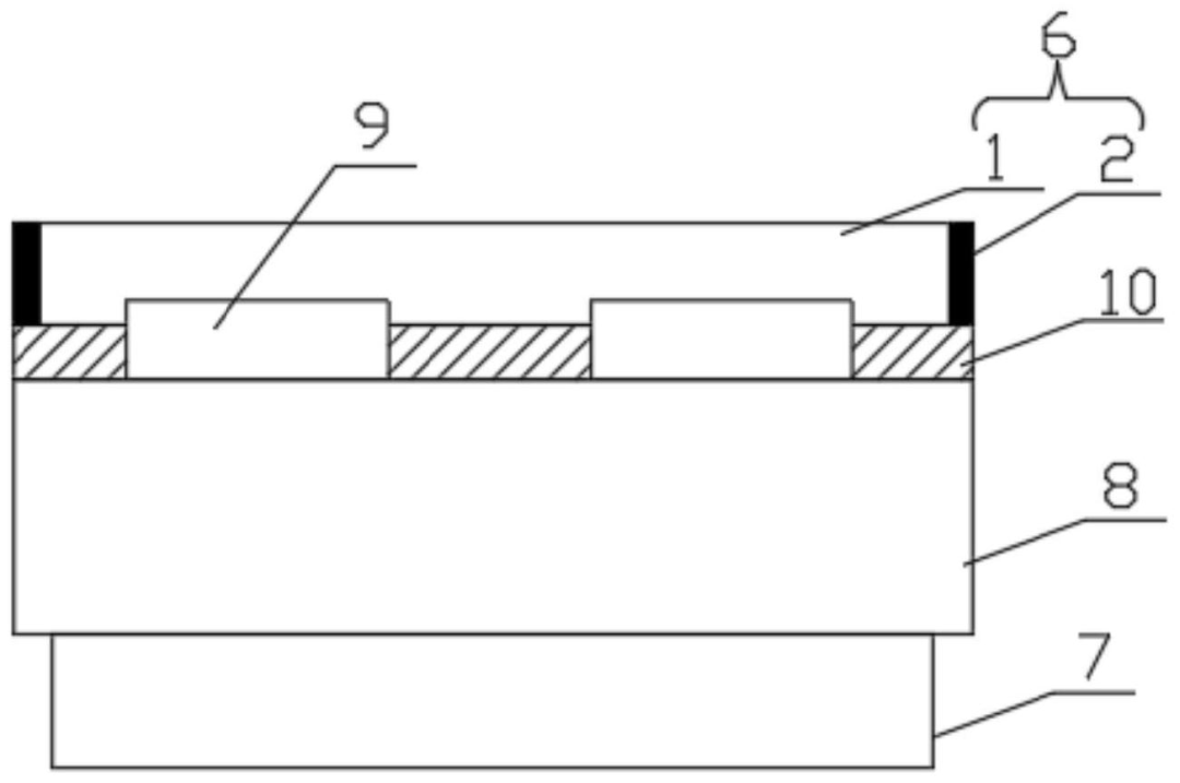
该申请公开了一种Micro LED显示面板、显示设备及制造方法,包括多个显示结构,每个显示结构包括:第一电极、第二电极、第一半导体层、第二半导体层和发光层;
相邻的显示结构的第一电极、第一半导体层和发光层相互独立;第一半导体层和第二半导体层分别位于发光层的两侧表面;第一电极位于第一半导体层背离发光层的一侧,第二电极位于第二半导体层背离发光层的一侧;
每个显示结构的发光层对应一个像素区;第二电极围绕每个像素区走线,第二电极为各个像素区的公共电极,且为相邻像素区之间的金属挡墙。
该方案可以增大发光区面积,提升光效。不需要巨量转移,提高合格率。第二电极作为金属挡墙,防止光串扰,利于电流分布均匀,亮度均匀。
INSPIRE
THE BEST
02
长虹电子:Micro LED表面结构及制备方法
3月12日,四川启睿克科技有限公司,四川长虹电子控股集团有限公司“Micro LED表面结构及制备方法”的发明专利进入申请公布阶段。据悉,四川启睿克科技有限公司由四川长虹电子控股集团100%控股。

本发明涉及显示领域,为了提高量子点光提取效率及准直效果,提供了Micro LED表面结构及制备方法,通过在Micro LED芯片表面构造金属纳米环结构,当纳米环结构参数与中心量子点光波长相匹配时,会产生强烈的准直效应,可实现发出光线的定向准直功能;
底部金属反射器收集量子点光源向下发出的光线,并反射至芯片发光方向,增加了发光方向的光子数,从而大大增加了量子点Micro LED芯片在垂直方向上的光提取效率。
INSPIRE
THE BEST
03
康佳电子:Micro LED保护膜、Micro LED结构、显示装置及电子设备
3月12日,深圳康佳电子科技有限公司 “Micro LED保护膜、Micro LED结构、显示装置及电子设备” 的发明专利进入授权阶段。

本发明公开了一种Micro LED保护膜、Micro LED结构、显示装置及电子设备,Micro LED保护膜包括吸光材料以及单层半透膜或复合层半透膜,单层半透膜的边缘包围有吸光材料,复合层半透膜包括由内而外依次叠置的多层折射率相同或不同的半透膜,复合层半透膜的边缘包围有吸光材料。


扫码关注我们
查看更多精彩内容
加入MicroLED交流群
与上万+业内朋友在一起

