近期,兆驰半导体、国星半导体、惠科、长虹电子、镭昱光电、数字光芯相继有最新Micro LED相关专利公布,涉及外延、封装、显示屏、测试电路等技术环节。

兆驰半导体
近期,兆驰半导体公布了两项Micro LED相关专利:
“一种Micro LED的封装方法”专利处于实质审查阶段。该专利解决了现有技术中在对Micro LED进行封装时,由于热胀冷缩原理可能会导致LED芯片不在同一水平面上,使得LED芯片发出的光达不到预期效果,从而导致该颗像素点无法使用,降低了产品良率的技术问题。
“一种Micro LED外延片及其制备方法、LED芯片”专利进入授权阶段。本发明中的Micro LED外延片,通过采用AlNbN作为第一缓冲子层材料使得具有更小的晶格失配度,能更好的起到缓冲过渡的作用,可以降低因晶格失配而产生的位错,从而提高外延层生长的晶体质量。
此外,AlONbN具有很低的内应力,采用AlONbN作为第二缓冲子层能够调节外延层的翘曲,解决了现有技术中的缺少一种满足Micro LED显示需要求的位错密度低、晶体质量高、发光效率高的Micro LED外延片问题。
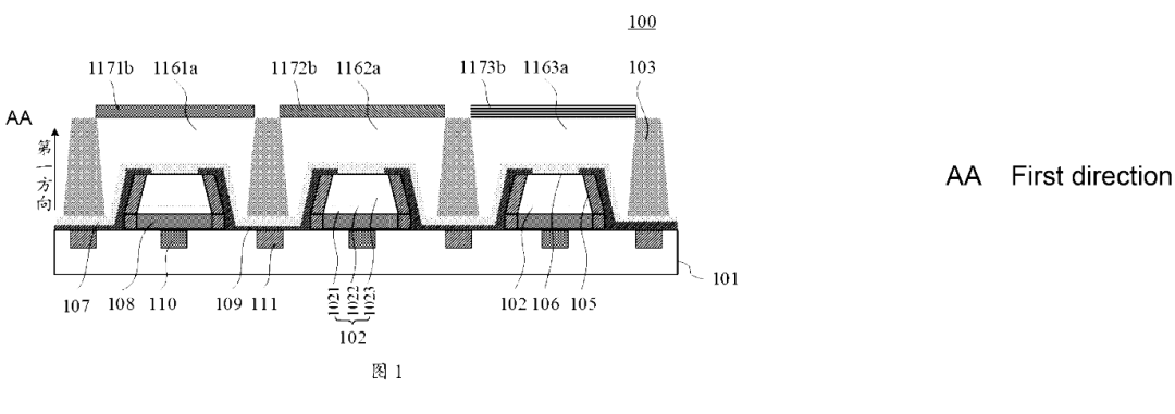
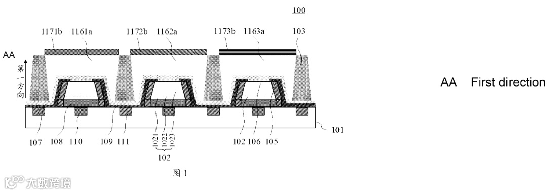
国星半导体
5月17日,国星半导体公布了一项名为“一种集成式立体Micro LED及其制作方法”的发明专利,该专利已进入实质审查阶段。
图片来源:国家知识产权局
发明专利公开了一种集成式立体Micro LED及其制作方法,所述Micro LED包括导电衬底、阻挡层、外延层、透明导电层、保护层、遮挡层、第一电极和第二电极。
发明在图型化的导电衬底上形成若干个Micro LED小面积的外延层,利用导电衬底上下电性倒通的特性,省去激光剥离衬底的问题,在非图型区域形成透明导电层将若干个的外延层形成导电连接,形成阵列模式,同时配合第一电极和第二电极,实现Micro LED的集成,解决了巨量转移的问题。
惠科
惠科股份公布“驱动基板、Micro LED转移装置及其转移方法”的发明专利。
图片来源:国家知识产权局
该专利公开了一种驱动基板、Micro LED转移装置及其转移方法,该驱动基板(2)的一侧表面设置有绑定金属层(21),绑定金属层(21)的周围设置有定位层(22),定位层(22)在远离驱动基板(2)位置处的宽度小于在靠近驱动基板(2)位置处的宽度。通过上述结构,解决在Micro LED转移到驱动基板的过程中发生位置偏移的问题。
长虹电子
长虹电子公开了3项Micro LED专利:
“一种用于Micro LED投影仪的散热结构”的发明专利。专利公开了一种用于Micro LED投影仪的散热结构,通过TEC和热管散热器组合的散热结构对Micro LED进行散热,有效控制Micro LED温升。
图片来源:国家知识产权局
“一种Mini/Micro LED显示屏”的发明专利进入授权阶段。本实用新型专利涉及提高显示屏本体安装的稳定性,并且便于对显示屏本体拆卸维修,提高了工作人员对显示屏本体的维护效果;
图片来源:国家知识产权局
“基于纳米阻隔法实现Micro-QLED彩色投影光学引擎及制备方法”的专利处于公布阶段。该专利在量子点发光层利用纳米阻隔层的设计,可以降低不同颜色像素之间的色彩串扰,同时增加像素从单面发射的亮度以及分辨率,最终得到高色纯度的图像。
图片来源:国家知识产权局
镭昱光电
镭昱光电公布“Micro LED微显示芯片及其制造方法”的发明专利。本申请公开了一种Micro LED微显示芯片及其制造方法。
专利概要显示,Micro LED微显示芯片包括:驱动面板;多个LED单元,其设置在驱动面板上,其中多个LED单元一对一地设置有多个与之相对应的LED平台,并且每个LED单元可由驱动面板单独驱动;
一种围栏结构,其设置有多个网格孔,其中多个网格孔分别设置在多个LED平台周围,每个LED平台与相应的网格孔之间形成凹陷区域;以及波长转换层,其设置在围栏结构上,包括第一波长转换层,其中第一波长转换层设置有多个第一波长转换单元,第一波长转换单元填充相应的凹陷区域,所述LED单元发射第一色光,第一波长转换单元将第一色光转换为第二色光。

图片来源:国家知识产权局
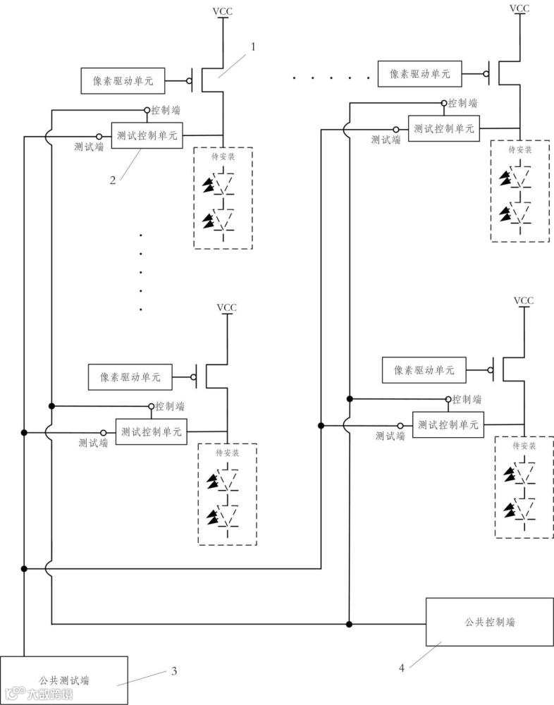
数字光芯
数字光芯公布2项Micro LED发明专利:
“基于Micro LED显示面板的显示系统”的发明专利属于投影显示技术领域。包括Micro LED显示面板、微透镜阵列及成像光学系统。发明利用微透镜阵列中不同位置的微透镜单元的光轴倾斜,能够使得显示图像光场的边缘部分的亮度提高,从而解决了现有技术中的显示图像暗角问题。

图片来源:国家知识产权局
“Micro-LED显示面板中有源驱动阵列的测试电路”的发明专利涉及集成电路技术领域。该发明通过在Micro LED显示面板制造的中间环节中,增加了有源驱动阵列的测试电路及实施对应于该测试电路的测试方法,可以在制造的中间环节对有源驱动阵列进行良率的检测。

图片来源:国家知识产权局
来源:LEDinside

重磅!这家知名Micro LED企业发布最新AR显示器:集成了全彩Micro LED技术、LCOS系统.........

扫码关注我们
查看更多精彩内容
加入MicroLED交流群
与上万+业内朋友在一起





