

一、政策
《河南省加快制造业“六新”突破实施方案》:开发Micro LED、OLED用新型发光材料
河南省人民政府办公厅近日印发《河南省加快制造业“六新”突破实施方案》(下称《方案》),对新形势下河南聚焦“六新”(新基建、新技术、新材料、新装备、新产品、新业态)突破,打造先进制造业体系作出了系统部署。

电子功能材料方面,加快发展半导体、光电功能材料、新型电子元器件材料产业,打造全国新兴先进电子材料基地。加快布局发展氮化镓、碳化硅、磷化铟等半导体材料,开发Micro LED(微米发光二极管)、OLED(有机发光二极管)用新型发光材料,薄膜电容、聚合物铝电解电容等新型电子元器件材料,电子级高纯试剂和靶材、封装用键合线、电子级保护及结构胶水等工艺辅助及封装材料。加快湿电子化学品、高纯特种气体、高纯金属材料研发和规模化生产。
厦门:培育Mini/Micro LED技术应用新增长点
为加快数字厦门建设,打造引领厦门经济高质量发展“数字引擎”,日前,厦门市数据管理局发布《厦门市加快数字经济发展行动计划(2024-2025年)》(以下简称《方案》)。
《方案》提出,到2025年,全市数字经济发展迈向新台阶,各领域形成一体化推进格局,数字技术自主创新能力持续提升,形成一批具有较强竞争优势的数字经济核心产业集聚区。
根据《方案》,厦门支持华为鸿蒙生态中心、开源芯片产业生态基地建设,推进应用软件与国产基础软件兼容适配。鼓励企业、高校及科研院所开展智能芯片、智能算法、VR/AR等技术协同攻关。
推动平板显示产业做强做大。支持并推动市内LCD面板企业转型发展,引导企业向车载显示、工业品显示等新赛道、新领域布局。支持平板显示骨干企业面向智能可穿戴设备、VR/AR设备、电竞设备等领域,培育AMOLED、Mini/Micro LED技术应用新增长点。到2025年,平板显示产业产值突破1600亿元。

二、市场
消息称字节跳动投资储存芯片厂,为PICO VR头显做储备
The Information日前指出,字节跳动位于新加坡的子公司PICOHEART入股了储存芯片厂商昕原半导体,获得后者9.5%的股份并成为第三大股东。报道引述字节跳动人士称,这笔投资是为了“在PICO的VR头显中使用昕原半导体生产的存储芯片”。

昕原半导体成立于2019年,专注于ReRAM新型存储技术及相关芯片产品的
研发,涵盖高性能工控/车规SoC/ASIC芯片、存算一体IP及芯片、系统级存储(System-on-Memory, SoM)芯片三大应用领域。
这家公司表示,他们掌握一体化闭环技术能力,覆盖器件材料、工艺制程、芯片设计、IP设计和中试量产等诸多环节。由昕原自主建设的中国大陆首条先进制程ReRAM 12寸中试后道生产线已顺利通线。
根据报道,字节跳动发言人已经证实了这笔投资,并指出所述投资旨在助力昕原半导体在虚拟现实头显设备领域的研发工作,并将相关产品用于PICO的VR头显。
Raontech官宣将为Avgant供应LCoS显示面板
Raontech3月18日宣布,其位于北美的主要客户(Avgant)将于今年推出配备液晶微显示器(LCoS)的智能眼镜。

Avgant是一家AR光学技术公司,正在与高通和应用材料公司(Applied)共同开发超轻AI星空眼镜。在1月份举行的2024年SPIE AR·VR·MR大会上,Raontech推出了一款基于LCoS的具有超小型、超低功耗面板的光模块。
LCoS是一种高亮度的反射式显示器,因此被用作大多数增强现实眼镜的核心部件。然而,与自发光器件Micro-OLED和Micro LED相比,它的缺点是对比度相对较低。
Raontech的一位高管表示,“Avgant的新技术可以克服(LCoS)的缺点,将对比度提高10倍,同时降低功耗高达90%,因此LCoS是AR眼镜的最佳选择。
总投资35亿元,永盛光电Mini LED背光相关项目开工
3月21日,根据“靖江发布”报道,永盛光电Mini LED显示背光源、屏体及铝镁合金压铸件产业化项目在江苏省泰州靖江经开区城北园区开工。

来源:靖江发布
永盛光电Mini LED显示背光源、屏体及铝镁合金压铸件产业化项目是2024年江苏省重大项目。项目由靖江市永盛光电科技有限公司(以下简称:永盛光电)投建。据悉,永盛光电创建于1998年,公司专注于LED液晶显示屏背光源的研发和生产,与博世、夏普、JDI、天马等厂商建立了紧密的合作关系,产品可配套于汽车、手机、游戏机、工控仪表以及VR等产品。
其中,在汽车领域,永盛光电的产品已成功进入奔驰、宝马、大众、捷豹、路虎、丰田、福特等知名汽车供应链;而永盛光电生产的超薄高辉度窄边框背光源产品,也已广泛运用在META、Tik Tok等品牌的VR电子眼镜上。
本次投建的永盛光电Mini LED显示背光源、屏体及铝镁合金压铸件产业化项目,计划总投资35亿元,对照行业自动化程度最高标准建设恒温恒湿组立生产车间、镁铝压铸车间、综合楼及其他附属用房,计划购置行业顶尖生产及辅助设备1108台/套。
项目达产后,预计可形成年产Mini LED背光源600万片、传统型LED背光源1500万片、镁合金压铸件15000吨、铝合金压铸件5000吨的生产能力,可实现年新增开票销售45亿元。项目预计在2026年一季度实现量产。

三、新品
三星发布Mini/Micro LED电视新品
3月17日,2024三星家电新品发布会成功举行,重磅发布了全新的Micro LED、Neo QLED 8K/4K系列、OLED系列、Lifestyle艺术电视等电视新品。
三星在发布会现场分享了其“AI for All”的企业发展愿景,即致力于通过AI让人们获得比以往更加直观、便捷的设备体验,并展示了一系列有助于实现此目标的产品和服务。

2024年,三星Micro LED产品再度扩充,除已上市的101/89英寸外, 114英寸与76英寸Micro LED首次面向中国观众亮相。Micro LED是未来显示技术的主流趋势和发展方向,三星前瞻布局高端显示领域,以先进的玻璃基技术,占领行业高点,并将Micro LED向更小尺寸、更优画质拓展。
此外,三星此次还发布了98英寸Neo QLED 4K QN90D,充分发挥Mini LED显示技术优势,通过针对超大屏幕研发出的AI影像增强技术智能修复纹理和细节,搭配量子点矩阵技术实现新一代量子点HDR+,杜比全景声辅以自适应音效+、智能控声AVA Pro与Q交响乐功能,呈现震撼的声音效果,共同打造沉浸式家庭影院。
辰显光电成功点亮国内首款27英寸TFT基P0.7 Micro LED拼接箱体
成都辰显光电有限公司成功点亮了国内首款27英寸TFT基P0.7 Micro LED拼接箱体。

特色亮点
高可靠性:模组内部件减少90%,显著降低了零件故障率。
卓越亮度:最大亮度600nits,峰值亮度高达1500nits,保证在多种室内光照条件下的优异表现。
极高对比度:达到1,000,000:1,提供了更深的黑色和更鲜明的色彩。
低反射率:小于5%,减少光线反射,提升观看体验。
混合驱动+TFT电路:健康护眼,避免屏幕出现“毛毛虫”故障,确保画面细节完整。
采用Super MiniLED技术,华为V5和V5 Pro智慧屏上架
3月19日消息,华为智慧屏 V5 以及华为智慧屏 V5 Pro 75 英寸现已上架,分别为 9999 元人民币和 13999 元人民币,而华为智慧屏 V5 75 英寸 + 灵犀指向遥控捆绑套装 10998 元人民币。
两款智慧屏爆料配置总结如下:
性能方面:均搭载了鸿鹄 900 处理器,提供 6+64GB 存储。鸿鹄 900 处理器对比上一代的鸿鹄 818 处理器 CPU 性能提升 200%、GPU 性能提升 160%;NPU 算力达到了 4T;
屏幕方面:华为智慧屏 V5 Pro 75 和 V5 75 均采用了“华为 Super MiniLED 技术”,DCI-P3 覆盖 95%,ΔE最高亮度为 1100nits;

图片来源:华为
内存方面:V5 Pro 75 采用了 6+128GB 内存组合,V5 75 则采用了 6+64GB 内存组合;
音频方面:V5 Pro 配备了 50W 的 3.1.2 沉浸音响(左中右声道、30 W 超重低音 10 以及两个 10W 天空声道),V5 采用了 45W 的 2.1 声道音响,均配备了 6 个麦克风,支持远场景语音,支持 AUDIO Vivid、差分悬挂低音设计、反射式天空音;
其他方面:两款智慧屏均支持全新的“华为灵犀指向遥控”,可以通过“鸿鹄 Al 精晰超分 Pro”将 720P / 1080P 变为 4K,支持双频 Wi-Fi 5,提供 HDMI2.1、USB 3.0 等接口,支持 1080P 视频通话、远程协助、多方畅连。
。
四、融资
Micro LED微显示芯片研发商诺视科技完成亿元Pre-A2轮融资
3月18日,媒体报道,Micro LED微显示芯片研发商诺视科技完成亿元Pre-A2轮融资,本轮融资由力合资本领投,老股东盛景嘉成、汕韩基金以及九合创投加码投资。
本轮融资资金将主要用于诺视科技Micro LED微显示芯片量产线建设,以及其基于VSP(Vertically Stacked Pixels,垂直堆叠像素)技术方案的Micro LED芯片的进一步研发。
图片来源:诺视科技
近年来,诺视科技先后完成天使轮、战略投资、Pre-A轮融资。其中在2022年的Pre-A轮融资中,诺视科技获得了2000万元的融资。
据悉,为解决Micro LED微显示生产环节中翘曲度高、键合及高精度图形化难度大、易出现剥离损伤等影响生产良率的问题,诺视科技研发了晶圆级的堆叠集成方案-VSP,键合过程中可无需对准,量产难度大大降低。
接下来,诺视科技将持续推进相关产品量产线的建设,公司已于今年2月启动在浙江德清的首条Micro LED微显示芯片量产线建设,投产后将推进全球Micro LED微显示商业化进程。

五、专利
华为/长虹/康佳/兆驰半导体/厦门大学最新Micro LED相关专利一览
近日,华为、长虹、康佳、兆驰半导体、厦门大学相继公布了Micro LED发明专利,涉及提升Micro LED光效、提高巨量转移效率、Micro LED屏幕指纹识别应用等。
华为:申请Micro LED显示面板专利,可增大发光区面积提升光效
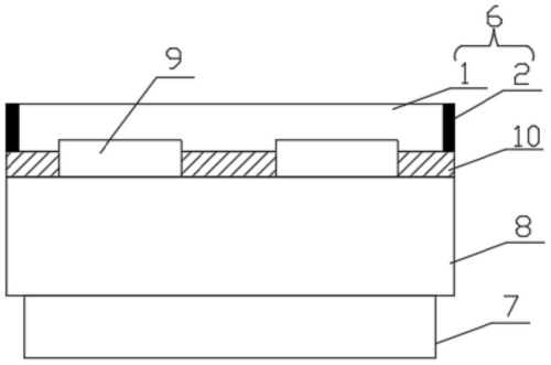
据国家知识产权局公告,华为技术有限公司申请一项名为“一种Micro LED显示面板、显示设备及制造方法“,公开号:CN117690946A,申请日期为2022年9月。该方案可以增大发光区面积,提升光效。不需要巨量转移,提高合格率。防止光串扰,利于电流分布均匀。
另外,3月15日,长虹电子与启睿克科技共同公开了一项发明专利,名为“一种基于Micro LED的屏幕指纹识别装置和方法”,申请公布号:CN117711037A。
该发明专利利用半透膜边缘的吸光材料吸收大角度的光线,有效改善了拼接缝亮线问题。
兆驰半导体:一种Micro LED巨量转移方法


扫码关注我们
查看更多精彩内容
加入MicroLED交流群
与上万+业内朋友在一起

